Great Little Trading Co L5314 Children’s Doll House and Garden Instruction Manual
Thank you for shopping with GLTC, we hope you enjoy having this product in your home.
We know assembling furniture, toys or accessories is not everyone’s favourite way to spend their time, so we’ve tried to make assembling this item as quick and painless as possible.
A few important pointers before you start:
- Please read the instructions right through before you start, and check that all the components have been included in the pack; we find separating all the hardware into piles makes it easier to be sure that everything is present and correct.
- Make sure you have the right tools. Allen keys are provided if required, but screw drivers and other tools are not. You’ll find details of the tools you need at the beginning of the instructions.
- Do not throw away any packing materials until assembly is complete, just in case you accidentally discard smaller parts or hardware.
Could we do better?
If there is anything you think could be improved in these instructions or in the assembly of this product we’d be grateful if you could let us know; we’ll pass any helpful hints and tips on to other customers via our website and update the instructions.
All you need to do is drop us a line at [email protected]
Thank you
Registered Address:
GLTC Ltd, 12 Buckhold Road, Wandsworth, London, SW18 4GP, United Kingdom
Authorised Representative: Authorised
Representative Service, 77 Camden Street Lower, Dublin, D02 XE80, Ireland
Copyright© 2022 G.L.T.C. Ltd. All rights reserved.
Great Little Trading Company and GLTC are registered trade marks of G.L.T.C. Limited.
SAFETY WARNINGS
- Not suitable for children under 3 years due to small parts which may become detached and present a choking hazard.
- Adult assembly required.
- Remove all packaging before giving to a child.
- Assemble and use on a flat and level surface.
- In an unassembled state product contains small parts which may pose a choking hazard, not suitable for children under 3 years.
- Children should be kept away from the product during assembly to avoid any possible risk of injury.
- DO NOT use power tools in the assembly of this product as there is a risk of over-tightening and consequently splitting of the wood.
- Check all fixtures and fittings regularly and tighten as necessary.
- Check the item regularly for signs of damage which may make the product unsafe.
- PLEASE RETAIN THESE INSTRUCTIONS FOR FUTURE REFERENCE.
Product care:
Wipe clean using a soft damp cloth followed by a dry cloth.
Do NOT use cleaning products which contain ammonia, solvents or abrasive material.
Do NOT expose the item to extremes of heat and humidity
Customer Service:
Should you have any queries regarding your product, missing parts or information and need help please follow the guidance below.
For gltc.co.uk orders contact GLTC Customer Services on 0344 848 6000. For all other orders please contact your retailer.
Please read the instructions right through before you start, and check that all the components have been included in the pack; we find separating all the hardware into piles makes it easier to be sure that everything is present and correct. Make sure you have the right tools. Allen keys are provided if required, but screw drivers and other tools are not. You’ll find details of the tools you need at the beginning of the instructions.It’s a good idea to build the unit in the room where you are going to be using it, to avoid the need to move it after it’s been assembled. Do not throw away any packing materials until assembly is complete, just in case you accidentally discard smaller parts or hardware.
Component Check List


Hardware Check List

Hardware for Step 1:
![]()
4x #1 Screws
STEP 1:
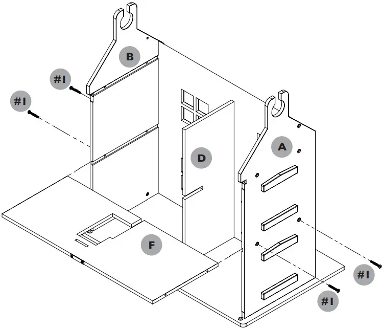
Attach panels A & B to panel C using 4x (#1) screws.
STEP 2:
Slot panel D into groove at the bottom of panel C.
Slot panel E into grooves on panels A & B.
Hardware for Step 3:
![]()
4x #1 Screws
STEP 3:
Slot panel F into the centre of panels A, B & D.
Secure using 4x (#1) screws).
Hardware for Step 4:
![]()
4x #1 Screws
STEP 4:
Step 1 – Place panel G in the groves of panels A & B as shown, only pushing the panel in halfway.
Step 2 – Place the panel I and H dowels into place between panels C and G as indicated. You will need to support the doors until step 3.
Step 3 – Push panel G, fully into place with the doors and door dowels in place.
Step 4 – Once in place secure panel G into panels A and B as indicated, 4 x screws
Hardware for Step 5:

2x #2 Screws
STEP 5:
Attach panel J to the back part of the roof using 2x (#2) screws.
STEP 6:
Place panel K onto the front of the Doll House.
Note: There are 2 sides of this roof, the brick side faces outwards.
STEP 7:
Place 2x stairs (parts L) into stairwells.
STEP 8:
Add 2x parts M to back of the Doll House.
STEP 9:
The underside of panel K is the garden. Panel K can be removed, reversed and placed against the front or back of the house.
The hedges (M) can be place in the slots of panel K for garden play if wanted.


















