little tikes 661419C3 Stack ‘n Style Wood Dollhouse Instruction Manual
Battery Safety Information. This is serious!
- Keep these instructions for future reference.
- Requires 6 “AG13” (LR44) alkaline batteries (included). (Rechargeable batteries may be substituted.)
- The voltage of a fully-charged, rechargeable battery is often lower than that of a fresh alkaline battery. Therefore, it is recommended that alkaline batteries be used instead of rechargeable batteries for best performance and longer play time.
- Install batteries with the correct polarity (+ and -)
- To avoid battery leakage:
- Follow the toy and battery manufacturer’s installation instructions.
- Do not mix old and new batteries.
- Do not mix standard (carbon-zinc), alkaline or rechargeable batteries. Do not mix different brands of batteries. Only batteries of the same or equivalent type as recommended are to be used.
- When toy is not used for an extended period of time, remove batteries to prevent possible leakage and damage to the unit.
- Remove dead or exhausted batteries from product.
- Dispose of dead batteries properly; do not bury. Do not dispose of batteries in fire as they may leak or explode.
- Make sure cover is properly installed on unit at all times.
- Do not attempt to recharge non-rechargeable batteries.
- Rechargeable batteries are to be removed from the toy before recharging.
- Charging of rechargeable batteries should be done by an adult.
- The supply terminals are not to be short circuited.
NOTE: If the unit stops working or doesn’t work as it should, remove the batteries for a few minutes and then re-insert them. If there is still a problem, install new batteries.
WARNING
This product contains a button cell battery. A button cell battery can cause severe or fatal injuries in as little as two hours if it is swallowed or placed inside any part of the body. Dispose of used batteries immediately. Keep new and used batteries away from children. If you think batteries might have been swallowed or placed inside any part of the body, seek immediate medical attention.
IMPORTANT NOTES ABOUT BUTTON BATTERIES
- WARNING – KEEP BATTERIES OUT OF REACH OF CHILDREN
- Swallowing may lead to serious injury in as little as 2 hours or death, due to chemical burns and potential perforation of the esophagus.
- If you suspect your child has swallowed or inserted a button battery immediately call the 24-hour Poisons Information Centre on 13 1126 (Australia)/ your local emergency services for fast, expert advice.
- Examine devices and make sure the battery compartment is correctly secured, e.g. that the screw or other mechanical fastener is tightened. Do not use if compartment is not secure.
- Dispose of used button batteries immediately and safely. Flat batteries can still be dangerous.
- Adults shall tell potential users about the risk of button batteries and keep their children away from button cell. Adult supervision is required.
‘Let’s care for the environment!’
The wheelie bin symbol indicates that the product must not be disposed of with other household waste. Please use designated collection points or recycling facilities when disposing of the item. Do not treat old batteries as household waste. Take them to a designated recycling facility
IMPORTANT INFORMATION YOU SHOULD KNOW!
- Read through all the instructions first.
- Clear a flat surface to lay out all the materials so that everything is close at hand.
- Illustrations are for reference only. Styles may vary from actual contents.
- Please remove all packaging including tags, ties & tacking stitches before giving this product to a child.
- Clean the unit with a slightly damp cloth if necessary.
- DISPOSAL: Disassemble and dispose of equipment in such a manner that no hazardous conditions such as, but not limited to, small parts and sharp edges exist at the time the equipment is discarded.
- Make sure you have all contents before assembling. If anything is missing or if you have questions, we’re here to help. Give our consumer service team a call at 1-800-321-0183.
Let’s be careful!
WARNING!
- ADULT ASSEMBLY REQUIRED.
- Prior to assembly, this package contains small parts: hardware which is a choking hazard and may contain sharp edges and sharp points. Keep away from children until assembled.
- Please keep this manual as it contains important information.
- This product is intended for indoor use only.
- This product is intended for use by children ages 3 years and up.
- Place on flat, level surfaces free of objects that could cause the toy to tip over. Also, place out of the way of household traffic.
- Never use near staircase, steps, pools, hot surfaces, or areas that may be hazardous to a child.
- Do not use if damaged or broken.
- Follow the instruction step by step to assemble the product correctly, potential hazards may resulting from incorrect assembly.
- Do not allow children to sit, stand, play or climb on the top surface. Failure to do so may cause the product to become unstable.
- It is not recommended to stack more than three floors. If stacking rooms with a roof, make sure to only stack it on top.
A Few Things Before You Start!
BEFORE you begin assembly, make sure you have all the parts listed below. Questions? We’re here to help. Little Tikes® Consumer Service: 1-800-321-0183

Accessories

NOTE: Before playing, remove the pull tabs from the floor lamp and the toilet
ASSEMBLY






STACKING THE ROOMS
The rooms can be stacked in different ways to create different congurations. To keep the levels and rooms secured, you will need the stabilizer connectors and the plugs with locks. Follow the directions below:
- Place the Stabilizer Connectors
The stabilizer connectors are needed to keep the rooms stable. Each room has an indent on the ceiling where the stabilizer connector will lay on. Place a connector before stacking a room by inserting it into the indent and making sure the openings align (Fig. 1).
- Insert the Plugs and Locks
The locks and plugs are needed to keep the levels locked together. Stack a room over another, aligning the openings. Then, lock the levels together by placing the lock into the openings and inserting the plugs into the locks (Fig. 2).
To remove the locks and create a different conguration, hold down the rim of the lock with one hand and use the other hand to push up the plug from the bottom so it pops out (Fig. 3). Then, pull out the lock from the top.
CONFIGURATION 1

CONFIGURATION 2
CONFIGURATION 3
ACCESSORIES’ FEATURES
- Kitchen Island: Doors open!

- Toilet: Press the handle button to hear realistic flushing sounds!

- Mini Stackable Dollhouse: Sections can be stacked to match your big dollhouse!

- Floor Lamp: Press the button on the base to turn on the light. Press again to turn it off.
NOTE: After 2 minutes, the light will turn off.
BATTERY REPLACEMENT
An adult must install fresh alkaline batteries in the toilet or floor lamp should the batteries need replacing.
Here’s how:
- Using a Phillips screwdriver (not included) remove the screw and battery compartment cover from under the toilet or floor lamp.
- Install three (3) 1.5V AG13 (LR44) alkaline batteries (not included) in the toilet or floor lamp, making sure the (+) and (-) ends face the proper direction as indicated inside the battery compartment.
- Replace the compartment cover and tighten the screw.

RESET BUTTONS: The toilet and floor lamp have reset buttons. If it stops working, use a sharp, pointed object to press the reset buttons.
WALL MOUNTING ASSEMBLY
- For added safety and stability, install the wall mounting hardware.
- Always use wall anchors appropriate to your wall type, like plaster, drywall, concrete, etc.
- When possible, mount to wood studs.
- Consult a qualified professional for mounting.
HARDWARE
REQUIRED (NOT INCLUDED)
REQUIRED (INCLUDED)
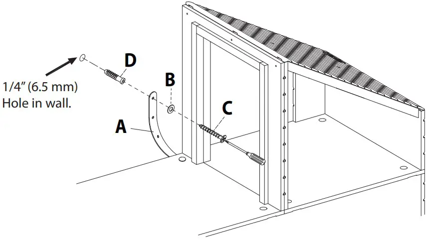
- Place a stabilizer connector on the “L” recess hole.
Place the plastic strip over the stabilizer connector.
Then, secure in place with a lock and plug.
- Use a 1/4” (6.5 mm) drill bit to drill a pilot hole in the wall.
- Do NOT drill an oversized hole, or the wall anchor will not hold tightly to the wall.
- Tap the wall anchor into the hole.
- Secure the house to the wall with a screw (C) through the plastic strip and into the wall anchor.

WARNING!
- DO NOT install on a wall where items can fall off and injure a child.
- CHOKING HAZARD: Unassembled parts may be a choking hazard to children 3 years and younger.
- Adult assembly required. Hardware contains small screws with sharp points. Keep unassembled parts out of reach of small children.
- Serious or fatal injuries can occur from furniture tipping over. To prevent the product from tipping:
- Use mounting hardware to secure the house to a wall. This will reduce, but NOT eliminate, the risk of tipping over.
- DO NOT allow children to climb on the house.
- Keep remote controls, toys, and other items that might attract children away from this product.
- DO NOT place heavy items, like television, on top of this product.
FCC COMPLIANCE
NOTE: This equipment has been tested and found to comply with the limits for a Class B digital device, pursuant to Part 15 of the FCC Rules. These limits are designed to provide reasonable protection against harmful interference in a residential installation. This equipment generates, uses and can radiate radio frequency energy and, if not installed and used in accordance with the instructions, may cause harmful interference to radio communications. However, there is no guarantee that interference will not occur in a particular installation. If this equipment does cause harmful interference to radio or television reception, which can be determined by turning the equipment off and on, the user is encouraged to try to correct the interference by one or more of the following measures:
- Reorient or relocate the receiving antenna.
- Increase the separation between the equipment and receiver.
- Connect the equipment into an outlet on a circuit different from that to which the receiver is connected.
- Consult the dealer or an experienced radio/TV technician for help.
This device complies with Part 15 of the FCC Rules. Operation is subject to the following two conditions: (1) This device may not cause harmful interference, and (2) this device must accept any interference received, including interference that may cause undesired operation.
Caution: Modifications not authorized by the manufacturer may void users authority to operate this device. CAN ICES-3 (B)/NMB-3(B).
© The Little Tikes Company, an MGA Entertainment company. LITTLE TIKES® is a trademark of Little Tikes in the U.S. and other countries. All logos, names, characters, likenesses, images, slogans, and packaging appearance are the property of Little Tikes.
LIMITED WARRANTY
The Little Tikes Company makes fun, high quality toys. We warrant to the original purchaser that this product is free of defects in materials or workmanship for one year * from the date of purchase (dated sales receipt is required for proof of purchase). At the sole election of The Little Tikes Company, the only remedies available under this warranty will be the replacement of the defective part or replacement of the product. This warranty is valid only if the product has been assembled and maintained per the instructions. This warranty does not cover abuse, accident, cosmetic issues such as fading or scratches from normal wear, or any other cause not arising from defects in material and workmanship. *The warranty period is three (3) months for daycare or commercial purchasers. U.S.A. and Canada: For warranty service or replacement part information, please visit our website at www.littletikes.com, call 1-800-321-0183 or write to: Consumer Service, The Little Tikes Company, 2180 Barlow Road, Hudson OH 44236, U.S.A. Some replacement parts may be available for purchase after warranty expires—contact us for details.
Outside U.S.A. and Canada: Contact place of purchase for warranty service. This warranty gives you specifc legal rights, and you may also have other rights, which vary from country/state to country/state. Some countries/states do not allow the exclusion or limitation of incidental or consequential damages, so the above limitation or exclusion may not apply to you.
Scan for Assembly Videos & More:
CONSUMER SERVICE
Little Tikes Consumer Service
www.littletikes.com
2180 Barlow Road
Hudson, Ohio 44236 U.S.A.
1-800-321-0183
MGA Entertainment UK Ltd.
www.littletikes.co.uk
50 Presley Way, Crownhill, Milton
Keynes, MK8 0ES, Bucks, UK
[email protected]
Tel: +0 800 521 558
MGA Entertainment (Netherlands) B.V.
Baronie 68-70
2404 XG Alphen a/d Rijn
The Netherlands
Tel: +31 (0) 172 758038
Imported by MGA
Entertainment Australia Pty Ltd
www.littletikes.com.au
Suite 2.02, 32 Delhi Road
Macquarie Park NSW 2113
1300 059 676


























