
HYUNDAI RT 910 Turntable with Stereo Radio Receiver
Warning:
TO PREVENT FIRE OR SHOCK HAZARD, DO NOT EXPOSE THIS APPLIANCE TO RAIN OR MOISTURE. DO NOT REMOVE COVER. PILOT LAMPS SOLDERED IN PLACE. NO USER SERVICEABLE PARTS INSIDE. REFER SERVICING TO QUALIFIED SERVICE PERSONNEL.
CAUTION:
TO REDUCE THE RISK OF ELECTRIC SHOCK, DO NOT REMOVE COVER (OR BACK). NO USER – SERVICEABLE PARTS INSIDE. REFER SERVICING TO QUALIFIED SERVICE PERSONNEL.
The lighting flash with arrowhead symbol, within an equilateral triangle, is intended to alert user to the presence of uninsulated „dangerous voltage“ within the product‘s enclosure that may be of sufficient magnitude to constitute risk of electric shock to persons.
The exclamation point within an equilateral triangle is intended to alert user to the presence of important operating and maintenance (servicing) instruction in the literature accompanying the appliance.
SPECIfICATION
- Power Source: AC 230V ~ 50Hz
- Power Consumption: 8W
- Frequency Range: AM 540 – 1600 KHz FM 88 – 108 MHz
- Speed: 33/ 45/ 78 RPM
- Speaker: 70 mm x 30 mm x 2 mm
- Unit Dimension: 40,5 (L) x 30,5 (W) x 11,5 (H) cm
- Weight (NETTO: 4.3 Kg
* We reserve the right to change technical specifications.
IMPORTANT SAfEGUARDS fOR AUDIO PRODUCTS
- Read Instructions – All the safety and operating instruction should be read before the product is operated.
- Retain Instructions – The safety and operating instruction should be retained for future reference.
- Heed Warnings – All warning on the product and in the operating instructions should be adhered to.
- Follow Instructions – All operating and use instructions should be followed.
- Cleaning – Unplug this product from the wall outlet before cleaning.
- Do not use liquid cleaners or aerosol cleaners. Use a damp cloth for cleaning. Attachments – Do not use attachments not recommended by the product manufacturer
as they may cause hazards. - Water and Moisture – Do not use this product near water – for example, near a bath tub, wash bowl, kitchen sink, or laundry tub; or in a wet basement, or near a swimming pool, and the like.
- Accessories – Do not place this product on an unstable cart, stand tripod, bracket, or table. The product mayfall, causing serious injury to a childor adult, and serious damage to the product. Use only with a cart, standtripod, bracket, or table recommended by the manufacturer or sold with the product. Any mounting of the product should follow the manufacturer’s instructions and should use a mounting accessory recommended by themanufacturer.
- Ventilation – Slots and openings in the cabinet are provided for ventilation and to ensure reliable operation of the product and to protect it from overheating, and these openings must not be blocked or covered. The openings should never be blocked by placing the product on a bed, sofa, rug, or other similar surface. This product should not be placed
in a built-in installation such as a bookcase or rack unless proper ventilation is provided or the manufacturer’s instruction have been adhered to. - Power Sources – This product should be operated only from the type of power source indi-cated on the marking label. If you are not sure of the type of the power supply to your home, consult your product dealer or local power company. For products intended to operate from battery power, or other sources, refer to the operating instruction.
Grounding or Polarization – This product may be equipped with a polarized alternating – current line plug ( a plug having one blade wider than the other). This plug will fit into the power outlet only one way. This is a safety feature. If you are unable to insert the plug fully into the outlet, try reversing the plug. If the plug should still fail to fit, contact your electrician to replace your obsolete outlet. Do not defeat the safety purpose of the polari-zes plug. Alternate Warnings – This product is equipped with a three – wire grounding type plug, a plug having a third (grounding) pin. This plug will only fit into a grounding type power outlet. This is a safety feature.If you are unable to insert the plug into the outlet, contact your electrician to replace your obsolete outlet. Do not defeat the safety purpose of the grounding type plug. - Power Cord Protection – Power supply cords should be routed so that they are not likely to be walked on or pinched by items placed upon or against them, paying particular attention to cords at plugs, convenience receptacles, and point where they exit from the product.
- Protective Attachment Plug – The product is equipped with an attachment plug having overload protection. This is a safety feature. See Instruction Manual for replacement or resetting of protective device. If replacement of the plug is required, be sure the service technician has used a replacement plug specified by the manufacturer that has the same overload protection as the original plug.
- Lightning – For added protection for this product during a lightning storm, or when it is left unattended and unused for long periods of time, unplug it from the wall outlet and discon-nect the antenna or cable system. This will prevent damage to the product due to lightning and power – line surges.
- Power Lines – An outside antenna system should not be located in the vicinity of overhead power lines or other electric light or power circuits, or where it can fall intosuch power lines or circuits. When installing an outside antenna system, extreme care should be taken to keep from touching such power lines or circuits as contact with them might be fatal.
- Overloading – Do not overload wall outlets, extension cords,or integral convenience receptacles as this can result in a risk of fire or electric shock.
- Object and Liquid Entry – Never push objects of any kind into this product through openings as they may touch dangerous voltage points or short-out parts that could result in a fire or electric shock. Never spill liquid of any kind onthe product.
- Servicing – Do not attempt to service this product yourself as opening or removing covers may expose you to dangerous voltage or other hazards. Refer all servicing to qualified service personnel.
- Damage Requiring Service – Unplug this product from the wall outlet and refer servicing to qualified service personnel under the following conditions:
a. When the power supply cord or plug is damaged,
b If liquid has been spilled, or objects have fallen into the product,
c If the product has been exposed to rain or water,
d If the product does not operate normally by following the operating instructions. Adjust only those controls that are covered by the operating instructions as an improper adjustment of other controls may result in damage and will often require extensive work by a qualified technician to restore the product to its normal operation.
e If the product has been dropped or damage in any way, and
f When the product exhibits a distinct change in performance – this indicates a need for
service. - Replacement Parts – When replacement parts are required, be sure the service technician has used replacement parts specified by the manufacturer or have the same characteris-tics as the original part. Unauthorized substitutions may resultnfire,electric shock, or other hazards.
- Safety Check – Upon completion of any service or repairs to this product, ask the service technician to perform safety checks to determine thatthe product is in proper operating condition.
- Heat – The product should be situated away from heat sources such as radiators, heat register, stoves, or other products (including amplifiers) that produce heat.
POWER SOURCE
- Unwind the AC POWER CORD (16) at the back of the unit and connect it to a power outlet.
- Plug A/C cord into appropriate outlet.
UNPACKING ThE TURNTABLE
- Carefully remove unit from it‘s package and take it out of the plastic bag.
- Open lid and remove black tie-wrap by untwisting and gently sliding out from under TONE ARM (10).
- Remove white protective needle cover by gently pulling towards front of unit.
TURNTABLE OPERATION
- Turn the unit on by pressing the POWER SWITCH (6) at the side of the unit, to the “O“ position. The power indicator (5) at the front of the unit will light up.
- Turn the FUNCTION SWITCH (2) to PHONO mode.
- Move the SPEED CONTROL SWITCH (11) to the desired speed, select from 33, 45 or 78 rpm. Place the record on the turntable (8).
- Adjust the VOLUME CONTROL (4) and set this at mid range.
- Use a finger to raise the tone arm (10) off its rest. Move the tone arm over the record and gently release the tone arm to the point where you want to play the record.
- Adjust the VOLUME CONTROL CNOB (4) to your desired sound level.
- At the end of the record, the TONE ARM (10) will stop automatically at the centre. The TONE ARM (10) has to be returned manually to the ARM REST (12).
RADIO OPERATION
- Turn the unit on by pressing the POWER SWITCH (6) at the side of the unit, to the “O“ position. The power indicator (5) at the front of the unit will light up.
- Turn the FUNCTION SWITCH (2) to select either AM or FM frequency position.
- Turn the TUNING KNOB (12) to select your desired position.
- Adjust the VOLUM CONTROL KNOB (4) to your desired sound level.
- Turn the unit off bypressing the POWER SWITCH (6) at the side of the unit, to the “I“ position.
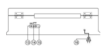
LINE-OUT JACK OPERATION
- Connect the RCA Line-out Jack (14/15) into the external amplifier to play the music from outside source.
LINE IN
- Turn the unit on by pressing the power switch (6) conect the music source you want to play with Line-in jack (13), then you can use the unit to play the connect music source.
ACCESSORy: ADAPTER fOR 45 RPM
To play a 45 rpm record, place the supplied adaptor (9) on the SPINDLE (7)
TROUBLEShOOTING GUIDE
The unit will not operate.
Check that the unit is properly connected to an A/C power outlet.
No sound is coming from the unit
Check that the ON/OFF VOLUME KNOB (4) and see the volume level..
The white protective needle cover has not been removed from the tone arm.
The tone arm will not move
Remove black tie wrap from the tone arm.
The tone arm hold down clip has not been released.
No Radio
The FUNCTION SWITCH (13) has not been moved from the PHONO position.
Adjust the ON/OFF VOLUME KNOB (4) and see the volume level.
Rotate the TUNING KNOB (3) to find the desired radio station.
LOCATION Of PARTS 

- Speaker
- Function Switch (Am/Fm/Phono) Knob
- Tuning Knob
- Volume Control Knob
- Power Led Indicator
- Power Switch
- Spindle
- Turntable
- Adaptor for 45 rpm records
- Tone Arm
- Speed control Switch (33, 45, 78 rpm)
- Security Hook/Arm Rest
- Line In
- RCA line-out jack – right channel
- RCA line-out jack – left channel
- AC power pluh cord
WARNING: Do not use this product near water, in wet areas to avoid fire or injury of electric current. Always turn off the product when you don’t use it or before a revisi-on. There aren’t any parts in this appliance which are reparable by consumer. Always appeal to a qualified authorized service. The product is under a dangerous tension.
Old electrical appliances, used batteries and accumulators disposal
This symbol appearing on the product, on the product accessories or on the product packing means that the product must not be disposed as household waste. When the product/ battery durability is over, please, deliver the product or battery (if it is enclosed) to the respective collection point, where the electrical appliances or batteries will be recycled. The places, where the used electrical appliances are collected, exist in the European Union and in other European countries as well. By proper disposal of the product you can prevent possible negative impact on environment and human health, which might otherwise occur as a con-sequence of improper manipulation with the product or battery/ accumulator. Recycling of mate-rials contributes to protection of natural resources. Therefore, please, do not throw the old electrical appliances and batteries/ accumulators in the household waste. Information, where it is possible to leave the old electrical appliances for free, is provided at your local authority, at the store where you have bought the product. Information, where you can leave the batteries and accumulators for free, is provided to you at the store, at your local authority.





















