T150C-BK Stereo Turntable System
Instruction Manual
Questions, problems, missing parts?
Before returning to the store, call Customer Service
8 a.m. – 6 p.m., EST, Monday – Friday
1-888-CROSLEY
www.crosleyradio.com
Safety Instructions
Read and understand this entire manual before using this product. Keep these instructions for future reference.
- Do not use this product near water.
- This product should be operated only by the type of power source indicated on the marking label or in this instruction manual.
- Do not defeat the safety purpose of the polarized plug. A polarized plug has two blades with one blade wider than the other. This plug will fit into the power outlet only one way. If you are unable to insert the plug fully into the outlet try reversing the plug. If the plug should still fail to fit, contact your electrician.
- Protect the power cord from being walked on or pinched particularly at plugs, convenience receptacles, and the point where they exit from the product.
- Do not overload wall outlets, extension cords, or integral convenience receptacles as this can result in a risk of fire or electric shock.
- Never push objects of any kind into this product through openings as they may touch dangerous voltage points or short-out parts that could result in a fire or electric shock. Never spill liquid of any kind on the product.
- Do not attempt to service this product yourself as opening or removing covers may expose you to dangerous voltage or other hazards. Refer all servicing to qualified service personnel.
- Changes or modifications to this unit not expressly approved by the party responsible for compliance could void the user’s authority to operate the equipment.
- Do not use attachments not recommended by the product manufacturer as they may cause hazards.
- A product and cart combination should be moved with care. Quick stops, excessive force, and uneven surfaces may cause the product and cart combination to overturn.
- Slots and openings in the cabinet are provided for ventilation to ensure the reliable operation of the product and to protect it from overheating. Do not block or cover these openings.
- Unplug the product during a lightning storm or when unused for long periods of time.
Items in this package
Before throwing away any packaging materials, please check thoroughly and make sure you find the following items that come along with this package:
- Turntable
- Turntable Slip Mat
- 45 RPM adapter
- Speaker wire
- Power adaptor
Please contact Crosley customer service if there is any accessory missing from the package. Retain the original packaging materials for exchange or return purposes.
Specifications
| Power | AC power adaptor, DC output 12V 2.5A |
| Power consumption | 32 W |
| Speaker | 4”, 4Ω, 15W x 2 |
| Turntable speed | 33 ½, 45 RPM |
| Replacement needle | Crosley NP-15 |
Note:
- Design and specifications are subject to change without notice.
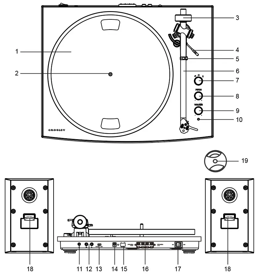
Product Description

| 1. Turntable Platter | 11. Ground Connector |
| 2. Turntable Spindle | 12. RCA Jacks |
| 3. Tonearm Counterweight | 13. Phono/Line Switch |
| 4. Tonearm Lever | 14. Power Jack |
| 5. Tonearm Rest | 15. Bluetooth Output Switch |
| 6. Tonearm | 16. Speaker Output Terminals |
| 7. Function Knob | 17. Power Switch |
| 8. Pitch Control | 18. Speaker Input Terminals |
| 9. Volume Knob | 19. 45 RPM Adapter |
| 10. Power Indicator |
Initial Setup
Essential Setup
- Place the unit on a flat and level surface. The selected location should be stable and free from vibration.
- Remove the tie-wrap that is holding the tonearm.
- Install the turntable platter and drive belt accordingly
- Place the slip mat on top of the turntable platter.
- Slide Tonearm Counterweight onto the rear shaft of the tonearm and push it as close to the stop point as possible. This will automatically set the needle’s downforce to be in the range of the factory-fitted needle (2.5g-3.5g).
- Use the Speaker Wire to connect the left and right speakers’ Input Terminals to the turntable’s Output Terminals correspondingly. Make sure the left and right channels are connected correctly.
- Connect the AC adaptor to the Power Jack of the unit.
Note: Do not plug the AC power adaptor into the power outlet before all the assembly is completed. Before turning the power on, make sure again all the connection settings are correct. Always turn off the power when connecting or disconnecting.
Turntable Platter and Belt Setup
- Install the drive belt over the inner ring under the platter and make sure it won’t fall off during the setup.
- Place the platter through the turntable spindle, then rotate the platter until you see the drive motor pulley through the window at the top right corner.
- Carefully grab the drive belt and put it around the slot of the motor pulley.

Phono/Line Switch
For increased flexibility of use, this unit has a built-in stereo phono pre-amplifier.
If you prefer to use the phono input of your stereo system or your standalone phono pre-amplifier, set the Phono/Line switch to the PHONO position.
Otherwise, please set it to LINE position and make a connection to the AUX input or other high-level input on your stereo system.
Stereo System Connection
RCA Jacks
- The RCA jacks of this unit can be used as either Phono output jacks or Line output jacks. This is determined by using the Phone/Line Switch.
- To connect to active speakers, set Phono/Line switch to Line setting. To connect to a phono pre-amp or the phono input of a stereo system, set the Phono/Line switch to the Phono setting.
- The Red plug connects with the Right channel and the White plug connects with the Left channel.
Note:
- If the Phono/Line switch is set at LINE position but RCA jacks are connected to the stereo system’s phono input, the sound might be distorted due to input overload and could damage your stereo system.
- If the Phono/Line switch is set at the PHONO position but the RCA jack is connected to the stereo system’s line input, the volume will be very low due to lacking signal amplification.
- RCA Jack is not designed to be connected directly to the passive/unpowered speakers and if it does, the volume will be very low.
Spring clip speaker terminals
To connect to the speakers included with this system or other passive speakers, connect one end of the speaker wire included with this package to the back of the speakers and the other end to the Speaker Output Terminals. To do this, flip the spring clips to the open position, insert the speaker wire, and flip the spring clips to the closed position. Set the Phono/Line Switch to the Line setting.
Bluetooth Output Operation
This turntable features Bluetooth output which is a device that transmits audio from this turntable to another Bluetooth device such as wireless Bluetooth headphones, Bluetooth speakers, or other Bluetooth receiving devices.
- Place the audio device that supports Bluetooth technology as close to your turntable as possible.
- Set the turntable’s function switch to the ON position for Bluetooth output.
Note: The function indicator will slowly flash blue. - Set the device that you would like to connect to pairing mode.
- Your turntable will connect automatically to your audio device once they are both in pairing mode.
- When the pairing is complete, the function indicator will be solid blue.
Note: If pairing is unsuccessful, make sure your audio device is not paired/connected to another Bluetooth device.
Turntable Operation
- Press the Power Switch to turn on the power.
- Rotate the Function Knob to either 33 1/3 or 45 RPM mode to select the turntable speed accordingly. Use the 45 RPM Adapter if necessary
- Place the record on the turntable.
- Remove the stylus protector from the stylus assembly.
Note: To avoid stylus damage, make certain the included stylus guard is in place whenever the turntable is being moved or cleaned. - Release the Tonearm Clip.
Note: when the turntable is not in use, remember to lock back and hold down the clip. - Use the Tonearm Lever to lift up the tonearm.
- Gently move the tonearm over the record where play is desired to begin. Set the Tonearm Lever back to the down position, the tonearm will descend slowly onto the record and begin to playback.
- When the record is finished playing, use the Tonearm Lever again to raise the tonearm and then return it to the Tonearm Rest. Release the lever to let the tonearm sit back at its rest. To suspend the playback, repeat the same steps.
- Lock the Tonearm Clip to secure the tonearm.
Pitch Control
The turntable speed can be increased or decreased by approximately 10% by rotating the Pitch Control Knob. To increase the speed, turn the Pitch Control Knob clockwise. To decrease the speed, turn the knob counter-clockwise.
Needle Replacement
Removing Needle
- Gently hold both sides of the needle.
- Gently pull the needle forward and remove it.

Installing Needle
- Position the needle with its tip facing down.
- Line up the back of the needle with the cartridge.
- Push the needle back into place.

Bluetooth Operation
- Turn the Function Knob to Bluetooth mode, the Power Indicator will start flashing blue.
- Turn on the Bluetooth feature of your audio device, search for “CROSLEY T150” and pair.
- Once your device is successfully paired with the unit, you will hear a short confirmation sound from the unit.
- Play and stream music from your device to the unit.
Note: Bluetooth version – 5.2
Turntable Maintenance
- Do not touch the stylus tip with your fingers. Avoid bumping the stylus on the turntable mat or a record’s edge.
- Clean the stylus frequently with a soft brush with a back-to-front motion only.
- Clean the records to get rid of dust or grease with a record cleaning brush and record cleaning solution.
- Clean the turntable cabinet with a slightly damped microfiber cloth.
Note: Do not use cleanser other that contains alcohol, benzene or any other harsh chemicals, which might damage the paint and finish of the turntable.
** Crosley offers a product line of different cleaning accessories. Please ask your retailer or check out our website www.crosleyradio.com for more cleaning product information.
Troubleshooting
There is no power
- The power adaptor is not connected correctly.
- No power at the power outlet.
The power is on, but the platter does not turn
- Turntable’s drive belt has slipped off.
- The turntable is under Bluetooth Mode.
The turntable is spinning, but there is no sound, or sound not loud enough
- The stylus protector is still on.
FCC Statements
This device complies with part 15 of the FCC Rules. Operation is subject to the following two conditions:
(1) This device may not cause harmful interference, and
(2) this device must accept any interference received, including interference that may cause undesired operation.
Note: This equipment has been tested and found to comply with the limits for a Class B digital device, pursuant to part 15 of the FCC Rules. These limits are designed to provide reasonable protection against harmful interference in a residential installation. This equipment generates, uses and can radiate radio frequency energy and, if not installed and used in accordance with the instructions, may cause harmful interference to radio communications. However, there is no guarantee that interference will not occur in a particular installation. If this equipment does cause harmful interference to radio or television reception, which can be determined by turning the equipment off and on, the user is encouraged to try to correct the interference by one or more of the following measures:
- Reorient or relocate the receiving antenna.
- Increase the separation between the equipment and receiver.
- Connect the equipment into an outlet on a circuit different from that to which the receiver is connected.
- Consult the dealer or an experienced radio/TV technician for help.
Note: The Grantee is not responsible for any changes or modifications not expressly approved by the party responsible for compliance. such modifications could void the user’s
authority to operate the equipment.
The device has been evaluated to meet general RF exposure requirements.
To maintain compliance with FCC’s RF exposure guidelines, the distance must be at least 20 cm between the radiator and your body and fully supported by the operating and installation configurations of the transmitter and its antenna(s).
SIMPLIFIED EU DECLARATION OF CONFORMITY
Hereby, Modern Marketing Concepts Inc. dba Crosley Brands, declares that the radio equipment type is in compliance with Directive 2014/53/EU. The full text of the EU declaration of conformity is available at the following internet address: http://crosleybrands.com/euDoC





















