
T160A
Stereo Turntable System
Instruction Manual

Questions, problems, missing parts?
Before returning to the store, call Customer Service
8 a.m. – 6 p.m., EST, Monday – Friday
1-888-CROSLEY
www.crosleyradio.com
Safety Instructions
Read and understand this entire manual before using this product. Keep these instructions for future reference.
- Do not use this product near water.
- This product should be operated only by the type of power source indicated on the marking label or in this instruction manual.
- Do not defeat the safety purpose of the polarized plug. A polarized plug has two blades with one blade wider than the other. This plug will fit into the power outlet only one way. If you are unable to insert the plug fully into the outlet try reversing the plug. If the plug should still fail to fit, contact your electrician.
- Protect the power cord from being walked on or pinched particularly at plugs, convenience receptacles, and the point where they exit from the product.
- Do not overload wall outlets, extension cords, or integral convenience receptacles as this can result in a risk of fire or electric shock.
- Never push objects of any kind into this product through openings as they may touch dangerous voltage points or short-out parts that could result in a fire or electric shock. Never spill liquid of any kind on the product.
- Do not attempt to service this product yourself as opening or removing covers may expose you to dangerous voltage or other hazards. Refer all
servicing to qualified service personnel. - Changes or modifications to this unit not expressly approved by the party responsible for compliance could void the user’s authority to operate the equipment.
- Do not use attachments not recommended by the product manufacturer as they may cause hazards.
- A product and cart combination should be moved with care. Quick stops, excessive force, and uneven surfaces may cause the product and cart combination to overturn.
- Slots and openings in the cabinet are provided for ventilation and to ensure reliable operation of the product and to protect it from overheating. Do not block or cover these openings.
- Unplug the product during lightning storm or when unused for long periods of time.
Items in this package
Before throwing away any packaging materials, please check thoroughly and make sure you find the following items that come along with this package:
- Turntable
- Turntable Slip Mat
- 45 RPM adapter
- Speaker wire
- Power adaptor
Please contact Crosley customer service if there is any accessory missing from the package. Retain the original packaging materials for exchange or return purposes.
Specifications
| Power Power consumption Speaker Turntable speed Replacement needle | AC power adaptor, DC output 12V 2.5A 24 W 4”, 4Ω, 8W x 2 33 1/3, 45 RPM Crosley NP-15 |
Note:
- Design and specifications are subject to change without notice.
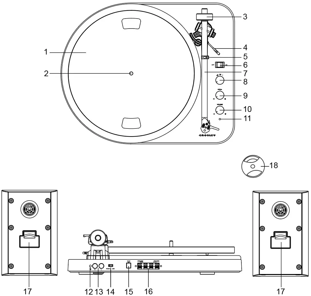
Product Description

| 1. Turntable Platter 2. Turntable Spindle 3. Tonearm Counterweight 4. Tonearm Lever 5. Tonearm Rest 6. Power Switch 7. Tonearm 8. Function Knob 9. Pitch Control | 10. Volume Knob 11. Power Indicator 12. Ground Connector 13. RCA Jacks 14. Phono/Line Switch 15. Power Jack 16. Speaker Output Terminals 17. Speaker Input Terminals 18. 45 RPM Adapter |
Initial Setup
Essential Setup
- Place the unit on a flat and level surface. The selected location should be stable and free from vibration.
- Remove the tie-wrap that is holding the tonearm.
- Install the turntable platter and drive belt accordingly
- Place the slip mat on top of the turntable platter.
- Slide Tonearm Counterweight onto the rear shaft of tonearm and push it as close to the stop point as possible. This will automatically set the needle’s down force to be in range for the factory fitted needle (2.5g-3.5g).
- Use the Speaker Wire to connect the left and right speakers’ Input Terminals to the turntable’s Output Terminals correspondingly. Make sure the left and right channels are connected correctly.
- Connect AC adaptor to the Power Jack of the unit.
Note: Do not plug the AC power adaptor to power outlet before all the assembly is completed. Before turning the power on, make sure again all the connection settings are correct. Always turn off the power when connecting or disconnecting.
Turntable Platter and Belt Setup
- Install the drive belt over the inner ring under the platter and make sure it won’t fall off during the setup.
- Place the platter through the turntable spindle, then rotate the platter until you see the drive motor pulley through the window at the top right corner.
- Carefully grab the drive belt and put it around the slot of motor pulley.

Phono/Line Switch
For increased flexibility of use, this unit has a built-in stereo phono pre-amplifier. If you prefer to use the phono input of your stereo system or your standalone phono pre-amplifier, set the Phono/Line switch to the PHONO position. Otherwise, please set it to LINE position and make connection to the AUX input or other high-level input on your stereo system.
Stereo System Connection
RCA Jacks
- The RCA Jacks of this unit can be used as either Phono output jacks or Line output jacks. This is determined by using the Phone/Line Switch.
- To connect to active speakers, set Phono/Line switch to Line setting. To connect to a phono pre-amp or the phono input of a stereo system, set
Phono/Line switch to Phono setting. - The Red plug connects with the Right channel and the White plug connects with the Left channel.
Note:
- If the Phono/Line switch is set at LINE position but RCA jacks connected to the stereo system’s phono input, the sound might be distorted due to input overload and could damage your stereo system.
- If the Phono/Line switch is set at PHONO position but RCA jack connected to the stereo system’s line input, the volume will be very low due to lacking signal preamplification.
- RCA Jack is not designed to be connected directly to the passive/unpowered speakers and if it does, the volume will be very low.
Spring clip speaker terminals
To connect to the speakers included with this system or other passive speakers, connect one end of the speaker wire included with this package to the back of the speakers and the other end to the Speaker Output Terminals. To do this, flip the spring clips to the open position, insert the speaker wire, and flip the spring clips to the closed position. Set the Phono/Line Switch to Line setting.
Turntable Operation
- Press the Power Switch to turn on the power.
- Rotate the Function Knob to either 33/3 or 45 RPM mode to select the turntable speed accordingly. Use the 45 RPM Adapter if necessary
- Place the record on the turntable.
- Remove the stylus protector from the stylus assembly.
Note: To avoid stylus damage, make certain the included stylus guard is in place whenever the turntable is being moved or cleaned. - Release the Tonearm Clip.
Note: when the turntable is not in use, remember to lock back hold down clip. - Use the Tonearm Lever to lift up the tonearm.
- Gently move the tonearm over the record where play is desired to begin. Set the Tonearm Lever back to the down position, the tonearm will descend slowly onto the record and begin to playback.
- When the record is finished playing, use the Tonearm Lever again to raise the tonearm and then return it to the Tonearm Rest. Release the lever to let the tonearm sit back at its rest. To suspend the playback, repeat the same steps.
- Lock the Tonearm Clip to secure the tonearm.
Pitch Control
The turntable speed can be increased or decreased by approximately 10% by rotating the Pitch Control Knob. To increase the speed, turn the Pitch Control Knob clockwise. To decrease the speed, turn the knob counter-clockwise.
Needle Replacement
Removing Needle
- Gently hold both sides of the needle.
- Gently pull the needle forward and remove.

Installing Needle
- Position the needle with its tip facing down.
- Line up the back of the needle with the cartridge.
- Push the needle back into place.

Bluetooth Operation
- Turn the Function Knob to Bluetooth mode , the Power Indicator will start flashing blue.
- Turn on the Bluetooth feature of your audio device, search for “CROSLEY T160A” and pair.
- Once your device is successfully paired with the unit, you will hear a short confirmation sound from the unit.
- Play and stream music from your device to the unit.
Note: Bluetooth version – 5.1
Turntable Maintenance
- Do not touch the stylus tip with your fingers. Avoid bumping the stylus on the turntable mat or a record’s edge.
- Clean the stylus frequently with a soft brush with a back-to-front motion only.
- Clean the records to get rid of dust or grease with a record cleaning brush and record cleaning solution.
- Clean the turntable cabinet with a slightly damped microfiber cloth.
Note: Do not use cleanser other that contains alcohol, benzene or any other harsh chemicals, which might damage the paint and finish of the turntable.
** Crosley offers a product line of different cleaning accessories. Please ask your retailer or check out our website www.crosleyradio.com for more cleaning product information.
Troubleshooting
There is no power
- Power adaptor is not connected correctly.
- No power at the power outlet.
Power is on, but the platter does not turn
- Turntable’s drive belt has slipped off.
- Turntable is under Bluetooth Mode.
Turntable is spinning, but there is no sound, or sound not loud enough
- Stylus protector is still on.
FCC Statements
This device complies with part 15 of the FCC Rules. Operation is subject to the following two conditions:
- This device may not cause harmful interference, and
- this device must accept any interference received, including interference that may cause undesired operation.
Note: This equipment has been tested and found to comply with the limits for a Class B digital device, pursuant to part 15 of the FCC Rules. These limits are designed to provide reasonable protection against harmful interference in a residential installation. This equipment generates, uses and can radiate radio frequency energy and, if not installed anused in accordance with the instructions, may cause harmful interference to radio communications. However, there is no guarantee that interference will not occur in a particular installation. If this equipment does cause harmful interference to radio or television reception, which can be determined by turning the equipment off and on, the useis encouraged to try to correct the interference by one or more of the following measures:
- Reorient or relocate the receiving antenna.
- Increase the separation between the equipment and receiver.
- Connect the equipment into an outlet on a circuit different from that to which the receiver is connected.
- Consult the dealer or an experienced radio/TV technician for help.
Note: The Grantee is not responsible for any changes or modifications not expressly approved by the party responsible for compliance. such modifications could void the user’sauthority to operate the equipment.
The device has been evaluated to meet general RF exposure requirement.
To maintain compliance with FCC’s RF exposure guidelines, the distance must be at least 20 cm between the radiator and your body, and fully supported by the operating and installation configurations of the transmitter and its antenna(s).
SIMPLIFIED EU DECLARATION OF CONFORMITY
Hereby, Modern Marketing Concepts Inc. dba Crosley Brands, declares that the radio equipment type is in compliance with Directive 2014/53/EU. The full text of the EU declaration of conformity is available at the following internet address: http://crosleybrands.com/euDoC
T160A Stereo Turntable System
Instruction Manual
Questions, problems, missing parts? Before returning to the store, call Customer Service
8 a.m. 6 p.m., EST, Monday Friday 1-888-CROSLEY
www.crosleyradio.com
English
Safety Instructions
Read and understand this entire manual before using this product. Keep these instructions for future reference. 1. Do not use this product near water. 2. This product should be operated only by the type of power source indicated
on the marking label or in this instruction manual. 3. Do not defeat the safety purpose of the polarized plug. A polarized plug has
two blades with one blade wider than the other. This plug will fit into the power outlet only one way. If you are unable to insert the plug fully into the outlet try reversing the plug. If the plug should still fail to fit, contact your electrician. 4. Protect the power cord from being walked on or pinched particularly at plugs, convenience receptacles, and the point where they exit from the product. 5. Do not overload wall outlets, extension cords, or integral convenience receptacles as this can result in a risk of fire or electric shock. 6. Never push objects of any kind into this product through openings as they may touch dangerous voltage points or short-out parts that could result in a fire or electric shock. Never spill liquid of any kind on the product. 7. Do not attempt to service this product yourself as opening or removing covers may expose you to dangerous voltage or other hazards. Refer all servicing to qualified service personnel. 8. Changes or modifications to this unit not expressly approved by the party responsible for compliance could void the user’s authority to operate the equipment. 9. Do not use attachments not recommended by the product manufacturer as they may cause hazards. 10. A product and cart combination should be moved with care. Quick stops, excessive force, and uneven surfaces may cause the product and cart combination to overturn. 11. Slots and openings in the cabinet are provided for ventilation and to ensure reliable operation of the product and to protect it from overheating. Do not block or cover these openings. 12. Unplug the product during lightning storm or when unused for long periods of time.
2
English
Items in this package
Before throwing away any packaging materials, please check thoroughly and make sure you find the following items that come along with this package:
· Turntable · Turntable Slip Mat · 45 RPM adapter · Speaker wire · Power adaptor
Please contact Crosley customer service if there is any accessory missing from the package. Retain the original packaging materials for exchange or return purposes.
Specifications
Power Power consumption Speaker Turntable speed Replacement needle
AC power adaptor, DC output 12V 2.5A 24 W 4″, 4, 8W x 2 331/3, 45 RPM
Crosley NP-15
Note: · Design and specifications are subject to change without notice.
3
English
Product Description
1. Turntable Platter 2. Turntable Spindle 3. Tonearm Counterweight 4. Tonearm Lever 5. Tonearm Rest 6. Power Switch 7. Tonearm 8. Function Knob 9. Pitch Control
10. Volume Knob 11. Power Indicator 12. Ground Connector 13. RCA Jacks 14. Phono/Line Switch 15. Power Jack 16. Speaker Output Terminals 17. Speaker Input Terminals 18. 45 RPM Adapter
4
English
Initial Setup
Essential Setup 1. Place the unit on a flat and level surface. The selected location should be
stable and free from vibration. 2. Remove the tie-wrap that is holding the tonearm. 3. Install the turntable platter and drive belt accordingly 4. Place the slip mat on top of the turntable platter. 5. Slide Tonearm Counterweight onto the rear shaft of
tonearm and push it as close to the stop point as possible. This will automatically set the needle’s down force to be in range for the factory fitted needle (2.5g-3.5g). 6. Use the Speaker Wire to connect the left and right speakers’ Input Terminals to the turntable’s Output Terminals correspondingly. Make sure the left and right channels are connected correctly. 7. Connect AC adaptor to the Power Jack of the unit. Note: Do not plug the AC power adaptor to power outlet before all the assembly is completed. Before turning the power on, make sure again all the connection settings are correct. Always turn off the power when connecting or disconnecting. Turntable Platter and Belt Setup 1. Install the drive belt over the inner ring under the platter and make sure it won’t fall off during the setup. 2. Place the platter through the turntable spindle, then rotate the platter until you see the drive motor pulley through the window at the top right corner. 3. Carefully grab the drive belt and put it around the slot of motor pulley.
5
English
Phono/Line Switch
For increased flexibility of use, this unit has a built-in stereo phono pre-amplifier. If you prefer to use the phono input of your stereo system or your standalone phono pre-amplifier, set the Phono/Line switch to the PHONO position. Otherwise, please set it to LINE position and make connection to the AUX input or other high-level input on your stereo system.
Stereo System Connection
RCA Jacks · The RCA Jacks of this unit can be used as either Phono output jacks or Line
output jacks. This is determined by using the Phone/Line Switch. · To connect to active speakers, set Phono/Line switch to Line setting. To
connect to a phono pre-amp or the phono input of a stereo system, set Phono/Line switch to Phono setting. · The Red plug connects with the Right channel and the White plug connects with the Left channel. Note: – If the Phono/Line switch is set at LINE position but RCA jacks connected to the
stereo system’s phono input, the sound might be distorted due to input overload and could damage your stereo system. – If the Phono/Line switch is set at PHONO position but RCA jack connected to the stereo system’s line input, the volume will be very low due to lacking signal preamplification. – RCA Jack is not designed to be connected directly to the passive/unpowered speakers and if it does, the volume will be very low.
Spring clip speaker terminals To connect to the speakers included with this system or other passive speakers, connect one end of the speaker wire included with this package to the back of the speakers and the other end to the Speaker Output Terminals. To do this, flip the spring clips to the open position, insert the speaker wire, and flip the spring clips to the closed position. Set the Phono/Line Switch to Line setting.
6
English
Turntable Operation
1. Press the Power Switch to turn on the power. 2. Rotate the Function Knob to either 33 1/3 or 45 RPM mode to select the
turntable speed accordingly. Use the 45 RPM Adapter if necessary 3. Place the record on the turntable. 4. Remove the stylus protector from the stylus assembly.
Note: To avoid stylus damage, make certain the included stylus guard is in place whenever the turntable is being moved or cleaned. 5. Release the Tonearm Clip. Note: when the turntable is not in use, remember to lock back hold down clip. 6. Use the Tonearm Lever to lift up the tonearm. 7. Gently move the tonearm over the record where play is desired to begin. Set the Tonearm Lever back to the down position, the tonearm will descend slowly onto the record and begin to playback. 8. When the record is finished playing, use the Tonearm Lever again to raise the tonearm and then return it to the Tonearm Rest. Release the lever to let the tonearm sit back at its rest. To suspend the playback, repeat the same steps. 9. Lock the Tonearm Clip to secure the tonearm.
Pitch Control
The turntable speed can be increased or decreased by approximately 10% by rotating the Pitch Control Knob. To increase the speed, turn the Pitch Control Knob clockwise. To decrease the speed, turn the knob counter-clockwise.
7
English
Needle Replacement
Removing Needle 1. Gently hold both sides of the needle. 2. Gently pull the needle forward and remove.
Installing Needle 1. Position the needle with its tip facing down. 2. Line up the back of the needle with the cartridge. 3. Push the needle back into place.
Bluetooth Operation
1. Turn the Function Knob to Bluetooth mode , the Power Indicator will start flashing blue.
2. Turn on the Bluetooth feature of your audio device, search for “CROSLEY T160A” and pair.
3. Once your device is successfully paired with the unit, you will hear a short confirmation sound from the unit.
4. Play and stream music from your device to the unit. Note: Bluetooth version 5.1
8
English
Turntable Maintenance
1. Do not touch the stylus tip with your fingers. Avoid bumping the stylus on the turntable mat or a record’s edge.
2. Clean the stylus frequently with a soft brush with a back-to-front motion only. 3. Clean the records to get rid of dust or grease with a record cleaning brush
and record cleaning solution. 4. Clean the turntable cabinet with a slightly damped microfiber cloth.
Note: Do not use cleanser other that contains alcohol, benzene or any other harsh chemicals, which might damage the paint and finish of the turntable. ** Crosley offers a product line of different cleaning accessories. Please ask your retailer or check out our website www.crosleyradio.com for more cleaning product information.
Troubleshooting
There is no power · Power adaptor is not connected correctly. · No power at the power outlet. Power is on, but the platter does not turn · Turntable’s drive belt has slipped off. · Turntable is under Bluetooth Mode. Turntable is spinning, but there is no sound, or sound not loud enough · Stylus protector is still on.
9
English
FCC Statements
This device complies with part 15 of the FCC Rules. Operation is subject to the following two conditions: (1) This device may not cause harmful interference, and (2) this device must accept any interference received, including interference that may cause undesired operation. Note: This equipment has been tested and found to comply with the limits for a Class B digital device, pursuant to part 15 of the FCC Rules. These limits are designed to provide reasonable protection against harmful interference in a residential installation. This equipment generates, uses and can radiate radio frequency energy and, if not installed and used in accordance with the instructions, may cause harmful interference to radio communications. However, there is no guarantee that interference will not occur in a particular installation. If this equipment does cause harmful interference to radio or television reception, which can be determined by turning the equipment off and on, the user is encouraged to try to correct the interference by one or more of the following measures: – Reorient or relocate the receiving antenna. – Increase the separation between the equipment and receiver. – Connect the equipment into an outlet on a circuit different from that to which the
receiver is connected. – Consult the dealer or an experienced radio/TV technician for help. Note: The Grantee is not responsible for any changes or modifications not expressly approved by the party responsible for compliance. such modifications could void the user’s authority to operate the equipment. The device has been evaluated to meet general RF exposure requirement. To maintain compliance with FCC’s RF exposure guidelines, the distance must be at least 20 cm between the radiator and your body, and fully supported by the operating and installation configurations of the transmitter and its antenna(s). SIMPLIFIED EU DECLARATION OF CONFORMITY Hereby, Modern Marketing Concepts Inc. dba Crosley Brands, declares that the radio equipment type is in compliance with Directive 2014/53/EU. The full text of the EU declaration of conformity is available at the following internet address: http://crosleybrands.com/euDoC
10
T160A Sistema de tocadiscos estéreo
Manual de instrucciones
¿Tiene preguntas, ha tenido problemas o hay piezas faltantes? Antes de devolver el producto a la tienda, comuníquese con nuestro Servicio al Cliente
de 8 a. m. a 6 p. m., hora del este, de lunes a viernes 1-888-CROSLEY
www.crosleyradio.com
Español
Instrucciones de seguridad
Lea y comprenda este manual en su totalidad antes de usar este producto. Conserve estas instrucciones para consultarlas en el futuro. 1. No use este producto cerca del agua. 2. Este producto debe ser utilizado solo con el tipo de fuente de alimentación
indicado en la etiqueta o en este manual de instrucciones. 3. No subestime el propósito de seguridad del enchufe polarizado. Un enchufe
polarizado posee dos hojas; una de ellas es más ancha que la otra. Este enchufe encajará en el tomacorriente en un solo sentido. Si no logra insertar completamente el enchufe en el tomacorriente, pruebe invirtiendo el enchufe. Si aún así el enchufe no encaja, comuníquese con su electricista. 4. Proteja el cable de alimentación de ser pisado o pinzado, en especial en los enchufes, los tomacorrientes y en el punto donde el cable sale del producto. 5. No sobrecargue los tomacorrientes de pared, cables de alargue, o receptáculos integrales, ya que puede generar un riesgo de incendio o descarga eléctrica. 6. No introduzca objetos de ningún tipo en el producto a través de las ranuras, ya que pueden hacer contacto con puntos de alto voltaje o provocar un cortocircuito que ocasione fuego o una descarga eléctrica. No derrame líquidos de ningún tipo sobre el producto. 7. No intente realizar tareas de mantenimiento por su cuenta, ya que abrir o remover la cubierta puede exponerlo a un voltaje peligroso y a otros riesgos. Deje toda tarea de mantenimiento en manos de un técnico de servicio calificado. 8. Los cambios o las modificaciones que no tengan la aprobación expresa de la parte responsable del cumplimiento pueden anular el permiso del usuario para utilizar el equipo. 9. No utilice accesorios que no son recomendados por los fabricantes del producto porque pueden ser peligrosos. 10. Cualquier combinación de carro y producto debe moverse con cuidado. Las paradas súbitas, el uso de fuerza excesiva y las superficies irregulares pueden causar que el producto y el carro se vuelquen. 11. Las ranuras de ventilación y las aberturas del gabinete son provistas para la ventilación y para asegurar el correcto funcionamiento del producto y evitar el recalentamiento. No bloquee ni cubra estas aberturas. 12. Desconecte el producto durante las tormentas eléctricas o cuando no se utilice durante períodos extendidos.
2
Español
Artículos en este empaque
Antes de deshacerse de cualquier material del empaque, revíselo con atención y asegúrese de encontrar los siguientes artículos que se incluyen en este paquete:
· Tocadiscos · Cobertor deslizable del tocadiscos · Adaptador de 45 rpm
· Fil de haut-parleur
· Transformador
Comuníquese con el Servicio al Cliente de Crosley en caso de que faltara algún accesorio en el empaque. Conserve el material de embalaje original para realizar cambios o devoluciones.
Especificaciones
Fuente de energía Consumo de energía Potencia del altavoz Altavoz Aguja de repuesto
Transformador de CA, salida CC de 12 V 2.5 A 24 W
4″, 4, 8W x 2 331/3, 45 Crosley NP-15
Nota: · El diseño y las especificaciones están sujetos a cambios sin previo aviso.
3
Español
Descripción del producto
1. Bandeja del tocadiscos 2. Eje del tocadiscos 3. Contrapeso del brazo del
tocadiscos 4. Palanca del tocadiscos 5. Soporte del brazo del tocadiscos 6. Interruptor de alimentación 7. Brazo del tocadiscos 8. Perilla de funciones 9. Control de tono
10. Perilla de volumen 11. Indicador de alimentación 12. Conector a tierra 13. Conectores RCA 14. Interruptor para Fono/Línea 15. Conector de alimentación 16. Terminales de salida de altavoz 17. Terminales de entrada de altavoz 18. Adaptador de 45 rpm
4
Español
Instalación inicial
Instalación indispensable 1. Coloque la unidad en una superficie plana y nivelada. El lugar seleccionado
debe ser estable y estar libre de vibraciones. 2. Quite la banda de sujeción que sostiene el brazo del tocadiscos. 3. Instale la bandeja del tocadiscos y la correa de transmisión según
corresponda. 4. Coloque el cobertor deslizable sobre la bandeja del tocadiscos. 5. Deslice el Contrapeso del brazo del tocadiscos en el mango
posterior del tocadiscos y empújelo lo más cerca posible al punto de parada. Esto automáticamente establecerá la presión de la aguja para que esté en el rango de la aguja instalada por la fábrica (2.5g-3.5g). 6. Utilisez le fil de haut-parleur pour raccorder les bornes d’entrée des hautparleurs de gauche et de droite aux bornes de sortie respectives du tournedisque. Assurez-vous que les canaux de gauche et de droite sont correctement raccordés. 7. Conecte el adaptador de CA al conector de alimentación de la unidad.
Nota: No enchufe el transformador de CA a un tomacorriente hasta terminar de ensamblar las partes. Antes de encender el equipo, vuelva a asegurarse de que todos los ajustes de conexión estén correctos. Siempre apague la unidad al conectarla o desconectarla.
Instalación de la bandeja y la correa del tocadiscos 1. Instale la correa de transmisión en el anillo interior debajo de la bandeja y
asegúrese de que no se salga durante la instalación. 2. Coloque la bandeja a través del eje del tocadiscos y luego gírela hasta que
observe la polea de motor de accionamiento a través de la ventana que se encuentra en la esquina superior derecha. 3. Tome con cuidado la correa de transmisión y colóquela alrededor de la ranura de la polea de motor.
5
Español
Interruptor para Fono/Línea
Para un uso más flexible, esta unidad posee un preamplificador de fono estéreo incorporado. Si prefiere usar la entrada fono de su sistema estéreo o su preamplificador de fono independiente, ajuste el interruptor para Fono/Línea en la posición FONO. De lo contrario, colóquelo en la posición LÍNEA y conecte la entrada AUX u otra entrada de alto nivel en su sistema estéreo.
Conexión del sistema estéreo
Conectores RCA · Las tomas RCA de esta unidad se pueden utilizar como tomas de salida
Phono o tomas de salida de línea. Esto se determina utilizando el conmutador de teléfono / línea. · Para conectarse a altavoces activos, coloque el interruptor Phono / Line en la configuración Line. Para conectar un preamplificador phono o la entrada phono de un sistema estéreo, ajuste el interruptor Phono / Line en la configuración Phono. · El cable rojo se conecta en el canal derecho, y el cable blanco se conecta en el canal izquierdo. Nota: – Si el Interruptor para Fono/Línea se ajusta en la posición LÍNEA pero los
conectores RCA están conectados a la entrada fono del sistema estéreo, es posible que el sonido se distorsione debido a la sobrecarga de entradas y esto podría dañar su sistema estéreo. – Si el interruptor para Fono/Línea está en la posición FONO pero el conector RCA está conectado a la entrada de línea del sistema estéreo, el volumen será muy bajo debido a la falta de preamplificación de la señal. – Los conectores RCA no están diseñados para conectarse directamente a parlantes pasivos y, si se los conecta, el volumen será muy bajo.
Terminales de parlantes con conector de broche elástico Para conectar los altavoces incluidos con este sistema u otros altavoces pasivos, conecte un extremo del cable de altavoz incluido con este paquete a la parte posterior de los altavoces y el otro extremo a los terminales de salida de altavoz. Para hacer esto, gire los clips de resorte a la posición abierta, inserte el cable del altavoz y gire los clips de resorte a la posición cerrada. Establezca el conmutador Phono / Line en la configuración Line.
6
Español
Funcionamiento del tocadiscos
1. Appuyez sur l’interrupteur d’alimentation pour mettre l’appareil sous tension. Le plateau du tourne-disque se mettra à tourner automatiquement.
2. Mettez le bouton de fonction sur 33 1/3 ou 45 tours pour choisir la vitesse du tourne-disque. Utilisez l’adaptateur 45 tours si besoin
3. Placez le disque sur le tourne-disque. 4. Quite el protector de la aguja fonográfica de su ensamblaje.
Nota: Para evitar los daños de la aguja fonográfica, asegúrese de que el protector esté ubicado correctamente cada vez que mueva o limpie el tocadiscos. 5. Suelte el clip del brazo de tono. Nota: cuando el tocadiscos no esté en uso, recuerde bloquear el clip de sujeción. 6. Utilice la palanca del brazo fonocaptor para levantar el brazo fonocaptor. 7. Mueva suavemente el brazo sobre el disco donde desea comenzar la reproducción. Vuelva a colocar la palanca del brazo de tono en la posición hacia abajo, el brazo de tono descenderá lentamente sobre el disco y comenzará a reproducir. 8. Cuando termine de reproducirse el disco, use la palanca del brazo fonocaptor nuevamente para levantar el brazo fonocaptor y luego devuélvalo al descanso del brazo fonocaptor. Suelte la palanca para dejar que el brazo se asiente en su reposo. Para suspender la reproducción, repita los mismos pasos. 9. Bloquee el clip del brazo fonocaptor para asegurar el brazo fonocaptor.
Control de tono
La velocidad de la plataforma puede ser aumentado o disminuido en aproximadamente un 10% girando el botón de control de tono. Para aumentar la velocidad, gire la perilla de control de Pitch las agujas del reloj. Para disminuir la velocidad, girar el mando en sentido antihorario.
7
Español
Reemplazo de la aguja
Quitar la aguja 1. Sostenga suavemente ambos lados de la aguja. 2. Tire suavemente de la aguja hacia adelante y extráigala.
Instalar la aguja 1. Coloque la aguja con la punta hacia abajo. 2. Alinee la parte posterior de la aguja con el cartucho. 3. Vuelva a colocar la aguja en su lugar.
Funcionamiento de Bluetooth
1. Mettez le bouton de fonction sur le mode Bluetooth; le voyant d’alimentation devient bleu et clignote.
2. Activez la fonction Bluetooth de votre appareil audio, recherchez « CROSLEY T160A » et associez l’appareil.
3. Une fois votre appareil associé à l’unité, celle-ci émettra un bref son de confirmation.
4. Reproduzca música en forma inalámbrica desde el dispositivo hacia la unidad.
Nota: Versión de Bluetooth 5.1
8
Español
Mantenimiento del tocadiscos
1. No toque la punta de la aguja fonográfica con los dedos. Evite golpear la aguja fonográfica con el cobertor para el tocadiscos o con el borde del disco.
2. Limpie la aguja fonográfica con frecuencia con un cepillo suave mediante movimientos de atrás hacia adelante.
3. Limpie los discos para quitarles el polvo o la grasa con un cepillo para limpiar discos y con una solución de limpieza para discos.
4. Limpie el gabinete con un paño de microfibras ligeramente humedecido. Nota: No utilice otros limpiadores que contengan alcohol, benceno o cualquier otro químico agresivo que pueda dañar la pintura y la terminación del tocadiscos. ** Crosley ofrece una línea de productos de distintos accesorios de limpieza. Para obtener más información acerca de los productos de limpieza, consulte a un comerciante o visite nuestro sitio web www.crosleyradio.com.
Solución de problemas
La unidad no enciende. · El transformador no está conectado correctamente. · No hay energía en el tomacorriente. El equipo está encendido pero la bandeja no gira. · Se ha salido la correa de transmisión del tocadiscos. · Le tourne-disque est en mode Bluetooth. El tocadiscos gira pero no emite sonidos o los sonidos no son lo suficientemente fuertes. · El protector de la aguja fonográfica aún está colocado.
9
Español
Declaraciones de la FCC
Este dispositivo cumple con la Sección 15 de las reglas de la Comisión Federal de Comunicaciones (FCC). El uso de este equipo está sujeto a las dos condiciones siguientes: (1) Este dispositivo no causa interferencia perjudicial y (2) este dispositivo debe aceptar cualquier interferencia recibida, incluso interferencia que pueda causar un funcionamiento no deseado. Nota: Este equipo se verificó y se comprobó que cumple con los límites para un dispositivo digital clase B, conforme a la Sección 15 de las reglas de la Comisión Federal de Comunicaciones (FCC). Estos límites están diseñados para brindar una protección razonable frente a interferencia perjudicial en un establecimiento residencial. Este equipo genera, usa y puede irradiar energía de radiofrecuencia y, si no se instala y utiliza siguiendo las instrucciones, puede causar interferencia perjudicial a las radiocomunicaciones. Sin embargo, no existe garantía de que la interferencia no ocurrirá en una instalación en particular. Si este equipo causa interferencia perjudicial a las radiocomunicaciones o a la recepción televisiva, lo que se puede determinar al encender y apagar el equipo, se recomienda que el usuario intente corregir la interferencia mediante una o más de las siguientes medidas: – Reorientar o reubicar la antena de recepción. – Aumentar la separación entre el equipo y el receptor. – Conectar el equipo a una toma en un circuito diferente del circuito en el que está
conectado el receptor. – Consultar al proveedor o a un técnico con experiencia en radio/TV para obtener ayuda. Nota: El Beneficiario no es responsable de cualquier cambio o modificación que no tenga la aprobación expresa de la parte responsable del cumplimiento. Estas modificaciones podrían anular la autoridad del usuario para operar el equipo. El dispositivo ha sido evaluado para cumplir con el requisito general de exposición a RF. Para mantener el cumplimiento de las pautas de exposición a RF de la FCC, la distancia debe ser de al menos 20 cm entre el radiador y su cuerpo, y debe estar totalmente soportada por las configuraciones de instalación y operación del transmisor y su(s) antena(s). DECLARACIÓN DE CONFORMIDAD SIMPLIFICADA DE EU Por la presente, Modern Marketing Concepts Inc., que opera bajo la denominación comercial de Crosley Brands, declara que el tipo de equipo de radio cumple con la Directiva 2014/53/UE. El texto completo de la declaración de conformidad de la UE está disponible en la siguiente dirección de Internet: http://crosleybrands.com/euDoC
10
T160A Tourne-disque stéréo Manuel d’utilisation
Des questions, problèmes, pièces manquantes? Avant de retourner au magasin, appelez le service à la clientèle
De 8 h à 18 h, HNE, du lundi au vendredi 1-888-CROSLEY
www.crosleyradio.com
Français
Instructions de sécurité
Veuillez lire et comprendre l’intégralité de ce manuel avant d’utiliser ce produit. Conservez ces instructions pour pouvoir les consulter ultérieurement. 1. Ne pas utiliser ce produit près de l’eau. 2. Ce produit doit être alimenté uniquement par le type de source
d’alimentation indiqué sur l’étiquette ou dans le présent manuel d’utilisation. 3. Ne pas tenter de modifier le dispositif de sécurité que constitue la fiche
polarisée. Une fiche polarisée a deux lames, l’une étant plus large que l’autre. Cette fiche peut être insérée dans une prise électrique d’une seule façon. S’il est impossible d’insérer la fiche complètement dans la prise, inverser la fiche. Si la fiche ne peut toujours pas s’insérer entièrement, contacter un électricien. 4. Faire en sorte que personne ne marche sur le cordon d’alimentation ou que ce dernier ne soit pas pincé, notamment au niveau des fiches, des prises murales et du point de sortie du produit. 5. Ne pas surcharger les prises murales, cordons de rallonge ou prises de courant intégrales, car cela pourrait entraîner un risque d’incendie ou de décharge électrique. 6. Ne jamais pousser d’objets, quelle que soit leur nature, dans les ouvertures, car ils pourraient toucher des points de tension dangereux ou court-circuiter des pièces, ce qui pourrait entraîner un incendie ou une décharge électrique. Ne jamais renverser de liquide, quelle qu’en soit la nature, sur le produit. 7. Ne pas tenter de réparer ce produit vous-même, car couvrir ou ôter des couvercles pourrait vous exposer à une tension dangereuse ou à d’autres dangers. Faire appel à une personne qualifiée pour toutes les réparations. 8. Les changements ou les modifications non approuvés expressément par la partie responsable de la conformité pourraient annuler le droit de l’utilisateur de faire fonctionner le matériel. 9. Ne pas utiliser d’accessoires non recommandés par le fabricant du produit, car ils pourraient causer des dommages. 10. Il est important de déplacer avec prudence le produit s’il se trouve sur un chariot. Les arrêts brusques, une force excessive et les surfaces inégales peuvent entraîner le retournement du produit sur un chariot. 11. Des fentes et ouvertures sont présentes dans le boîtier pour la ventilation, pour assurer un fonctionnement fiable du produit et pour le protéger d’une surchauffe. Ne pas bloquer ou couvrir ces ouvertures. 12. Débrancher le produit pendant un orage ou lorsqu’il est inutilisé pendant une période prolongée.
2
Français
Contenu de la trousse
Avant de jeter les emballages, veuillez les passer en revue minutieusement et vérifier que vous avez les éléments suivants fournis dans cette trousse :
· Tourne-disque · Tapis antidérapant du tourne-disque · Adaptateur 45 tours · Fil de haut-parleur · Adaptateur d’alimentation
Veuillez contacter le service à la clientèle de Crosley s’il manque des accessoires dans la trousse. Conservez les emballages d’origine pour procéder à un échange ou à un retour.
Spécifications
Alimentation Consommation électrique Haut-parleur Vitesse du tourne-disque Aiguille de rechange
Adaptateur c.a., sortie c.c. 12 V 2,5 A 24 W 4″, 4, 8W x 2 331/3, 45 T/M
Crosley NP-15
Remarque : · La conception et les spécifications sont sujettes à modification sans préavis.
3
Français
Description du produit
1. Plateau du tourne-disque 2. Broche du tourne-disque 3. Contrepoids du bras de lecture 4. Levier de bras de lecture 5. Support du bras de lecture 6. Sélecteur d’alimentation 7. Bras de lecture 8. Bouton de fonction 9. Variateur de vitesse
10. Bouton de volume 11. Voyant d’alimentation 12. Entrée de mise à la terre 13. Prises RCA 14. Commutateur Phono/Line 15. Prise d’alimentation 16. Bornes de sortie haut-parleurs 17. Bornes d’entrée haut-parleurs 18. Adaptateur 45 tours
4
Français
Configuration initiale
Configuration de base 1. Placez l’appareil sur une surface plane. L’emplacement choisi doit être stable
et sans vibration. 2. Retirez l’attache qui retient le bras de lecture. 3. Installez comme il se doit le plateau du tourne-disque et la courroie
d’entraînement. 4. Placez le tapis antidérapant sur le plateau du tourne-disque. 5. Faites glisser le contrepoids du bras de lecture sur l’axe
arrière du bras de lecteur et poussez-le aussi près que possible du point d’arrêt. Cela définira automatiquement la force de portance négative de l’aiguille pour correspondre à l’aiguille ajustée en usine (2,5 g 3,5 g). 6. Utilisez le fil de haut-parleur pour raccorder les bornes d’entrée des hautparleurs de gauche et de droite aux bornes de sortie respectives du tournedisque. Assurez-vous que les canaux de gauche et de droite sont correctement raccordés. 7. Branchez l’adaptateur c.a. à la prise d’alimentation de l’appareil.
Remarque : Ne branchez pas l’adaptateur c.a. à la prise avant la fin du montage. Avant d’allumer l’appareil, vérifiez à nouveau que tous les paramètres des branchements sont corrects. Mettez toujours l’appareil hors tension lorsque vous effectuez ou supprimez des branchements.
Configuration du plateau du tourne-disque et de la courroie 1. Installez la courroie d’entraînement sur la bague intérieure sous le plateau et
vérifiez qu’elle ne tombe pas pendant la configuration. 2. Passez le plateau par la broche du tourne-disque, puis faites pivoter le
plateau jusqu’à voir la poulie du moteur à entraînement par la fenêtre dans l’angle supérieur droit. 3. Attrapez soigneusement la courroie d’entraînement et positionnez-la autour de l’encoche de la poulie du moteur.
5
Français
Commutateur Phono/Line (Phono/ligne)
Pour plus de flexibilité d’utilisation, cet appareil dispose d’un préamplificateur phono intégré. Si vous préférez utiliser l’entrée phono de votre système stéréo ou votre préamplificateur phono indépendant, mettez le commutateur Phono/Line (Phono/ligne) en position PHONO (PHONO). Sinon, veuillez le mettre en position LINE (LIGNE) et effectuez le branchement sur l’entrée AUX ou une autre entrée de niveau élevé de votre système stéréo.
Branchement du système stéréo
Prises RCA · Les prises RCA de cet appareil peuvent être utilisées comme prises de sortie
phono ou prises de sortie de ligne. Ceci est déterminé à l’aide du commutateur téléphone/ligne. · Pour vous connecter aux haut-parleurs actifs, réglez le commutateur Phono/Line sur le paramètre Line. Pour vous connecter à un préampli phono ou à l’entrée phono d’un système stéréo, réglez le commutateur Phono/Line sur le réglage Phono. · La prise rouge se branche sur le canal droit et la prise blanche se branche sur le canal gauche. Remarque : – Si le commutateur Phono/Line (Phono/ligne) est en position LINE (LIGNE), mais
que les prises RCA sont branchées à l’entrée phono du système stéréo, le son peut être déformé à cause d’une surcharge de l’entrée et cela pourrait endommager votre système stéréo. – Si le commutateur Phono/Line (Phono/ligne) est en position PHONO (PHONO), mais que la prise RCA est branchée à l’entrée ligne du système stéréo, le volume sera très bas à cause de l’absence de préamplification du signal. – La prise RCA n’est pas conçue pour être branchée directement aux haut-parleurs passifs/qui ne sont pas sous tension, et si cela arrive, le volume sera très bas.
Bornes des haut-parleurs avec attache à ressort Pour connecter les haut-parleurs inclus avec ce système ou d’autres hautparleurs passifs, connectez une extrémité du fil de haut-parleur inclus avec cet emballage à l’arrière des haut-parleurs et l’autre extrémité aux bornes de sortie des haut-parleurs. Pour ce faire, retournez les pinces à ressort en position ouverte, insérez le fil du haut-parleur et retournez les pinces à ressort en position fermée. Réglez le commutateur Phono/Line sur le paramètre Line.
6
Français
Utilisation du tourne-disque
1. Appuyez sur l’interrupteur d’alimentation pour mettre l’appareil sous tension. 2. Mettez le bouton de fonction sur 33 1/3 ou 45 tours pour choisir la vitesse du
tourne-disque. Utilisez l’adaptateur 45 tours si besoin 3. Placez le disque sur le tourne-disque. 4. Retirez la protection du stylet de son assemblage.
Remarque : Pour éviter d’endommager le stylet, vérifiez que la protection intégrée du stylet est bien en place lorsque vous déplacez ou nettoyez le tourne-disque. 5. Relâchez le clip du bras de lecture. Remarque : lorsque la platine n’est pas utilisée, n’oubliez pas de verrouiller le clip de maintien. 6. Utilisez le levier du bras de lecture pour soulever le bras de lecture. 7. Déplacez doucement le bras de lecture sur le disque où la lecture doit commencer. Remettez le levier du bras de lecture en position basse, le bras de lecture descendra lentement sur le disque et commencera la lecture. 8. Lorsque la lecture du disque est terminée, utilisez à nouveau le levier du bras de lecture pour soulever le bras de lecture, puis replacez-le sur le reposebras de lecture. Relâchez le levier pour laisser le bras de lecture se reposer. Pour suspendre la lecture, répétez les mêmes étapes. 9. Verrouillez le clip du bras de lecture pour fixer le bras de lecture.
Variateur de vitesse
Il est possible d’augmenter ou de réduire la vitesse du tourne-disque d’environ 10 % en tournant le bouton de réglage de vitesse. Pour augmenter la vitesse, tournez le bouton de réglage de vitesse dans le sens horaire. Pour réduire la vitesse, tournez la molette de réglage de vitesse dans le sens anti-horaire.
7
Français
Remplacement de l’aiguille
Retrait de l’aiguille 1. Tenez doucement les deux côtés de l’aiguille. 2. Tirez doucement l’aiguille vers l’avant et retirez-la.
Installation de l’aiguille 1. Positionnez l’aiguille avec la pointe vers le bas. 2. Alignez l’arrière de l’aiguille avec la cartouche. 3. Remettez l’aiguille en place.
Utilisation du Bluetooth
1. Mettez le bouton de fonction sur le mode Bluetooth ; le voyant d’alimentation devient bleu et clignote.
2. Activez la fonction Bluetooth de votre appareil audio, recherchez « CROSLEY T160A » et associez l’appareil.
3. Une fois votre appareil associé à l’unité, celle-ci émettra un bref son de confirmation.
4. Lire et diffuser de la musique en continu de votre appareil sur l’unité. Remarque : Versions de Bluetooth 5,1
8
Français
Entretien du tourne-disque
1. Ne pas toucher l’extrémité du stylet avec vos doigts. Éviter de cogner le stylet sur le tapis du tourne-disque ou le bord du disque.
2. Nettoyer souvent le stylet avec une brosse douce dans un mouvement d’arrière vers l’avant uniquement.
3. Nettoyer les disques pour retirer la poussière ou la graisse avec une brosse de nettoyage pour disque et une solution nettoyante pour disque.
4. Nettoyer le boîtier du tourne-disque avec un chiffon microfibre légèrement humide. Remarque : Ne pas utiliser d’autre nettoyant contenant de l’alcool, du benzène ou tout autre produit chimique nocif qui pourrait endommager la peinture et la finition du tourne-disque.
** Crosley propose toute une gamme d’accessoires de nettoyage. Veuillez contacter votre détaillant ou consulter notre site Web www.crosleyradio.com pour obtenir plus d’informations sur les produits de nettoyage.
Dépannage
L’appareil ne s’allume pas · L’adaptateur d’alimentation n’est pas branché correctement. · Aucune alimentation au niveau de la prise électrique.
L’appareil est allumé, mais le plateau ne tourne pas · La courroie d’entraînement du tourne-disque a glissé. · Le tourne-disque est en mode Bluetooth.
Le tourne-disque tourne, mais il n’y a pas de son ou le son n’est pas suffisamment fort. · La protection du stylet n’a pas été enlevée.
9
Français
Déclarations relatives à la FCC
Cet appareil est conforme à la partie 15 des règles de la FCC. Son fonctionnement est assujetti aux deux conditions suivantes : (1) Cet appareil ne peut causer des interférences nuisibles et (2) cet appareil doit accepter toute interférence reçue, y compris celles susceptibles de causer un fonctionnement indésirable. Remarque : Ce matériel a été testé et jugé en conformité avec les limites pour un appareil numérique de Classe B, conformément à la partie 15 des règles de la FCC. Ces limites ont été établies pour offrir une protection raisonnable contre l’interférence nuisible dans une installation résidentielle. Cet appareil produit, utilise et peut émettre de l’énergie de fréquence radio et, s’il n’est pas installé et utilisé conformément aux instructions, il peut provoquer de l’interférence nuisible aux communications radio. Toutefois, il n’existe aucune garantie qu’il n’y aura pas d’interférence dans une installation particulière. Si ce matériel cause de l’interférence nuisible à la réception radio ou de télévision, qui peut être déterminée en allumant et en éteignant le matériel, il est conseillé à l’utilisateur de tenter de remédier à l’interférence par l’un ou plusieurs des moyens suivants : Réorienter ou déplacer l’antenne de réception. Augmenter la distance entre le matériel et le récepteur. Brancher le matériel à une prise sur un circuit différent de celui du récepteur. Consulter le détaillant ou un technicien de radios ou de téléviseurs qualifié pour obtenir
de l’aide. Remarque : Le concessionnaire n’est pas responsable des modifications qui ne sont pas expressément approuvées par la partie responsable de la conformité. De telles modifications pourraient annuler l’autorité de l’utilisateur à utiliser l’équipement. L’appareil a été évalué pour respecter les exigences générales en matière d’exposition aux RF. Pour assurer la conformité aux directives de la FCC en matière d’exposition aux radiofréquences, la distance doit être d’au moins 20 cm entre le radiateur et votre corps et être entièrement soutenue par les configurations de fonctionnement et d’installation de l’émetteur et de ses antennes. DÉCLARATION DE CONFORMITÉ DE L’EU SIMPLIFIÉE Par la présente, Modern Marketing Concepts Inc. dba Crosley Brands déclare que le type d’équipement radio est conforme à la directive 2014/53/UE. Le texte intégral de la déclaration de conformité de l’UE est accessible à l’adresse Internet suivante. http://crosleybrands.com/euDoC
10





















