CROSLEY CR3042A-BK 10W Maverick Turntable
Safety Instructions
Read and understand this entire manual before using this product. Keep these instructions for future reference.
- Do not use this product near water.
- This product should be operated only by the type of power source indicated on the marking label or in this instruction manual.
- Do not defeat the safety purpose of the polarized plug. A polarized plug has two blades with one blade wider than the other. This plug will fit into the power outlet only one way. If you are unable to insert the plug fully into the outlet try reversing the plug. If the plug should still fail to fit, contact your electrician.
- Protect the power cord from being walked on or pinched particularly at plugs, convenience receptacles, and the point where they exit from the product.
- Do not overload wall outlets, extension cords, or integral convenience receptacles as this can result in a risk of fire or electric shock.
- Never push objects of any kind into this product through openings as they may touch dangerous voltage points or short-out parts that could result in a fire or electric shock. Never spill liquid of any kind on the product.
- Do not attempt to service this product yourself as opening or removing covers may expose you to dangerous voltage or other hazards. Refer all servicing to qualified service personnel.
- Changes or modifications to this unit not expressly approved by the party responsible for compliance could void the user’s authority to operate the equipment.
- Do not use attachments not recommended by the product manufacturer as they may cause hazards.
- A product and cart combination should be moved with care. Quick stops, excessive force, and uneven surfaces may cause the product and cart combination to overturn.
- Slots and openings in the cabinet are provided for ventilation and to ensure reliable operation of the product and to protect it from overheating. Do not block or cover these openings.
- Unplug the product during lightning storm or when unused for long periods of time.
Items in this package
Before throwing away any packaging materials, please check thoroughly and make sure you find the following items that come along with this package:
- Radio
- 3.5mm aux in cable
- Power adaptor
Please contact Crosley customer service if there is any accessory missing from the package. Retain the original packaging materials for exchange or return purposes.
Specifications
Power: AC power adaptor, DC output 9V 1A AA Batteries X 6 (Not Included)
Power consumption: 10 W
Speaker: 4Ω, 5W
Note:
- Design and specifications are subject to change without notice.
- To help save power consumption, some models will comply with ERP energy-saving standards. When there is no audio input for 20 minutes, their powers will automatically cut off. To turn the power back on and resume playing, you will need to turn off the power and turn it on again.
Product Description
- Dial Scale
- Function Indicator
- Multifunction Knob
- Tuning Knob
- Radio Indicator

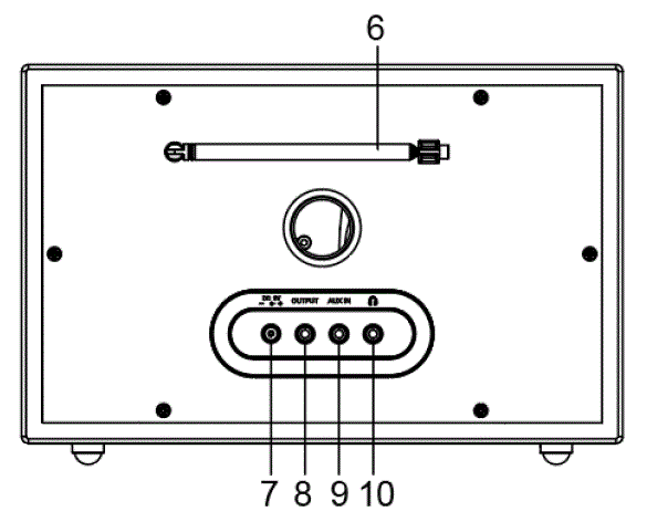
- Antenna
- power Jack
- Aux Out Jack
- Aux In Jack
- Headphone Jack

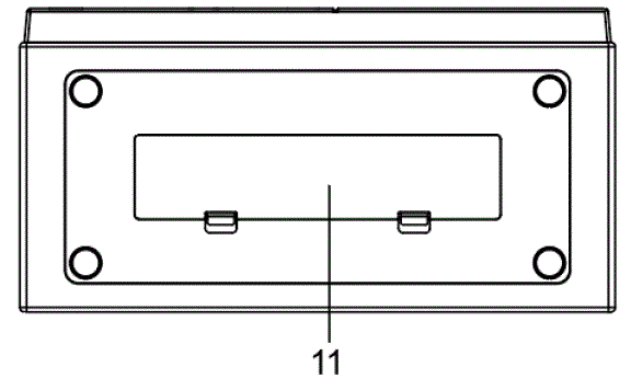
- Battery Compartment

Initial Setup
Essential Setup
- Place the unit on a flat and level surface. The selected location should be stable and free from vibration.
- Connect AC adaptor to the Power Jack of the unit.
Note: Do not plug the AC power adaptor to power outlet before all the assembly is completed. Before turning the power on, make sure again all the connection settings are correct. Always turn off the power when connecting or disconnecting.
Battery Backup
- Press in on the locking tab to remove the battery cover.
- Insert 6 AA battery into the battery compartment.
- Tuck the battery back into the battery compartment and replace the battery cover.
Turning the Unit on and off
Long press the Multifunction Knob to turn on the unit. The function indicator will be blue.
Long press the Multifunction Knob to turn off the unit. The function indicator will turn off
Volume Control
Rotate the Multifunction Knob clockwise and counterclockwise to raise and lower the volume.
Auxiliary Connections
Aux In Connection
You can connect an audio device to this unit and play your music through its speakers.
To do this, connect the 3.5mm auxiliary cable between your audio device and the Aux In Jack of this unit, short press the Multifunction Knob repeatedly to select the Aux Mode, and start playing the music.
Note:
The Function Indicator will be red.
Aux Out Connection
- If needed to, first insert one end of the 3.5mm auxiliary cable into the AUX Input jack on your powered speakers according to their user manual.
- Insert the other end of the 3.5mm auxiliary cable into the AUX Output jack on the radio.
- Short press the Multifunction Knob repeatedly to select the Aux Mode
Bluetooth Operation
- Short press the Multifunction Knob repeatedly to select the Bluetooth Mode. Note: The function indicator will be blue.
- Turn on the Bluetooth feature of your audio device, search for “CROSLEY CR3042A” and pair.
- Once your device is successfully paired with the unit, you will hear a short confirmation sound from the unit, and the function indicator will be blue.
- Play and stream music from your device to the unit.
Note: Bluetooth version – 5.1
Radio Operation
- Short press the Multifunction Knob repeatedly to select the AM Mode (Radio Indicator will be Orange) or FM Mode (Radio Indicator will be Green).
- Rotate the Tuning Knob for desired radio station.
Note:- The AM antenna is built inside the unit. If AM reception is poor, try to rotate the unit for better reception.
- If the FM reception is poor, extend the FM Antenna on the back of the unit for better reception.
Troubleshooting
There is no power
- Power adaptor is not connected correctly.
- No power at the power outlet.
- To help save power consumption, some models will comply with ERP energy-saving standards. When there is no audio input for 20 minutes, their powers will automatically cut off. To turn power back on and resume playing, turn off the power and turn it on again.
FCC Statements
This device complies with part 15 of the FCC Rules. Operation is subject to the following two conditions:
- This device may not cause harmful interference, and
- this device must accept any interference received, including interference that may cause undesired operation.
Note: This equipment has been tested and found to comply with the limits for a Class B digital device, pursuant to part 15 of the FCC Rules. These limits are designed to provide reasonable protection against harmful interference in a residential installation. This equipment generates, uses and can radiate radio frequency energy and, if not installed and used in accordance with the instructions, may cause harmful interference to radio communications. However, there is no guarantee that interference will not occur in a particular installation. If this equipment does cause harmful interference to radio or television reception, which can be determined by turning the equipment off and on, the user is encouraged to try to correct the interference by one or more of the following measures:
- Reorient or relocate the receiving antenna.
- Increase the separation between the equipment and receiver.
- Connect the equipment into an outlet on a circuit different from that to which the receiver is connected.
- Consult the dealer or an experienced radio/TV technician for help.
Note: The Grantee is not responsible for any changes or modifications not expressly approved by the party responsible for compliance. such modifications could void the user’s authority to operate the equipment.
RF warning for Portable
device: The device has been evaluated to meet general RF exposure requirements. The device can be used in portable exposure conditions without restriction.
SIMPLIFIED EU DECLARATION OF CONFORMITY
Hereby, Modern Marketing Concepts Inc. dba Crosley Brands, declares that the radio equipment type is in compliance with Directive 2014/53/EU. The full text of the EU declaration of conformity is available at the following internet address: http://crosleybrands.com/euDoC
























