

Wireless Kinetic DoorBell
User Guide
Product Description:
This Wireless Kinetic doorbell employs micro-energy acquisition technology to provide battery-free installation and use.
The ease of installation, IP67 waterproof rating, and various ring tones, make the Door Bell the ideal choice. 
Specifications:
- Operating Voltage:AC100V-240V 50/60Hz
- Power Supply: Self-Powered
- Communication: RF 433MHz
- Working Range: 100m(Outdoors)40m(Indoors)
- Volume Level: 4 levels
- Ringtones: 38 songs optional
- Temperature Range: -20°C ~+55
- Storage Capacity: * The receiver can be paired with up to 10 Doorbell Transmitters
- One doorbell Transmitters can be paired with an unlimited number of receivers
Installation:
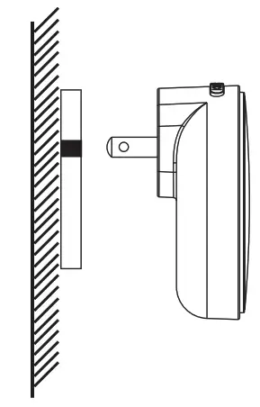
- Plug the doorbell receiver directly into the electrical socket and it will ring once after the power is on. This product is suitable for indoor use only. Please avoid using it in high temperatures, high humidity, dusty, and strong electromagnetic interference environments.(It is recommended to install it above 50cm from the ground, otherwise, the signal will be weakened.)

- Use 3M stickers paste the Transmitter: Tear off the 3M sticker on the back of the Transmitter and then paste it on the fixing part.(Do not stick on a metal door, otherwise, it will affect the signal.)
Or use screws to install the Transmitter:
Mark the screw holes with the help of the enclosed
Attach the wall plate with the included screws;
Attach the Transmitter onto the wall plate by sliding it top-down;
3. To remove the Transmitter from the plate, please use a small screwdriver to push into the small hole at the bottom of the Transmitter and then pry upwards lightly. The Transmitter will slide up and out of the wall plate.
Receiver keys’ Function:

Pairing Method:
- The Transmitter and Receiver in your package are already paired. If more than one Transmitter or Receiver is required to be paired, please follow the below steps:

b. Press the Transmitter once and the light will go off. This means that the pairing is successful.
Receiver clear Pairing:
Power cut memory
After a power cut the doorbell memorizes the last set ringtone and ring volume.
Silent mode
When the volume is lowest, it defaults to silent mode.
Restore the default state
Press the Volume key for 3 seconds, then the ring tone and volume will be restored to the initial state.
FCC Warning
This device complies with part 15 of the FCC Rules. Operation is subject to the following two conditions: (1) This device may not cause harmful interference, and (2) this device must accept any interference received, including interference that may cause undesired operation. Note: This equipment has been tested and found to comply with the limits for a Class B digital device, pursuant to part 15 of the FCC Rules. These limits are designed to provide reasonable protection against harmful interference in a residential installation. This equipment generates, uses, and can radiate radio frequency energy and, if not installed and used in accordance with the instructions, may cause harmful interference to radio communications. However, there is no guarantee that interference will not occur in a particular installation. If this equipment does cause harmful interference to radio or television reception, which can be determined by turning the equipment off and on, the user is encouraged to try to correct the interference by one or more of the following measures:
—Reorient or relocate the receiving antenna.
—Increase the separation between the equipment and receiver.
—Connect the equipment to an outlet on a circuit different from that to which the receiver is connected.
—Consult the dealer or an experienced radio/TV technician for help. Note: The Grantee is not responsible for any changes or modifications not expressly approved by the party responsible for compliance. such modifications could void the user’s authority to operate the equipment.
CERTIFICATE INSPECTED
Statement: Wireless kinetic DoorBell is a product of Shenzhen BELONG Technology Co., Ltd. The product specification and information are for reference only. Update of content will not be further notified. Except for special agreement, information from this manual shall not constitute any form of responsibility. Without written approval from Shenzhen BELONG Technology Co., Ltd, no unit is allowed to copy, or translate any content from this manual, and shall not in any form or by any means(electronic, mechanical photocopying, recording etc) diffuse product information for commercial profit purposes.

Shenzhen BELONG Technology Co., Ltd.
Address:4th Floor, Building 2, Hengmingzhu Shajing Industrial Park, Xiangxing Road, Baoan, Shenzhen,
Guangdong, China 400 Te1:400 0000 362
TEL:+86-755-2788-8758
Copyright @ 2014-2022 Shenzhen BELONG Technology Co., Ltd

Or use screws to install the Transmitter:
Mark the screw holes with the help of the enclosed
Attach the wall plate with the included screws;
Attach the Transmitter onto the wall plate by sliding it top-down;

b. Press the Transmitter once and the light will go off. This means that the pairing is successful.















