PEREL EDB7 Wireless Doorbell

Introduction
To all residents of the European Union Important environmental information about this product
This symbol on the device or the package indicates that disposal of the device after its lifecycle could harm the environment. Do not dispose of the unit (or batteries) as unsorted municipal waste; it should be taken to a specialized company for recycling. This device should be returned to your distributor or to a local recycling service. Respect the local environmental rules.
If in doubt, contact your local waste disposal authorities.
Thank you for choosing Perel! Please read the manual thoroughly before bringing this device into service. If the device was damaged in transit, do not install or use it and contact your dealer.
Safety Instructions
![]() | Keep this device away from children and unauthorized users. |
![]() | Indoor use only. Keep this device away from rain, moisture, splashing and dripping liquids. |
General Guidelines
Refer to the Velleman® Service and Quality Warranty on the last pages of this manual.
![]() | Keep this device away from children and unauthorized users. |
![]() | Protect this device from shocks and abuse. Avoid brute force when operating the device. |
- Familiarise yourself with the functions of the device before actually using it.
- All modifications of the device are forbidden for safety reasons. Damage caused by user modifications to the device is not covered by the warranty.
- Only use the device for its intended purpose. Using the device in an unauthorised way will void the warranty.
- Damage caused by disregard of certain guidelines in this manual is not covered by the warranty and the dealer will not accept responsibility for any ensuing defects or problems.
- Due to constant product improvements, the actual product appearance might differ from the shown images.
- Product images are for illustrative purposes only.
- Do not switch the device on immediately after it has been exposed to changes in temperature. Protect the device against damage by leaving it switched off until it has reached room temperature.
- Keep this manual for future reference.
Features
- easy installation without any damage thanks to the wireless system
- 36 melodies and adjustable volume (high – medium – low)
- comes with visual indication function
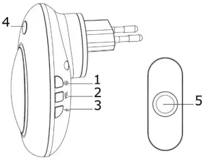
Overview

1 | auto-learning code |
2 | volume |
3 | melody |
4 | visual indication |
5 | push button |
Battery Installation

- Open the transmitter to reveal the battery compartment. To do so, slightly push the tab at the bottom of the transmitter using a small flat-bladed screwdriver.
- Install the CR2032 battery according to the correct polarity.
- Close the battery compartment.
Remark: Remove the batteries if the transmitter will not be used for a longer period.
![]() | CAUTION: Danger of explosion if battery is incorrectly replaced. Replace only with the same or equivalent type. Batteries (battery pack or batteries installed) shall not be exposed to excessive heat such as sunshine, fire or the like. Where the mains plug is used as the disconnect device, the disconnect device shall remain readily operable.Do not puncture batteries or throw them in fire as they may explode. Do not attempt to recharge non-rechargeable batteries (alkaline). Dispose of batteries in accordance with local regulations. Keep batteries away from children. |
Installation
![]() | Test the operating range between the receiver and the transmitter. The operating range is 100 m in the open air, but may be less due to walls and other obstructions such as PVC or metal frames. |
Installing the Transmitter

- Carefully open the housing of the transmitter and use the back plate as a template. Mark the drilling holes at the required height.
- Drill the holes using a drill and the appropriate drill bit (not included).
- Insert a nylon plug (included) into each hole.
- Fix the back plate with the included screws. Click the front plate onto the back plate.
Remark: You can also fix the transmitter using double-sided tape.
Installing the Receiver
Simply plug the receiver into the mains.
Operation
Pairing the Transmitter to the Receiver
- Make sure both the receiver and transmitter are powered.
- Press the auto-learning code button on the receiver. Then, press the push button on the transmitter. The receiver will sound to indicate that the operation code has been registered. One single receiver can memorize up to four different transmitters. Note that you also can pair one transmitter to multiple receivers.
![]() | If the receiver sounds for no reason during pairing, it could be due to interference. In this case, please reset the code as per above. |
Other Functions
Adjust the volume level, select the melody and activate the visual indication by pressing the appropriate button.
Technical Specifications
| operating distance | ± 100 m (in open field) |
| frequency | 433.92 MHz |
| ringing volume | > 80 dB (within 0.5 m) |
| reception sensitivity | ≥ 80 dBm |
| transmitting power | ≤ 10 mw |
| transmitting current | < 10 mA |
| digital code | auto-learning |
| dimensions | |
| chime (H x W x D) | 110 x 70 x 45 mm (without socket) |
| transmitter (H x W x D) | 85 x 32 x 20 mm |
| power supply | |
| receiver | 90-240 V~, 50/60 Hz, 2.2 W |
| transmitter | 1 x CR2032 3 V lithium battery (incl.) |
| options | lithium CR2032 3.0 V, 230 mAh battery (CR2032C) |
Use this device with original accessories only. Velleman nv cannot be held responsible in the event of damage or injury resulting from (incorrect) use of this device. For more info concerning this product and the latest version of this manual, please visit our website www.perel.eu. The information in this manual is subject to change without prior notice.
RED Declaration of Conformity
Hereby, Velleman NV declares that the radio equipment type [EDB7] is in compliance with Directive 2014/53/EU.
The full text of the EU declaration of conformity is available at the following internet address: www.velleman.eu.
| © COPYRIGHT NOTICE The copyright to this manual is owned by Velleman nv. All worldwide rights reserved. No part of this manual may be copied, reproduced, translated or reduced to any electronic medium or otherwise without the prior written consent of the copyright holder. |























