Plamen Alberto Cast Iron Stove

DECLARATION OF CONFORMITY
We hereby declare that this product meets all relevant criteria of the standard
EN 13 240:2001/A2:2004/AC:2007-08, and has marking affixed to it in accordance with the Council Directive EU 305/2011.

HR-34000 Požega, Njemačka 36
tel.: +385 (0)34 254 600, 254 602, fax: +385 (0)34 254 710 www.plamen.hr
Dear customers,
First of all, we would like to take this opportunity and thank you for choosing our product. The stove you have purchased is your valuable property and that is why we would like to you to take a few minutes and carefully study the following Instructions which will allow you to make the best of the product.
TECHNICAL DESCRIPTION AND DATA
Alberto is a product designed by following the latest trends and features simplicity of modern lines easily adjustable to various spaces. The stove is made of gray cast and is enameled to give it a rich tone. The large glass door shows the complete firebox, resulting in a full sensation of open fire. The specific primary and secondary air supply leaves the glass clear while the fire is burning.
TECHNICAL DATA
- MEASUREMENTS WxHxD: 63×82,9×44,1 cm
- WEIGHT: 140 kg
- NOMINAL OUTPUT: 8,6 kW
- PRODUCTION according to EN 13 240: 1a
- FLUE GAS DISCHARGE: 150 mm

The firebox features a door made in transparent ceramic glass resistant to temperatures up to 700°C. This type of glass allows a wonderful view of the fire while preventing the appearance of sparks and smoke at the same time. The furnace is equipped with a primary and secondary air regulator that regulates the air combustion, and therefore its power as well.
Primary / Secondary air flow regulator
The regulator regulates the air flow through the ash tray and roast grid in the fuel direction. The primary air flow is necessary for the combustion process. The ash tray has to be cleaned regularly in order to prevent the ash from forming obstacles for the primary airflow. The secondary air is supplied to the back of the furnace by pulling the regulator. It is also necessary for the combustion of wood, so that the unburned carbon can undergo another process of subsequent combustion. During the wood burning process, the air regulator must be slightly open, otherwise the wood will burn quickly and the furnace may overheat. The secondary airflow direction regulator is located above the firebox door.
INSTRUCTIONS FOR INSTALLATION
The stove installation has to be performed in accordance with all the valid standards, laws and regulations. We advise you to ask your chimney sweeper to supervise and check the stove installation, as well as the sufficient airflow required for combustion process. We recommend the use of standard flue pipes and elbows with flap valves. The flue pipes have to be fixed securely and tightly to the stove flue and to the chimney.
When installing the stove the following safety measures are to be observed:
- minimal requirements for safe distance of the rear and lateral space from flammable and objects sensitive to heat (e.g. furniture, wood surfaces, fabrics, etc.) (see Illustration 4A) in order to secure sufficient heat isolation. All minimal safety distances are brought on the enameled plate and are not to be modified.
- no flammable or fire sensitive objects and materials are to be placed nearer than the 120 cm distance in front of the stove.
- if the stove is to be placed on a flammable base, the base should be secured with a non-flammable one, e.g. a steel base. This type of base has to protrude at least 60 cm in the front and at least 40 cm on the lateral sides, taking into consideration additional space for opening the front door (Illustration 4B).
Recommended minimum distance from non-flammable surfaces is 300 mm.
In case the pipe connection crosses over sections made of flammable objects, all of them have to be replaced by temperature-resistant materials in the radius of 20 cm around the pipe.
In order for the stove to operate efficiently, it is necessary to supply the position in which the stove is placed with enough airflow required for combustion. The furnace has the ability to supply the air from the outside through the air intake. If this option is not used, the furnace will use the air from the room where it is installed, and it is extremely important that there is sufficient air supply in such a room. In cases of sealed windows and doors (as in houses designed for saving energy) there could be a lack of fresh airflow, which can have a negative effect on your comfort, as well as safety. Therefore it is necessary to provide an additional air supply via an outside air suction device and place it near the stove. Kitchen hoods with air extraction (suction) installed in the same or adjacent room to the some causes a drop in pressure, causing the combustion gases to flow out (thick smoke, smell). Therefore it is necessary to secure a larger fresh airflow.
CHIMNEY
The basic requirements for its proper functioning are:
- circular-shaped inner cross section is recommended,
- thermal isolation and impermeability are required so the materials used are to be temperature resistant,
- there are not to be any narrowing’s, it has to be laid vertically,
- if previously used, it has to be cleaned,
- it has to meet all the technical requirements brought in the Instructions for Installation.
If the chimney is square or rectangle-shaped, its inner edges are to be curved. Too small an inner cross section diminishes the smoke suction capacity. Minimal height of 4m is recommended. Use of asbestos-cement, galvanized steel, rough or porous inner surfaces are not allowed since they reduce its normal operation.

- Poorly designed chimney cap
- An object in the chimney
- Soot deposits
- Flue pipe placed in too deep
- Damage
- Poor sealing on the door for cleaning 7 Opened opening in the chimney
- Poor sealing of the flue pipe and the chimney
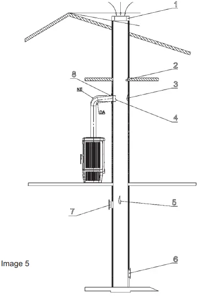
The chimney top is to be placed above the house roof or at least 10° from the top as shown in the illustration.
Minimum cross section is to be 4 dm² (e.g. 20×20 cm) for chimneys with pipe cross section less than 200 mm.
Your chimney has to feature good, but not excessive, smoke suction function. A too small cross section diminishes the smoke suction function. The chimney is to be placed on sufficient distance from all flammable or combustible materials via suitable isolation or air clearance. It is forbidden to place air supply piping’s or canals within the same space. It is also forbidden to place openings for installation of various other appliances in this space. The chimney suction capacity also depends on the cap. The chimney cap has to meet the following requirements:
- inner cross section has to correspond to the chimney cross section,
- the chimney output cross section has to be double the size of the inner,
- it has to be designed so as to prevent inflow of precipitation or any other foreign object into the chimney,
- it has to be easily accessible in order to facilitate cleaning and maintenance.
In cases of two adjacent chimneys, one chimney cap is to be higher than the other for at least 50 cm in order to avoid pressure transference between the two.
The chimney cap cannot feature any obstacles for at least 10 m from the walls, roof slopes and trees.
For chimney dimensioning the following data is valid:
| Nominal thermal power | 8,6 | kW |
| Mass flue gas flow [m] | 10,1 | g/s |
| Mean flue gas temperature | 284 | °C |
| Chimney underpressure at nominal thermal power | 0,11 | mbar |
| Chimney underpressure at 0,8-times nominal thermal power | 0,09 | mbar |
INSTRUCTIONS FOR USE
ALLOWED / NOT ALLOWED FUELS
The stove is aimed for firing wood, i.e. fuel with low ash contents, such as: beech, hornbeam, birch. It would be advisable to keep the wood dry and its moisture less than 20%. When moist wood is fired, soot appears which can clog the chimney. Moist wood hardens the firing process since it requires more energy to evaporate the water. Fresh wood contains up to 60% of water so it is not suitable as fuel. In the event of the use of wood briquettes keep in mind that having a higher calorific value and that the device can be damaged by overheating. The use of the following fuel is not allowed: coal residue, wood residue, wood crust residue, boards, moist wood or paint and varnish treated wood, plastic materials. Do not fire plywood residue since plywood contains glue which can overheat the stove. Firing these residue materials is prohibited by law and can damage both the stove and the chimney, as well as have negative effects on human health. In case you use these materials, the stove warranty is no longer valid. Paper and cardboard are to be applied for kindling only. Wood is not long-burning and will not keep the stove hot overnight.
The recommended quantities for fuel which is to be added only once:
Chopped wood ( approx. 33 cm long) 2 to 3 pieces approx. 3 kg/h
Large fuel quantities can leave the glass door partially dirty. FIRING
WARNING! Do not use alcohol and petrol or for ignition or re-ignition.
Since the stove is made in gray cast, it is necessary to take into account that this particular material can feature cracks and fractures due to sudden and uneven thermal load. That is why it is advisable to apply moderate fire at first few firings. At first firing the appearance of unpleasant smell (due to drying glue on sealing’s and protective coat) is inevitabale, but this will vanish after a few uses. In any case, the space should be thoroughly aired. At first firing we advise you to use a smaller quantity of fuel and to slowly increase it. At firing, please pay attention to the following advice:
- make sure the room in which the stove is located is thoroughly aired
- at first firings do not overload the firebox (use about a half of the recommended quantity) 3 repeat the procedure 4 to 5 times
- add more fuel (observing the maximum fuel quantity limitations) and keep the appliance
operating for as long as possible, i.e. avoid short periods of firing and extinguishing, at least in the beginning - the stove surface is to be kept free from any objects at first firings. Painted surfaces are not to be touched during heating.
We advise the use of chopped wood, paper and other firing agents for kindling. Use of liquids, such as spirit, petrol, oil, etc., is strictly forbidden.
When starting the fire, leave the firebox door slightly open (for 4-5 min) in order to avoid moist from condensing on the glass. Do not leave the stove unobserved until the fire is fully burning in order to control the fire. When the fire is burning well, open the regulator on the door and close the door. Under normal functioning the door is to be kept closed, except when wood is added. If your flue pipe features a flap valve, keep it fully open until the fire is fully burning.
The stove is constructed in such a way to allow the glass to be kept clean at all times. The glass can get soothed if combustion is poor. Possible reasons for poor combustion are the following:
- poor chimney quality
- damped airflow
- unsuitable fuel
- the firebox is overloaded
WARNING! The stove will get hot and can be operated only by adults.
USE THE PROTECTIVE GLOVE.
In order to check the combustion, check whether smoke leaving the chimney is transparent. If the smoke is white, the stove is not well regulated or the wood is too moist. If the smoke is gray, the combustion is not full and larger airflow is required. Do not overload the firebox at any time. Overloading the stove and too much airflow for combustion can result in overheating and cause damage to the appliance. Any damages resulting from overheating are not covered by warranty. The stove is to be used only with the supplied ash tray. The combustion residue (ash) has to be collected in an airtight and fireproof container. The stove is not to be fired if there are any gas emissions or steams (e.g. from glue, gas, etc.). Do not place any flammable objects next to the stove.
Thermal power is released at combustion which highly increases the temperature on the door, glass, door handle, regulator and flue pipe surfaces. Do not touch these surfaces without adequate protection or additional equipment (use the protective glove). Inform your children of the hazards and do not allow them access to the stove while it is burning.
FIRING IN TRANSITIONAL PERIODS
During transitional periods, i.e. at higher outdoor temperatures, increased temperatures can result in problems in chimney, which can lead to partial combustion gases suction. Flue gases are not fully sucked (an intensive gassy smell can be observed). In this case shake the grate more frequently and increase the airflow. Add smaller quantities of fuel and make sure it burns quickly in order to stabilize the chimney suction power. Make sure all the openings for cleaning and connections to the chimney are hermetically closed.
CLEANING AND MAINTENANCE
- Have your chimney sweeper check the correct stove installation, as well as all the connections. Use water and soap, non-abrasive and chemically non-aggressive detergents for cleaning all the painted and enameled stove surfaces.
- Use only those spare parts supplied by Plamen d.o.o. Please contact your authorized vendor.
- DO NOT MAKE ANY ALTERATION TO THE STOVE!
- It is advisable to have the complete appliance thoroughly cleaned at least once a year or any time it is needed (due to observed problems with functioning or low efficiency). Cleaning is done only when the stove is completely cold. Make sure all the stove parts are placed back into their respective places following the cleaning procedure.
- Due to the specially designed secondary air flow inlet, the clogging of dirt on the door glass is significantly reduced, although it is impossible to prevent it alltogether if solid fuel (e.g. moist wood) is used and this cannot be regarded as a flaw. The glass is to be cleaned only when the stove is completely cold in order to avoid explosion. Since the glass is fire-resistant and can support temperatures up to 700°C, it can support temperature shocks and can break only due to mechanical impact (impacts, sudden closure of the door, etc.). This is why their replacement is not covered by warranty.
- Store ash from the firebox in the high temperature-resistant tray applied with a tight lid. Place the tray on fire-resistant base located away from flammable materials until all the embers are extinguished and ash is completely cooled.
Plamen d.o.o. cannot be held accountable if the given guidelines are not observed. Plamen d.o.o. disclaims any responsibility for possible damages on objects and/or people due to improper use. It will not be held liable for possible consequences occurring due to unauthorized modifications to the appliance, nor for use of non-original spare parts.
Spare parts – accessories (page 59, Image 6):
| Position | Name of the part | Casting code |
| 18 | Gala Air Extension | PL-18 |
| 19 | Gala handrail | PL-19 |
| 26 | Smoke extension | TE-26 |
| 37 | Dome | PL-37 |
| 38 | Door | PL-38 |
| 39 | Front | PL-39 |
| 40 | Sidewall left | PL-40 |
| 41 | Side right | PL-41 |
| 42 | Side left mask | PL-42 |
| 43 | Side right mask | PL-43 |
| 44 | Mask | PL-44 |
| 45 | Conception | PL-45 |
| 46 | Bottom plate | PL-46 |
| 47 | Rost | PL-47 |
| 48 | The front of the firebox is on the left | PL-48 |
| 49 | Lower bulkhead | PL-49 |
| 50 | Upper bulkhead | PL-50 |
| 51 | Upper board | PL-51 |
| 52 | Rear firebox right | PL-52 |
| 53 | Regulator | PL-53 |
| 54 | Regulator cover | PL-54 |
| 55 | Handle opening cover | PL-55 |
| 200 | Glass holder | DS-200 |
| 604G | Gala regulator holder | PL-604G |
| 609 | Start protection | PL-609 |
| 610 | Ashtray carrier | PL-610 |
| 611 | Ashtray | PL-611 |
| 612 | Air sec regulator | PL-612 |
| 820 | Glass | PL-820 |
| 821 | Door handle | PL-821 |
| Accessories: | ||
| 801 | Poker 50 | |
| 806 | Protective glove with Flame logo – red |
WE RESERVE THE RIGHT TO MODIFICATIONS WHICH WILL NOT AFFECT FUNCTIONALITY AND SAFETY OF THE APPLIANCE!




















