
PARTS LIST
MSD41 (3/4IN)
MSD41 (3/4IN)
POWER SPRAYER (CRANKCASE, INLET VALVE)
| Ref.No. | Parts No. | Parts Name | Q’ty | Remarks |
| 1-Jan | 354051 | MSD41(3/4IN) | 1 | |
| 2-Jan | 548895 | Label | 1 | MSD41 |
| 3-Jan | 547333 | Crankcase | 1 | Incl.5 |
| 4-Jan | 547961 | Oil Filler Cap, Ass’y | 1 | P20 |
| 5-Jan | 14179 | O-Ring | 1 | |
| 6-Jan | 44842 | Plug | 1 | |
| 7-Jan | 14179 | O-Ring | 1 | P20 |
| 8-Jan | 545981 | Crankshaft | 1 | 7.0X19.07 |
| 9-Jan | 15710 | Bearing | 1 | #6204 |
| 10-Jan | 547153 | Bearing Case | 1 | 2SF |
| 11-Jan | 14488 | Bearing | 1 | #6006 |
| 12-Jan | 55337 | Oil Seal | 1 | D30428 |
| 13-Jan | 14041 | O-Ring | 1 | S100 |
| 14-Jan | 547161 | Bolt | 3 | M6X14 |
| 15-Jan | 12385 | Snap Ring | 1 | |
| 16-Jan | 92241 | Oil Gauge Ass’y | 1 | Incl.17 |
| 17-Jan | 44428 | Packing | 1 | 25X34XT2 |
| 18-Jan | 547046 | Connecting Rod | 3 | 2SF38MM |
| 19-Jan | 16948 | Piston Pin | 3 | 9X22 |
| 20-Jan | 541809 | Piston Rod | 3 | |
| 21-Jan | 20017 | Washer | 3 | 17X24XT1.2 |
| 22-Jan | 25461 | Oil Seal | 3 | S10.5247 |
| 23-Jan | 44869 | Seal Retainer | 3 | |
| 24-Jan | 11402 | Oil Wick | 3 | 10X19X5 |
| 25-Jan | 639503 | A Block | 3 | Incl.26-31 |
| 26-Jan | 14122 | Inlet Valve Seat | 3 | 6.1X20XT2.8 |
| 27-Jan | 116121 | Piston Packing | 3 | |
| 28-Jan | 27348 | Spacer | 3 | 6X8.5X10.5 |
| 29-Jan | 119917 | Piston Retainer | 3 | |
| 30-Jan | 15849 | Spring Washer | 3 | M6 |
| 31-Jan | 46365 | Nut | 3 | M6 |
| Jan-32 | 545944 | Manifold A | 1 | |
| Jan-33 | 540670 | U Packing | 3 | |
| Jan-34 | 546860 | Adapter | 6 | |
| Jan-35 | 15862 | O-Ring | 6 | P21 |
| Jan-36 | 23172 | O-Ring | 6 | P22 |
| Jan-37 | 541811 | Cylinder Pipe | 3 | 25X28.5XL43 |
| Jan-38 | 44881 | Valve Seat | 3 | |
| Jan-39 | 544499 | Manifold B | 1 | |
| Jan-40 | 44565 | Valve Sack | 3 | |
| Jan-41 | 548608 | Valve | 3 | 16X1.5 |
| Jan-42 | 541062 | Spring | 3 | 0.6-15L |
| Jan-43 | 544090 | Cap Screw | 6 | M8X110X28 |
| Jan-44 | 548767 | Label | 1 | |
| Jan-45 | 545158 | Label | 1 |
MSD41 (3/4IN)
POWER SPRAYER (PRESSURE REGULATOR VALVE)
| Ref.No. | Parts No. | Parts Name | Q’ty | Remarks |
| 1-Feb | 546849 | Pressure Regulator Valve, Ass’y | 1 | Incl.2-18 |
| 2-Feb | 540936 | Grip | 1 | |
| 3-Feb | 88913 | Hexagon Socket Screw | 1 | M8X35 |
| 4-Feb | 81039 | Nut | 1 | M8 |
| 5-Feb | 87483 | Screw | 2 | M3XP0.5X5 |
| 6-Feb | 88912 | Hexagon Socket Screw | 1 | M4X6 |
| 7-Feb | 106495 | Guide | 1 | |
| 8-Feb | 106499 | Washer | 1 | 16X21X0.7T |
| 9-Feb | 541769 | Spring Seat | 1 | 15XT2.5 |
| 10-Feb | 548819 | Spring | 1 | 3.0-31L |
| 11-Feb | 546500 | Body | 1 | |
| 12-Feb | 107221 | Spring | 1 | 0.6-7L |
| 13-Feb | 106498 | Valve Ball | 1 | 5/32 |
| 14-Feb | 543591 | Piston Ass’y | 1 | |
| 15-Feb | 103306 | Sleeve | 1 | |
| 16-Feb | 19261 | O-Ring | 1 | P16 |
| 17-Feb | 543507 | Valve Seat | 1 | |
| 18-Feb | 19261 | O-Ring | 1 | P16 |
| 19-Feb | 542258 | Cheese | 1 | R3/8XR3/8 |
| 20-Feb | 541796 | Ball Cock | 1 | R3/8XG1/4 |
MSD41 (3/4IN) ACCESSORIES

| Ref.No. | Parts No. | Parts Name | Q’ty | Remarks |
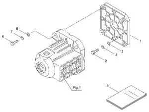
| 1-Mar | 46271 | Flange | 1 | |
| 2-Mar | 44843 | Bolt | 4 | 5/16-24UNFX20 |
| 3-Mar | 12489 | Washer | 4 | M8 |
| 4-Mar | 15845 | Spring Washer | 4 | M8 |
| 5-Mar | 44683 | Bolt | 4 | 3/8-16UNCX35 |
| 6-Mar | 12490 | Washer | 4 | M10 |
| 7-Mar | 12503 | Spring Washer | 4 | M10 |
| 8-Mar | 546043 | Instruction Manual | 1 | MSD40 |
Maruyama U.S., Inc.
3570 Shelby Lane
Denton, TX 76207
940-383-7400 voice
940-383-7466 fax
www.maruyama-us.com



















