ZOELLER FM1935 80 Series Pedestal Pumps

INSTALLATION INSTRUCTIONS
- Inspect your pump. Occasionally, products are damaged during shipment. If the unit is damaged, contact your dealer before using.
- Carefully read the literature provided to familiarize yourself with specific details regarding installation and use. These materials should be retained for future reference.
Warning
- Make sure there is a properly grounded receptacle available. All pumps are furnished with provisions for proper grounding to help protect you against the possibility of electrical shock. (SEE WARNING BELOW)
- Make certain that the receptacle is within the reach of the pump’s power supply cord. DO NOT USE AN EXTENSION CORD. Extension cords that are too long or too light do not deliver sufficient voltage to the pump motor. But more importantly, they could present a safety hazard if the insulation were to become damaged or the connection ends were to fall into the sump.
- Make sure the pump electrical supply circuit is equipped with fuses or circuit breakers of proper capacity. A separate branch circuit is recommended, sized according to the National Electrical Code for the current shown on the pump motor identification label.
- Installation and checking of electrical circuits and hardware should only be performed by a qualified licensed electrician.
- A proper cover should be placed over the pit whenever a column pump is installed to help protect against injury and to prevent debris from falling into the pit.
- FOR YOUR PROTECTION ALWAYS DISCONNECT THE PUMP FROM ITS POWER SOURCE BEFORE HANDLING. Single phase pumps are supplied with a 3- prong grounded plug to help protect you against the possibility of electrical shock. DO NOT UNDER ANY CIRCUMSTANCES REMOVE THE GROUND PIN. The 3-prong plug must be inserted into a mating 3-prong grounded receptacle. If the installation does not have such a receptacle, it must be changed to the proper type, wired and grounded in accordance with the National Electrical Code and all applicable local codes and ordinances.
- DO NOT USE IT FOR PUMPING FLAMMABLE LIQUIDS.
- Prop65 Warnings for California residents: Cancer and Reproductive Harm- www. P65Warnings.ca.gov.
CAUTION
- Check to be sure your power source is capable of handling the voltage requirements of the motor, as indicated on the pump motor identification label.
- Note: This unit is designed for indoor applications where the motor is mounted above the pit cover and protected from water, water spray, and high humidity.
- The maximum continuous operating temperature for standard model pumps must not exceed 130 °F (54 °C).
PUMP PERFORMANCE/GALLONS PER MINUTE DEWATERING AND SUMP
| Vertical lift of pump | 81 Series | 82 Series | 84 Series | ||||
| Feet | Meters | Gallons | Liters | Gallons | Liters | Gallons | Liters |
| 5 | 1.5 | 50 | 189 | 50 | 189 | 59 | 223 |
| 10 | 3.0 | 36 | 136 | 41 | 155 | 51 | 193 |
| 15 | 4.6 | 10 | 38 | 28 | 106 | 38 | 144 |
| 20 | 6.1 | — | — | 4 | 15 | 17 | 64 |
| Shut-off Head | 16 ft. (4.9 m) | 21 ft. (6.4 m) | 24 ft. (7.3 m) | ||||
LIMITED WARRANTY
Manufacturer warrants, to the purchaser and subsequent owner during the warranty period, every new Zoeller Pump Company product to be free from defects in material and workmanship under normal use and service, when properly installed, used and maintained, for a period of two years from the date of installation or 18 months from date of manufacturer, whichever comes first. Parts that fail, (within one year of installation or 18 months of the manufacturer, whichever comes first) that inspections determine to be defective in material or workmanship, will be repaired, replaced, or remanufactured at Zoeller Pump Company’s option, provided, however, that by so doing we will not be obligated to replace an entire assembly, the entire mechanism or the complete unit. No allowance will be made for shipping charges, damages, labor or other charges that may occur due to product failure, repair or replacement. This warranty does not apply to any material that has been disassembled without prior approval of Zoeller Pump Company, subjected to misuse, misapplication, neglect, alteration, accident or act of nature; that has not been installed, operated, or maintained in accordance with Zoeller Pump Company installation instructions; that has been exposed to but not limited to the following: sand, gravel, cement, mud, tar, hydrocarbons or hydrocarbon derivatives (oil, gasoline, solvents, etc), wash towels or feminine sanitary products, etc. or other abrasive or corrosive substances. This warranty is in lieu of all other warranties expressed or implied, and we do not authorize any representative or other person to assume for us any other liability in connection with our products. Contact Zoeller Pump Company, 3649 Cane Run Road, Louisville, Kentucky 40211-1961,
Attention: Customer Service Department to obtain any needed repair or replacement of part(s) or additional information pertaining to our warranty.
ZOELLER PUMP COMPANY EXPRESSLY DISCLAIMS LIABILITY FOR SPECIAL, CONSEQUENTIAL OR INCIDENTAL DAMAGES OR BREACH OF EXPRESSED OR IMPLIED WARRANTY; AND ANY IMPLIED WARRANTY OF FITNESS FOR A PARTICULAR PURPOSE AND OF MERCHANTABILITY SHALL BE LIMITED TO THE DURATION OF THE EXPRESSED WARRANTY.
Some states do not allow limitations on the duration of an implied warranty, so the above limitation may not apply to you. Some states do not allow the exclusion or limitation of incidental or consequential damages, so the above limitation or exclusion may not apply to you. This warranty gives you specific legal rights and you may also have other rights which vary from state to state. In instances where property damages are incurred as a result of an alleged product failure, the property owner must retain possession of the product for investigation purpose.
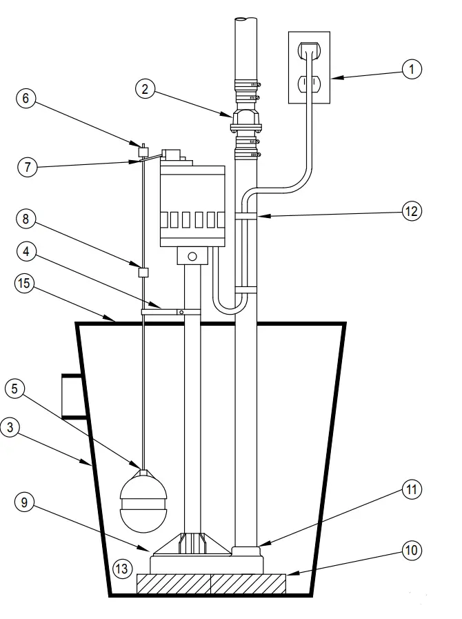
TYPICAL SUMP/DEWATERING RECOMMENDED INSTALLATION
- Electrical wiring must be in accordance with the National Electrical Code and all other applicable state and local electrical requirements.
- Install proper Zoeller Unicheck (combination check valve and union) preferably just above the sump pit to allow easy removal of the pump for cleaning or repair.
- The minimum pit size recommended is 18″ in diameter and 22″ deep.
- Locate Float Rod Guide about 6” below the motor. Clamp guide to the column with the screw provided. DO NOT OVER-TIGHTEN! Risk of flooding. Be sure that the float rod is vertical and can move up and down freely. If the float is angled or binds, the pump may not start, allowing flooding to occur.
- Screw float onto the threaded end of the rod. Threads on the rod will cut threads into corrosion-resistant float.
- Insert the end of the float rod up through the eye of the rod guide.
- Slide one rod stop on the float rod before passing the rod through the eye of the pump switch. Slide 2nd rod stop on the rod after passing through eye of a switch. Position 2nd rod stops flush with the top of the rod.
- Position lower rod stops to within 8” of the switch lever arm. With lower rod stop in this position, the pump will automatically cycle at approximately 2-1/2” off and 10-12” on. For faster cycling, move the lower rod stop closer to the switch lever arm.
- Thread pipe in the discharge of the pump. Use care not to cross thread or strip the threads. Use a full-size discharge pipe.
- Clean basin free of debris after installation.
- Install blocks or bricks under the pump to provide a settling basin.
- Place pump in the center of the sump pit.
- Securely tape or clamp power cord to discharge pipe clear of float mechanism.
- Check for proper ON-OFF switch operation by running water into the sump pit.
- All installations require a proper basin cover to prevent debris from falling into the basin and to minimize accidental injury.
CAUTION
CHECK ROD AND FLOAT FOR FREE SWITCH OPERATION TO INSURE THAT THE PUMP WILL TURN ON AND OFF. 
All installations must comply with all applicable electrical and plumbing codes. Including, but not limited to, the National Electric Code, local, regional and/or state plumbing codes, etc.
SERVICE CHECKLIST TROUBLESHOOTING CHART
Warning:
UNPLUG PUMP BEFORE HANDLING PUMP OR PIPING
CONDITION & COMMON CAUSES
- Unit will not start.
- Check circuit protection.
- Check the electrical current supply to make sure it is the same as on the pump specification plate.
- Check rod and float for free ON-OFF switch operation. Readjust rod stops or guide if necessary.
- Check ON-OFF switch operation by running water into a basin.
- Unit starts or sounds like it is running but will not pump.
- Clear intake and discharge. Run to test operation.
- Check to see that the vertical lift of installation is within pump capacity (refer to the pump capacity chart above).
- Check impeller for proper rotation. (Clockwise when viewed from the motor end).
- Unit stops and starts excessively.
- Install a proper Zoeller Unicheck to prevent backflow from the piping.
- Check dimensions of the basin as listed on the previous page, item 3.
If the above checklist does not uncover the problem, consult the factory – Do not attempt to service or otherwise disassemble the pump. © Copyright 2019 Zoeller® Co. All rights reserved.




















