835-547WT Distressed White and Natural Wood Effect Composite Sideboard
Instruction Manual

INccc099_GL 835-547
835-547WT Distressed White and Natural Wood Effect Composite Sideboard
READ AND SAVE THIS INSTRUCTIONS FOR FUTURE USE
ASSEMBLY & INSTRUCTIONS
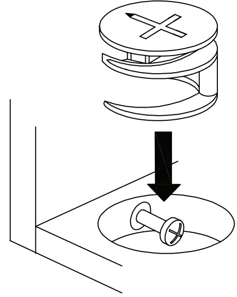
USING CAM LOCK AND QUICKFIT
QUICKFIT:Tighten quickfit until shoulder is flush with panel.Do not overtighten or undertighten.
CAM LOCK:When fitting cam lock, ensure starting position is correct before you insert connecting quickfit.
Quickfit head should be in the centre of the cam lock when the two panels are joined.
Cam lock should be inserted before quickfit.
Turn cam lock clockwise to tighten.
HINGE ADJUSTMENT GUIDE
It may be necessary to adjust the hinges so that the doors align.Use the instructions below as a guide.
To adjust the door vertically loosen the screw asshown and move up and down as needed.
To adjust the gap from the door to the main frame turn the screw clockwise or anti-clockwise as needed.
To adjust the door laterally adjust the screw as shown by turning clockwise or anti-clockwise.
Please fix other screws




























