axi LILY Sandbox with Canopy
WARNING
CHOKING HAZARD
- Small parts. Not suitable for children under 36 months.
- THE PRODUCT IS TO BE ASSEMBLED BY AN ADULT.
- Potential hazard description, e.g. In unassembled state contain potential-ly hazardous sharp points, so please keep out of baby’s reach.
- Only for domestic use. Retain for future reference.
PARTS

ASSEMBLY
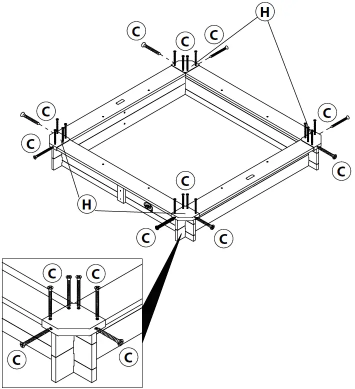
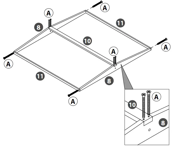
MAINTENANCE
Check whether all the nuts are on the bolts and whether there are any sharp edges, replace part as necessary. It is necessary to check regularly for splinters, loose screws and the tightness of joints and/or fastenings. If necessary, nuts and bolts must be tightened. ‘Regularly means: when you put it up and twice a month during the outdoor play sea-son. Once a year check the state of the protective stain layer. To ensure the optimum durability, the AXI product needs to be given a new coat of stain every year. Use a water-based paint / stain based on natural components for this.
WARRANTY
Congratulations on your purchase of this AXI product. You have bought a product you will enjoy for many years. AXI pro-vides a 2-year warranty – when properly used – on accessories and a 10-year warranty on the joints and wood in accordance with the general warranty terms & conditions. If the product does not reach you in good condition or if there are other problems, please contact your dealer or point of sale where you purchased the product.
Pragma
Kruisboog 40
3905 TG Veenendaal
Netherlands
T: +31 (0)318 – 57 88 00
[email protected]
www.pragma-trading.com






























