AXI Emily Sand & Water Picnic Table Instruction Manual
EMILY SAND & WATER PICNIC TABLE
NOTICE
WARNING
CHOKING HAZARD Small parts. Not suitable for children under 36 months.
THE PRODUCT IS TO BE ASSEMBLED BY AN ADULT.
Potential hazard description, e.g. In unassembled state contain potentially hazardous sharp points, so pleasekeep out of baby’s reach.
Only for domestic use. Retain for future reference.
PARTS
| 1 | ![]() | 1X |
| 2 | ![]() | 4X |
| 3 | ![]() | 2X |
| 4 | ![]() | 2X |
| 5 | ![]() | 1X |
| 6 | ![]() | 1X |
| 7 | ![]() | 1X |
| A | ![]() | 8X |
| B | ![]() | 16X |
| c | ![]() | 16X |
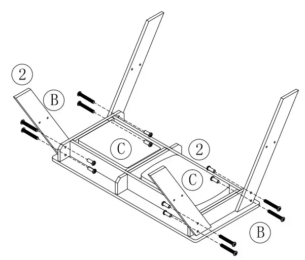
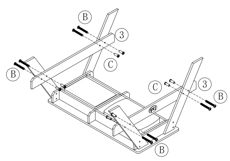
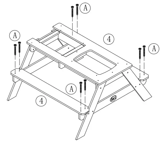
ASSEMBLY







MAINTENANCE
Check whether all the nuts are on the bolts and whether there are any sharp edges, replace part as necessary. It is necessary to check regularly for splinters, loose screws and the tightness of joints and/or fastenings. If necessary, nuts and bolts must be tightened. ‘Regularly means: when you put it up and twice a month during the outdoor play season. Once a year check the state of the protective stain layer. To ensure the optimum durability, the AXI product needs to be given a new coat of stain every year. Use a water-based paint / stain based on natural components for this.
WARRANTY
WARRANTY
Congratulations on your purchase of this AXI product. You have bought a product you will enjoy for many years. AXI provides a 2-year warranty – when properly used – on accessories and a 10-year warranty on the joints and wood in accordance with the general warranty terms & conditions. If the product does not reach you in good condition or if there are other problems, please contact your dealer or point of sale where you purchased the product.
WARNING!
Manufacturer and seller expressly disclaim any and all liability for personal injury, property damage or loss, either direct, indirect or incidental, resulting from the incorrect attachment, improper use, inadequate maintenance, or neglect of this product.
PRAGMA BRANDS

AXI
Premium brand with high quality wooden playhouses, play sets, swings, furniture, pet houses and sports games.
STEP2
US based market leader in highest quality rotomoulded plastic toys including sand/water tables, playhouses, furniture and creative play.
BACKYARD DISCOVERY
US based market leader in high quality wooden playhouses, play sets, sheds and garden accessories.
SUNNY
Mainstream indoor and outdoor toys such as teepee tents, easels, kitchens and sand pits.
COUGAR
Table games for indoor fun with football tables, air hockey tables, pool tables and multi-purpose tables.
SAFETY SAM
He is known as Safety Sam, Victor Veilig, Benni Brems and Simon Sikker. This brand is specifically directed towards the safety of children playing outside using localized names for more local awareness.
A Pragma Brand
AXI is one of our brands with awesome products of great quality, that offers hours of active fun!
Pragma / Cougar
Kruisboog 40
3905 TG Veenendaal
Netherlands
T: +31 (0)318 – 57 88 00
[email protected]
www.pragma-trading.com






























