ASUNA 7700 Hi Performance Cardio Trainer

ATTENTION
- Please verify that all parts associated with this product are in good condition and accounted for. During the assembly process, please be sure to follow each step accordingly, as it has been explained within this manual.
- WARNING: During assembly, it is recommended that all bolts be tightened by hand. Upon completing assembly, bolts should be secured using the wrench provided. To avoid injury, check bolts carefully before use.
- IMPORTANT: Read all instructions carefully before using this product. Retain owner’s manual for future reference. For customer service, please contact: [email protected]
IMPORTANT SAFETY INFORMATION
We thank you for choosing our product. To ensure your safety and health, please use this equipment correctly. It is important to read this entire manual before assembling and using the equipment. Safe and effective use can only be achieved if the equipment is assembled, maintained, and used properly. It is your responsibility to ensure that all users of the equipment are informed of all warnings and precautions.
- Before starting any exercise program, you should consult your physician to determine if you have any medical or physical conditions that could put your health and safety at risk or prevent you from using the equipment properly. Your physician’s advice is essential if you are taking medication that affects your heart rate, blood pressure, or cholesterol level.
- Be aware of your body’s signals. Incorrect or excessive exercise can damage your health. Stop exercising if you experience any of the following symptoms: pain, tightness in your chest, irregular heartbeat, shortness of breath, lightheadedness, dizziness, or feelings of nausea. If you do experience any of these conditions, you should consult your physician before continuing with your exercise program.
- Keep children and pets away from the equipment. The equipment is designed for adult use only.
- Use the equipment on a solid, flat level surface with a protective cover for your floor or carpet. To ensure safety, the equipment should have at least 8 feet (240CM) of free space behind it and 2 feet (60CM) on each side. Do not place the treadmill on any surface that blocks air openings. To protect the floor or carpet from damage, place a mat under the treadmill.
- Ensure that all nuts and bolts are securely tightened before using the equipment. The safety of the equipment can only be maintained if it is regularly examined for damage and/or wear and tear.
- Always use the equipment as indicated. If you find any defective components while assembling or checking the equipment, or if you hear any unusual noises coming from the equipment during exercise, discontinue use of the equipment immediately and do not use until the problem has been rectified.
- Wear suitable clothing while using the equipment. Avoid wearing loose clothing that may become entangled in the equipment.
- Do not place fingers or objects into the moving parts of the equipment.
- The maximum weight capacity of this unit is 440 pounds (200 KG).
- The equipment is not suitable for therapeutic use.
- To avoid bodily injury and/or damage to the product or property, proper lifting and moving are required.
- Your product is intended for use in cool and dry conditions. You should avoid storage in extreme cold, hot or damp areas as this may lead to corrosion and other related problems.
- This equipment is designed for indoor and home use only; it is not intended for commercial use!
Exploded Diagram


Parts List
| NO. | DESCRIPTION | SPEC. | QTY | NO. | DESCRIPTION | SPEC. | QTY | |
| 01 | Main Frame | 1 | 25 | Wire Plug | 1 | |||
| 02 | Base Frame | 1 | 26 | Left Cover | 1 | |||
| 03 | Handrail | 1 | 27 | Right Cover | 1 | |||
| 04 | Connecting Tube Seat | 1 | 28 | Magnetic Box | 1 | |||
| 05 | Rear Roller Cover | 2 | 29 | Screw | M8*70 | 2 | ||
| 06 | Bolt Pinch Plate | 1 | 30 | Screw | M8*40 | 2 | ||
| 07 | Sleeve | 16*Φ12*40L | 2 | 31 | Screw | M8*55 thread length 25mm | 2 | |
| 08 | Small Sleeve | Φ15*8.2*9.5L | 4 | 32 | Screw | M8*10 | 2 | |
| 09 | Front Roller Cover | 2 | 33 | Screw | M8*70 thread length 45mm | 2 | ||
| 10 | Front Axis Sleeve | 2 | 34 | Screw | M6*25 | 6 | ||
| 11 | Front Roller | 1 | 35 | Screw | M8*30 | 2 | ||
| 12 | Rear Roller | 1 | 36 | Screw | M8*15 | 4 | ||
| 13 | Three-In-One Bolt | 1 | 37 | Screw | M6*15 | 8 | ||
| 14 | Tension Switch | 1 | 38 | Screw | M5*30 | 2 | ||
| 15 | Cylinder | 1 | 39 | Screw | M6*20 | 2 | ||
| 16 | Nylon Sleeve | 2 | 40 | Screw | M12*55 thread length 30mm | 2 | ||
| 17 | Cushion | 6 | 41 | Washer | Φ8.5*Φ16*T1.5 | 14 | ||
| 18 | Side Rail | 2 | 42 | Washer | Φ8.5*Φ16*T1.5 | 16 | ||
| 19 | Running Board | 1 | 43 | Nut | M6 | 6 | ||
| 20 | Running Belt | 1 | 44 | Nut | M8 | 4 | ||
| 21 | Transportation Wheel | 2 | 45 | Tablet Bracket | 1 | |||
| 22 | Feet Cushion | 2 | 46 | Screw | M6*20 | 2 | ||
| 23 | Transportation Wheel Stopper | 2 | 47 | Allen Wrench | 1 | |||
| 24 | Flat Mat | 4 |
Tools & Hardware

Assembly Instructions
- STEP 1:
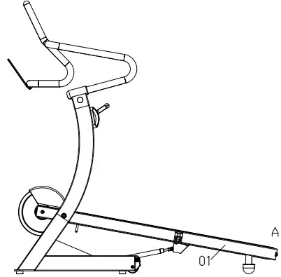
Make sure the area on the floor is clear. Hold the position A of Main Frame (No. 01), then pull the Three-In-One Bolt (No. 13) to release the Running Board (No. 19). Slowly lower the Running Board (No. 19) to the floor.
- STEP 2:
Assemble Tablet Bracket (No. 45) with 2 Washers (No. 42) and 2 Screws (No. 46).
Tighten and secure using Allen Wrench (No. 47).
Note: The treadmill must be lubricated before first use. See page 8 for lubrication instructions. The assembly is complete!
Folding Instructions
- Hold the bottom of the Main Frame (No. 01) at Position A and lift up.

- Push Main Frame (No. 01) upward gent ly.

- Make sure the Three-In-One Bolt (No.13) is inserted in the hole on the side of the Running Board (No. 19) securely.

Moving Instructions
- Hold Handrail (No. 03) at the bend, then tilt the treadmill toward you. Once the Transportation Wheels (No. 21) touch the ground, you can safely move the treadmill to your desired location.

Adjustments Guide
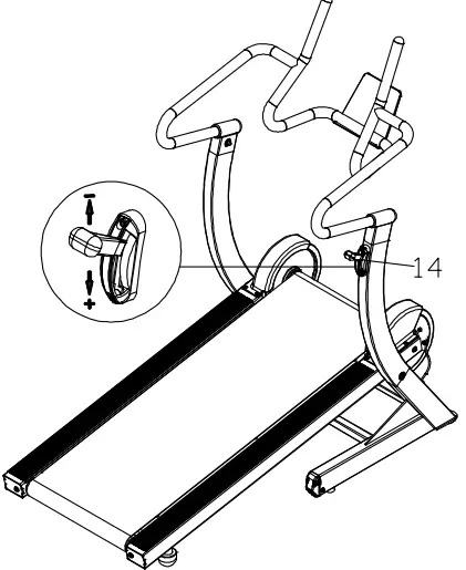
ADJUSTING RESISTANCE
The Tension Switch (No. 14) has 8 levels. To increase resistance, move the Tension Switch (No. 14) down. To decrease the resistance, move the Tension Switch (No. 14) up.

ADJUSTING THE INCLINE
To adjust the incline, fold the treadmill first. Adjust the incline of the treadmill by turning the Feet Cushions (No. 22) at the bottom of the treadmill. To decrease the incline, turn the Feet Cushions (No. 22) counter-clockwise. To increase the incline, turn the Feet Cushion (No. 22) clockwise. Make sure the treadmill is leveled before use.
ADJUSTING THE BELT

Use Allen Wrench (No. 47) to adjust the Running Belt (No. 20)
- If the Running Belt (No. 20) deviates to the right, turn the right side adjusting bolt clockwise by 1/2 circle, then turn the left side adjusting bolt counter-clockwise
by 1/2 circle (Refer to Picture A). - If the Running Belt (No. 20) deviates to the left, turn the left adjusting bolt clockwise by 1/2 circle, then turn the right side adjusting bolt counter-clockwise by 1/2 circle
(Refer to Picture B).
Continue adjusting until the Running Belt (No. 20) is centered.
Lubrication
IMPORTANT NOTE
You will need to lubricate your treadmill before the first use.
RUNNING BELTS & TREADMILL LUBRICANT
Lubricating the Running Board (No. 19) and Running Belt (No. 20) is essential as the friction affects the life span and operation of the treadmill. It is suggested that the Running Board (No. 19) and Running Belt (No. 20) be inspected regularly. If you find any wear on the Running Board (No. 19), please contact us at:[email protected].
HOW TO LUBRICATE
- Raise the Running Belt (No. 20) up on one side and apply lubricant to the Running Board (No. 19). Use a rag to thoroughly wipe the lubricant over the Running Board (No. 19). Repeat this process for the other side.
- The moving parts should turn freely and quietly. Abnormal moving parts will affect the safety of the equipment. Inspect and tighten bolts regularly.
- To better maintain the treadmill and prolong its lifespan, it is suggested that maintenance be done on a regular basis.
- DO NOT LOOSEN OR MAKE ANY ADJUSTMENTS TO THE RUNNING BELT WHILE APPLYING LUBRICANT. A loose Running Belt (No. 20) will result in the runner sliding off when in use, while too tight of a Running Belt (No. 20) will decrease to the motor’s performance, and also create more friction between the roller and Running Belt (No. 20). The most suitable tightness for the Running Belt (No. 20) is when it is pulled out 50-75mm from the Running Board (No. 19).

- The following time table is recommended:
- Light user (less than 3 hours/week): every six months
Medium user (3-5 hours/week): every three months
Heavy user (more than 5 hours/week): every two months
- Light user (less than 3 hours/week): every six months
























