ASUNA 7750P Pink Spaceflex Motorized Treadmill 
ATTENTION
Please verify that all parts associated with this product are in good condition and accounted for. During the assembly process, please be sure to follow each step accordingly as it has been explained within this manual.
WARNING: During assembly, it is recommended that all bolts be tightened by hand. Upon completing assembly, bolts should be secured using the wrench provided. To avoid injury, check bolts carefully before use.
IMPORTANT: Read all instructions carefully before using this product. Retain the owner’s manual for future reference. For customer service, please contact: [email protected]
IMPORTANT SAFETY INFORMATION
We thank you for choosing our product. To ensure your safety and health, please use this equipment correctly. It is important to read this entire manual before assembling and using the equipment. Safe and effective use can only be achieved if the equipment is assembled, maintained, and used properly. It is your responsibility to ensure that all users of the equipment are informed of all warnings and precautions.
- Before starting any exercise program, you should consult your physician to determine if you have any medical or physical conditions that could put your health and safety at risk or prevent you from using the equipment properly.
- Your physician’s advice is essential if you are taking medication that affects your heart rate, blood pressure, or cholesterol level.
- Be aware of your body’s signals. Incorrect or excessive exercise can damage your health.
- Stop exercising if you experience any of the following symptoms pain, tightness in your chest, irregular heartbeat, shortness of breath, lightheadedness, dizziness, or feelings of nausea. If you do experience any of these conditions, you should consult your physician before continuing with your exercise program.
- Keep children and pets away from the equipment. The equipment is designed for adult use only.
- Use the equipment on a solid, flat level surface with a protective cover for your floor or carpet.
- To ensure safety, the equipment should have at least 8 feet (240CM) of free space behind it and 2 feet (60CM) on each side.
- Do not place the treadmill on any surface that blocks air openings. To protect the floor or carpet from damage, place a mat under the treadmill.
- Ensure that all nuts and bolts are securely tightened before using the equipment.
- The safety of the equipment can only be maintained if it is regularly examined for damage and/or wear and tear.
- Always use the equipment as indicated. If you find any defective components while assembling or checking the equipment, or if you hear any unusual noises coming from the equipment during exercise, discontinue use of the equipment immediately and do not use until the problem has been rectified.
- Wear suitable clothing while using the equipment. Avoid wearing loose clothing that may become entangled in the equipment.
- Do not place fingers or objects into the moving parts of the equipment.
- The maximum weight capacity of this unit is 220 pounds (100 KG).
- The equipment is not suitable for therapeutic use.
- To avoid bodily injury and/or damage to the product or property, proper lifting and moving are required.
- Your product is intended for use in cool and dry conditions. You should avoid storage in extreme cold, hot or damp areas as this may lead to corrosion and other related problems.
- This equipment is designed for indoor and home use only; it is not intended for commercial use!
The running belt was lubricated before the first use! Please see Page 10 for instructions on how to properly apply lubricant.
Exploded Diagram 1 
Exploded Diagram 2 
Parts List
| No. | DESCRIPTION | SPEC. | QTY | No. | DESCRIPTION | SPEC. | QTY | |
| 1 | Main Frame | 1 | 24 | Running Board | 1 | |||
| 2 | Incline Bracket | 1 | 25 | Running Belt | 1 | |||
| 3 L/R | Handlebar | 2 | 26 | Multi-groove Belt | 1 | |||
| 4 | Tablet Bracket | 1 | 27 | Ring Wire Plug | 2 | |||
| 5 | Meter Bracket Horizontal Tube | 1 | 28 | Motor Seat | 1 | |||
| 6 | Loudspeaker Fixed Seat | 2 | 29 | Rear End Cap | 1 | |||
| 7 L/R | Tablet Bracket Fixed Seat | 2 | 30 | Motor Under Cover | 1 | |||
| 8 L/R | Adjusting Sheet | 2 | 31 | Motor Upper Cover | 1 | |||
| 9 | Supporting Wheel Fixed Bracket | 2 | 32 L/R | Side Decorative Cap of Motor Cover | 2 | |||
| 10 L/R | Choice Sheet | 2 | 33 | Transportation Wheel | 2 | |||
| 11 | Transportation Wheel Axis | 2 | 34 | N/A | – | |||
| 12 | Supporting Wheel Axis | 2 | 35 L/R | Side Rail | 2 | |||
| 13 | Incline Bracket U-shape Fixed Seat | 2 | 36 | Supporting Transportation Wheel | 2 | |||
| 14 | Power Fixed Connector | 1 | 37 | Supporting Wheel Upper Cover | 2 | |||
| 15 | Edging Buckle | 6 | 38 | Supporting Wheel Under Cover | 2 | |||
| 16 | Handrail Stopper | 4 | 39 | Meter Under Cover | 1 | |||
| 17 | Front Roller | 1 | 40 | Meter Back Cover | 1 | |||
| 18 | Rear Roller | 1 | 41 | Meter Panel | 1 | |||
| 19 | Extension Spring | 2 | 42 L/R | Meter Outer Side Cover | 2 | |||
| 20 | Allen Wrench | 1 | 43 L/R | Meter Inner Side Cover | 2 | |||
| 21 | Cable | 1 | 44 | Cushion | 6 | |||
| 22 | Cylinder | 1 | 45 | Incline Axle Sleeve | 4 | |||
| 23 | Compression Spring | 1 | 46 | Adjusting Foot Pad | 2 |
| No. | DESCRIPTION | SPEC. | QTY | No. | DESCRIPTION | SPEC. | QTY | |
| 47 | Safety Key Seat | 1 | 71 | Nut | M6 | 2 | ||
| 48 | C-shape Snap Ring | Φ10 | 2 | 72 | Nut | M8 | 9 | |
| 49 | Upright Stopper | 2 | 73 | Nut | M10 | 2 | ||
| 50 L/R | Loudspeaker Light Shade | 2 | 74 | Screw | M8*15 | 4 | ||
| 51 | Flat Washer | Φ9*Φ23*T1.5 | 11 | 75 | Screw | M6*12 nickel-chrome | 14 | |
| 52 | Light Transmitting Plate | 1 | 76 | Screw | M6*15 half-thread nickel-chrome | 2 | ||
| 53 L/R | Handlebar Stopper | 2 | 77 | Screw | M6*50 | 1 | ||
| 54 | Module Fixer | 2 | 78 | Screw | M6*60 | 2 | ||
| 55 | Silicone Oil | 1 | 79 | Screw | M8*12 | 2 | ||
| 56 | Bolt | M8*20 | 1 | 80 | Bolt | M10*45 10.9 grade screw length 15mm | 1 | |
| 57 | Bolt | M8*25 | 1 | 81 | Bolt | M10*60 10.9 grade screw length 15mm | 1 | |
| 58 | Screw | M5*8 | 4 | 82 | Screw | M2*5 | 6 | |
| 59 | Screw | M6*12 | 8 | 83 | Screw | M4*8 | 20 | |
| 60 | Screw | M6*20 | 6 | 84 | Washer | Φ5*12*1.2 | 6 | |
| 61 | Screw | ST3.0*15 | 2 | 85 | Flat Washer | Φ9*Φ16*T1.6 | 4 | |
| 62 | Screw | M6*28 | 2 | 86 | Washer | Φ6.6*Φ11.8*T1.6 nickel-plating | 13 | |
| 63 | Screw | M6*12 | 4 | 87 | Flat Washer | Φ11*Φ20*T2.0 | 2 | |
| 64 | Screw | ST3.0*20 | 4 | 88 | Washer | Φ4.1*Φ4.4*T1 nickel-plating | 2 | |
| 65 | Screw | ST4.0*15 | 12 | 89 | Spring Washer | M8 | 7 | |
| 66 | Screw | BT2.5*8 | 6 | 90 | E-shape Snap Ring | Φ8 black | 1 | |
| 67 | Screw | ST3.0*10 | 25 | 91 | C-shape Snap Ring | match Φ20 black shaft | 2 | |
| 68 | Screw | BT4*8 | 2 | 92 | Flange Nut | M10*P1.25 | 2 | |
| 69 | Screw | BT4*15 | 15 | 93 | Flat Washer | Φ12.2*Φ17*T0.5 | 4 | |
| 70 | Nut | M5 | 6 | 94 | O Shaped Ring | inner Φ13 wire Φ1.5 | 2 |
| No. | DESCRIPTION | SPEC. | QTY | No. | DESCRIPTION | SPEC. | QTY | |
| 95 | Running Board Baffle | 2 | 119 | Screw | BT2.2*5 nickel-plating | 4 | ||
| 96 | Power Cord | 1 | 120 | Speed Shortcut Key Seat | 1 | |||
| 97 | End Socket | 1 | 121 | Pad Decorating Light | 1 | |||
| 98 | Power Switch | 1 | 122 | Loudspeaker Decorating Light | 2 | |||
| 99 | Overload Protector | 1 | 123 | Incline Shortcut Key PC | 1 | |||
| 100 | DC Motor | 1 | 124 | Speed Shortcut Key PC | 1 | |||
| 101 | Incline Motor | 1 | 125 | Pulse Outgoing Line | 2 | |||
| 102 | Loudspeaker | 2 | 126 | Shortcut Key Outgoing Wire | 2 | |||
| 103 | MP3 Line | 1 | 127 | USB Module | 1 | |||
| 104 | Controller | 1 | 128 | Safety Key | 1 | |||
| 105 | Upper Wire | 1 | 129 | Screw | M3*6 | 4 | ||
| 106 | Screw | M4*12 | 4 | 130 | Single Wire | 950mm | 2 | |
| 107 | Lower Wire | 1 | 131 | Single Wire | 120mm | 3 | ||
| 108 | Meter | 1 | 132 | Grounding Wire | 200mm | 1 | ||
| 109 | Incline Shortcut Key Seat | 1 | 133 | Pole Pressing Seat | 2 | |||
| 110 | Washer | Φ20.5*Φ30*T2.0 | 2 | 134 | Single-sided Adhesive | 2 | ||
| 111 | Wave Washer | Φ20.5*Φ27*T0.4 | 2 | 135 L/R | Anti-slip Sticker | 2 | ||
| 112 | Tablet Bracket Fixed Screw / L | 1 | 136 | Screw Cover | 2 | |||
| 113 | Tablet Bracket Fixed Screw / R | 1 | 137 | Plug | 4 | |||
| 114 | Handrail | 2 | 138 | Safety Key Clip | 2 | |||
| 115 | Foot Lever | 1 | 139 | Filter | 1 | |||
| 116 | Screw | M8*35 | 1 | 140 | Filter Bracket | 1 | ||
| 117 | Screw | M4*12 | 4 | 141 | Single Grounding Wire | 1100mm | 1 | |
| 118 | Screw | M6*25 | 6 | 142 | Single Wire | 400mm | 2 |
Tools & Hardware
When you open the carton, you will find the below spare parts.
Assembly Instructions
STEP 1
- Hold the Handlebars (No. 3L & No. 3R). Press the Foot Lever (No. 115) until you hear a click, then raise the Handlebars (No. 3L & No. 3R) to a vertical position until you hear a click. Lightly shake the Handlebars (No. 3L & No. 3R) to make sure they are secure.

STEP 2
- Stand in front of the treadmill. Turn the Tablet Bracket (No. 4) upward as shown in drawing A, then pull it slightly to the left as shown in the drawing B to lock in position.

STEP 3
- Remove 4 Plugs (No. 137) from the Handlebars (No. 3L & No. 3R). Save the Plugs (No. 137) for later use when you remove the Handrails (No. 114).
- Attach the Handrails (No. 114) to the Handlebars (No. 3L & No. 3R) with 4 Screws (No. 75). Tighten and secure with Allen Wrench (No. 20).

STEP 4
- Connect the Power Cord (No. 96) to the treadmill.Insert the Safety Key (No. 128) into the Meter (No. 108).The assembly is complete.

Lubrication
IMPORTANT NOTE
This treadmill does come pre-lubricated, but it is recommended to lubricate your treadmill before the first use.
RUNNING BELT & TREADMILL LUBRICANT
Lubricating the Running Board and Running Belt is essential as friction affects the life span and operation of the treadmill. It is suggested that the Running Board and Running Belt be inspected regularly. If you find any wear on the Running Board, please contact us at: [email protected].
WARNING
Always unplug the treadmill from the electrical outlet before moving, cleaning, lubricating, or repairing the Motor Under Cover & Motor Upper Cover. Remove the Motor Under Cover & Motor Upper Cover and vacuum underneath at least once a year.
HOW TO LUBRICATE
Raise the Running Belt up on one side and apply lubricant to the Running Board. Use a rag to thoroughly wipe the lubricant over the Running Board. Repeat this process for the other side. The moving parts should turn freely and quietly. Abnormal moving parts will affect the safety of the equipment. Inspect and tighten bolts regularly.To better maintain the treadmill and prolong its lifespan, it is suggested that maintenance be done on a regular basis. DO NOT LOOSEN OR MAKE ANY ADJUSTMENTS TO THE RUNNING BELT WHILE APPLYING LUBRICANT. A loose Running Belt will result in the runner sliding off when in use, while too tight of a Running Belt will decrease to the motor’s performance and also create more friction between the roller and Running Belt. The most suitable tightness for the Running Belt is when it is pulled out 50-75mm from the Running Board.
The following timetable is recommended
- Light user (less than 3 hours/week) Medium user (3-5 hours/week) Heavy user (more than 5 hours/week)
- every six months every three months every two months
Folding Instructions
Before you fold the treadmill, remove the 4 Screws and the 2 Handrailsusing the Allen Wrench.If you saved the Plugs, you can plug in the holes.
Stand in front of the treadmill. Fold the Tablet Bracket by pulling it to the right as shown in drawing A. Then, turn it down as in the drawing B.
Hold the Handlebars. Press the Foot Lever until you hear a click. Then, lower the Handlebars.
Moving Instructions
Before moving the treadmill, fold the treadmill first. Pull out the Supporting Transportation Wheels according to the drawing, to ensure the folded treadmill is stable when standing upright.
To store the treadmill upright, lift the treadmill so it stands vertically. To move the treadmill, tilt the treadmill towards you until the Transportation Wheels on the front base touch the ground. Then you can safely move the treadmill to your desired location.
Specifications
| Assembly Size (INCHES) | 57.3(L)*29.3(W)*48(H) | Speed Range (MI/H) | 0.6—8.0 |
| Folded Standing Size (INCHES) | 29.3(L)*10.4(W)*57.3(H) | Rating | 930W |
| Running Size (INCHES) | 51.2(L)*19(W) | Motor Spec (HP) | 2.5HP(PEAK) |
| N.W. (LBS) | 126.7 | Input Volt (V) | 100-120V |
| Max User Weight (LBS) | 220 | Operating Temperature | 0-82°F |
| Incline | 0-12% | ||
| Blue Single Display | Speed, Time, Distance, Calorie, Pulse, Incline, Step Count | ||
Important Electrical Information
WARNING
This treadmill requires a power source of 10 amps (100-120V) in order to properly operate. For your safety as well as the safety of others, please verify that the power source is correct before powering in the equipment. Any power supply source above or below this level could cause significant damage to the equipment and/or user.
GROUNDING METHODS
This product must be grounded. Should the treadmill malfunction or break down, grounding provides a path of least resistance for electric current to reduce the risk of electric shock. This product is equipped with a plug that has an equipment-grounding conductor and a grounding plug. The plug must be plugged into an appropriate outlet that is properly installed and grounded in accordance with all local codes and ordinances. This product is for use on a nominal 100-120V circuit and has a grounding plug that looks like the plug illustrated in sketch A. Ensure that the product is connected to an outlet with the same configuration as the plug. Do not use an adaptor for this product.
DANGER
Improper connection of the equipment can result in a risk of electric shock. Check with a qualified electrician or serviceman if you are unsure whether the product has been properly grounded. Do not modify the plug provided with the product. If it will not fit the outlet, have a proper outlet installed by a qualified electrician.
WARNING
- NEVER use a ground fault circuit interrupt (GFCI) wall outlet with this treadmill.
- Route the power cord away from all moving parts of the treadmill, including the elevation mechanism and transportation wheels.
- NEVER operate the treadmill using a generator or UPS power supply.
- NEVER remove any cover on this treadmill without first disconnecting the power cord.
- NEVER expose the treadmill to rain or moisture. This treadmill is not designed for outdoor use or use in any high humidity environment.
GROUNDING METHOD
Operating Instructions
- Plug the power cord into an outlet with the appropriate voltage.
- Turn on the power switch.
- Insert the Safety Key (No. 128).
- Press the Start key on the meter.
- Never start the treadmill while you are standing on the Running Belt.
- After connecting the power, there may be a pause after the Running Belt begins to move, you should always stand on the treadmill side plastic non-slip rails until the Running Belt starts moving. Then step on to the Running Belt.
SAFETY NOTE
- We recommend that you maintain a slow speed at the beginning and hold the handrails until you become familiar with the treadmill.
- Insert the magnetic end of the Safety Key (No. 128) into the meter and attach the opposite end (containing the safety clip on it) to your clothing before starting your workout.
- To end your workout, press the STOP button or remove the Safety Key and then the treadmill will stop immediately.
SAFETY KEY FUNCTION
Removing the Safety Key (No. 128) from the meter while the treadmill is running will cause it to stop immediately.
Display Meter 
Windows Display
- Incline: Displays current incline value.

- Pulse/Calorie:
Displays current pulse value and the calories burned.
Time/
Program: Displays current exercise time and the current program.
Distance/Mode: Displays current exercise distance and current mode.
Pedometer: Displays current steps value. Number of steps and number of turns willdisplay alternately when number of steps is over 10,000; one turn equals to 10,000 steps.
Speed: Displays current exercise speed.
Key Functions
Start: When the power is on and Safety Key (No. 128) is on, press this button to start the treadmill.
Incline 3: Set incline at Level 3.
Incline 5: Set incline at Level 5.
Program: In standby mode, press this button to scroll through programs: 0:00, P1-P2-…P8, U1-U2-U3. (0:00 is manual mode, P1-P8 is a built-in program, and U1-U3 is a user program.) Manual mode is the system’s default operation mode. The manual mode default speed is 0.6 MI/H.
Mode: Press to scroll through the functions: 0:00, 30:00, 3.1, 100. (0:00 is manual mode, 30:00 is time countdown mode, 3.1 is distance countdown mode, and 100 is calorie countdown mode.) When choosing different modes, use the handrail speed + and – button to set the corresponding countdown value. After setting the value, press Start to
start the treadmill.
Speed 3: To set the speed at 3 MI/H.
Speed 5: To set the speed at 5 MI/H.
Stop: To stop the treadmill.
Instant Start
- Turn on the power. Insert the Safety Key (No. 128) in the meter.
- Press
Start, the system enters into 3 seconds countdown and the treadmill makes a beeping sound. The
time/
Program window displays the countdown numbers at the same time. After the 3 seconds countdown, the treadmill starts at 0.6 MI/H speed. - After starting, adjust the treadmill speed and incline using handrail buttons. You can use
Incline 3,
Incline 5,
Speed 3, and
Speed 5 to adjust the speed and incline to preset levels.
During the Exercise
- Use +/- right handrail buttons to increase/decrease speed. (0.1 MI/H increments).
- Use +/- left handrail buttons to increase/decrease the incline
- Press the
Stop to make the treadmill slow down to a stop. - To measure pulse, hold the pulse sensors for 5 seconds, and the pulse icon will light up.
Pulse/
Calorie displays the pulse data.
Manual Mode
- In standby mode, press
Start, and the treadmill starts at 0.6 MI/H speed and 0% incline. - In standby mode, press
Mode, to enter time countdown mode. The
time/
Program window displays “30:00” and flashes and the time icon will light up. Press the handrail buttons on either side to set exercise time: the setting range is 5:00 99:00. - At time countdown mode, pressing
Mode enters the
distance countdown mode. The
distance/
Mode window displays “3.1” and flashes, then the distance icon will light up. Press the handrail buttons on either side to set exercise distance the distance setting range is 0.6 61.9 Miles. - At the distance countdown mode, pressing Mode enters into calories countdown mode,
Pulse/
Calories window displays “100” and flashes, then the calorie-light turns on. Press the handrail buttons on either side to set calories the calorie setting range is 20 990 Kcal. - After setting one of the modes to countdown, press
Start, and the treadmill will start to run after 3 seconds. When the countdown is finished, the treadmill will stop. You can also press
Stop to stop directly.
Built in Automatic Programs
This system has 8 built-in automatic programs P1 to P8, in the standby mode. Press
Program,
Time/
Program window will display “P1” to “P8”, and the program light turns on.
The time/
Program window flashes at the same time. The time light will turn on and display the preset time “30:00”, after pressing both sides of the handrail buttons to set the exercise time, press
Start to start the built-in program. The built-in program is divided into 10 segments: each program exercise time=set time/10. When you enter into the next segment, if the speed or incline is going to change, the system beeps three times. The system speed and incline will change when the program segment changes. You can press the handrail buttons to change the speed and incline during each segment. When the program enters the next segment, it will go to the speed and incline of this segment. When the segment of the program is finished, the system will beep three times, and the treadmill slow down steadily to a stop.
| TIME PROGRAM | 1 | 2 | 3 | 4 | 5 | 6 | 7 | 8 | 9 | 10 | |
| P1 | speed | 0.6 | 2.5 | 1.9 | 2.5 | 1.9 | 3.1 | 2.5 | 1.3 | 3.1 | 1.9 |
| incline | 1 | 2 | 3 | 3 | 1 | 2 | 2 | 3 | 2 | 2 | |
| P2 | speed | 0.6 | 3.1 | 2.5 | 3.8 | 2.5 | 3.8 | 2.5 | 1.3 | 2.5 | 1.3 |
| incline | 1 | 2 | 3 | 3 | 2 | 2 | 3 | 4 | 2 | 2 | |
| P3 | speed | 0.6 | 3.1 | 2.5 | 3.1 | 2.5 | 3.1 | 2.5 | 1.3 | 1.9 | 1.3 |
| incline | 1 | 2 | 2 | 3 | 1 | 2 | 2 | 2 | 2 | 1 | |
| P4 | speed | 0.6 | 3.8 | 4.4 | 3.1 | 5 | 3.1 | 5.6 | 3.8 | 2.5 | 1.9 |
| incline | 2 | 2 | 3 | 3 | 2 | 2 | 4 | 6 | 2 | 2 | |
| P5 | speed | 0.6 | 3.8 | 4.4 | 3.1 | 5 | 3.8 | 4.4 | 3.8 | 2.5 | 1.9 |
| incline | 1 | 2 | 4 | 3 | 2 | 2 | 4 | 5 | 2 | 1 | |
| P6 | speed | 0.6 | 5 | 3.8 | 2.5 | 3.1 | 5.6 | 4.4 | 3.1 | 2.5 | 1.9 |
| incline | 2 | 2 | 6 | 2 | 3 | 4 | 2 | 2 | 2 | 1 | |
| P7 | speed | 0.6 | 3.8 | 4.4 | 2.5 | 2.5 | 4.4 | 2.5 | 1.3 | 2.5 | 1.3 |
| incline | 4 | 5 | 6 | 6 | 9 | 9 | 10 | 12 | 6 | 3 | |
| P8 | speed | 0.6 | 2.5 | 3.8 | 5 | 4.4 | 5 | 3.8 | 1.3 | 1.9 | 1.3 |
| incline | 3 | 5 | 4 | 4 | 3 | 4 | 4 | 3 | 3 | 2 | |
User Customized Program
- Besides 8 built-in programs, there are also 3 user-customized programs that allow users to set according to personal preferences: U1, U2, and U3.
- The setting of user-customized program:
- At the standby mode, press and hold
Program to set the user-customized program (U1-U3). Press
Mode to confirm and enter the setting, then set the first period. - Use handrail speed buttons to set speed and use handrail incline buttons to set incline. Press
Mode, finish the first time setting, and enter into the second time setting until finishing all 10 periods’ settings. - After finishing the settings, the data will be saved permanently until the next time. The data will not be lost because of a power outage.
- Using a user-customized program.
- Press
Program continually at the standby mode until you get to the user-customized program (U1-U3), then set the operation time and press
Start to start. - After setting a user-customized program and operation time, press
Start to start. - The user-customized program setting instruction.
- Every program divides the time into 10 segments. You will need to set the speed, incline, and time of the 10 segments before pressing the
Start to start the treadmill.
Audio
When the power is on, you can connect the MP3 wire to the audio device to play music. When the treadmill powers down and enters sleep mode, the music will stop. Pressing any button will reactivate the treadmill.
USB Interface
USB connection can only charge your device. It cannot be used to play music.
Metric/Imperial Unit Change
Remove the Safety Key (No. 128). Press and hold
Start button, then reconnect the Safety Key (No. 128). Keep holding the
Start until all the display functions light up then release. Press either side of the handrail buttons to select Metric or Imperial system (“SI” signifies Metric system and “Eng” signifies Imperial system). After selecting, press the
Start button to confirm and return to standby mode.
Safety Key Function
In all mode, pulling off the Safety Key (No. 128) can stop the treadmill from running immediately. When the treadmill stops immediately, the treadmill will make a beeping noise and the display panel displays “SAFE”. At this moment, you cannot operate the treadmill except to turn it off. Insert the Safety Key (No. 128) again and the treadmill will be in standby mode
Incline Self-Adjustment
At the standby state, press
Stop and
Speed 5 to do a self-adjustment. After adjusting, you can return to the standby state.
Power Saving Mode
This system has power-saving function in the standby mode. If there is no button command input within 4 minutes, the system will enter power-saving mode and shut off the display automatically. Press any button to turn on the system.
Treadmill Error Codes
If the treadmill displays error code, please contact Customer Service at [email protected].
- The display panel couldn’t receive the signal.
- Over voltage.
- IGBT short circuit (Overcurrent).
- Over load.
- The motor is not connected, (only direct current).
- The controller couldn’t receive the signal.
- Preventing reversing switch action.
- Over current.
- Over-loading; short-circuit.
Shutdown
You can turn off the power to shut down the treadmill in any mode. This will not damage the treadmill.
Attention
- Check the power, Safety, and that the treadmill is in a valid mode before starting to exercise.
- When encountering an emergency, pull off the Safety to stop the treadmill quickly.
- When you put the Safety back in, the system goes back to default and you can use the treadmill.
Maintenance Guidelines
General cleaning will help prolong the life and performance of your treadmill. Keep the unit clean and maintained by dusting the components on a regular basis. Clean both sides of the Running Belt (No. 25) to prevent dust from accumulating underneath. Keep your running shoes clean so that dirt from your shoes does not wear out the Running Board (No. 24) and Running Belt (No. 25). Clean the surface of the Running Belt (No. 25) with a clean, damp cloth. Keep liquids away from electrical parts and Running Belt (No. 25).To better maintain the treadmill and prolong its life, it is suggested that the treadmill be powered off for 10 minutes every 2 hours and fully powered off whenever not in use.
Adjusting Running Belt Centering and Tightness
- If the Running Belt (No. 25) doesn’t stop when you press it, the Running Belt (No. 25) and motor belt is positioned correctly.
- If the Running Belt (No. 25) stops when you press it, but the motor belt and the front roller don’t stop, the Running Belt (No. 25) is loose.
- Adjust the Running Belt (No. 25) for safe use.
- If the Running Belt (No. 25) and motor belt stop when pressing the Running Belt (No. 25) and the motor still runs, the motor belt needs to be adjusted for safe use.
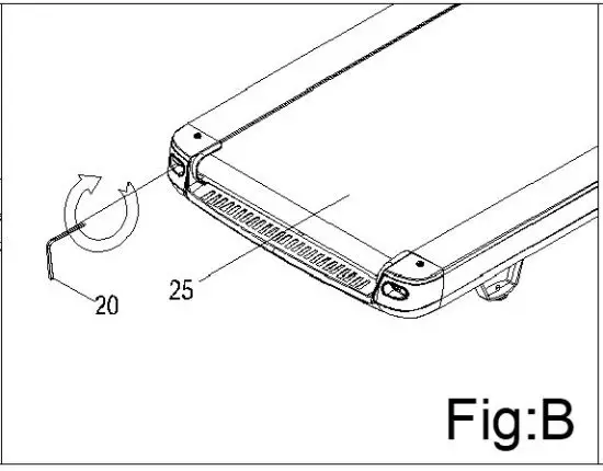
- It is necessary to adjust the Running Belt (No. 25) with Allen Wrench (No. 20) to the best condition for better use of the treadmill.
- Put the motorized treadmill on level ground. Let the treadmill run at the speed of 6-8 MI/H, and observe the Running Belt (No. 25) deviating condition.
- If the Running Belt (No. 25) deviates to the right, pull off the Safety Key (No. 128) and unplug the power. Turn the right side adjusting the bolt clockwise by 1/4 circle.
- Turn on the treadmill and watch the Running Belt (No. 25) to see if it is centered. Repeat the above steps, until the Running Belt (No. 25) is in the middle. Please refer to figure A.
If the Running Belt (No. 25) deviates to the left, pull off the Safety Key (No. 128), unplug the power, turn the left adjusting bolt clockwise by 1/4 circle. Turn on the treadmill and watch the Running Belt (No. 25) to see if it is centered. Repeat the above steps, until the Running Belt (No. 25) goes to the middle. Please refer to figure B.
- After the above adjustment or after multiple uses, Running Belt (No. 25) may become loose and needs adjustments. Pull off the Safety Key (No. 128), turn off the power switch, and turn the left and right adjusting bolts clockwise by 1/4 circle. Turn on the treadmill, then stand on the treadmill to confirm the tightness of the Running Belt (No. 25). Repeat above steps, until the Running Belt (No. 25) is moderate in tightness. Please refer to figure C.






Operating Instructions
Calorie displays the pulse data.
If the Running Belt (No. 25) deviates to the left, pull off the Safety Key (No. 128), unplug the power, turn the left adjusting bolt clockwise by 1/4 circle. Turn on the treadmill and watch the Running Belt (No. 25) to see if it is centered. Repeat the above steps, until the Running Belt (No. 25) goes to the middle. Please refer to figure B.



















