
USER’S MANUAL
Model No. NTL17915.1
Serial No.
Write the serial number in the space above for reference.

ACTIVATE YOUR WARRANTY
To register your product and activate your warranty today, go to www.nordictrackservice.com/registration.
CUSTOMER CARE
For service at any time, go to www.nordictrackservice.com.
Or call 1-800-TO-BE-FIT (1-800-862-3348)
Mon.–Fri. 6 a.m.–6 p.m. MT
Sat. 8 a.m.–12 p.m. MT
Please do not contact the store.
CAUTION
Read all precautions and instructions in this manual before using this equipment. Save this manual for future reference.
WARNING DECAL PLACEMENT

This drawing shows the locations of the warning decals.
If a decal is missing or illegible, call the telephone number on the front cover of this manual and request a free replacement decal. Apply the decal in the location shown.
Note: The decals may not be shown at their actual size.
NORDICTRACK is a registered trademark of ICON Health & Fitness, Inc.
IMPORTANT PRECAUTIONS
WARNING: To reduce the risk of burns, fire, electric shock, or injury to persons, read all important precautions and instructions in this manual and all warnings on your treadmill before using your treadmill. ICON assumes no responsibility for personal injury or property damage sustained by or through the use of this product.
- It is the responsibility of the owner to ensure that all users of this treadmill are adequately informed of all warnings and precautions.
- Before beginning any exercise program, consult your physician. This is especially important for persons over age 35 or persons with pre-existing health problems.
- The treadmill is not intended for use by persons with reduced physical, sensory, or mental capabilities or lack of experience and knowledge unless they have been given supervision or instruction concerning the use of the treadmill by someone responsible for their safety.
- Use the treadmill only as described in this manual.
- The treadmill is intended for home use only.
Do not use the treadmill in any commercial, rental, or institutional setting. - Keep the treadmill indoors, away from moisture and dust. Do not put the treadmill in a garage or covered patio, or near water.
- Place the treadmill on a level surface, with at least 8 ft. (2.4 m) of clearance behind it and 2 ft. (0.6 m) on each side. Do not place the treadmill on any surface that blocks air openings. To protect the floor or carpet from damage, place a mat under the treadmill.
- Do not operate the treadmill where aerosol products are used or where oxygen is being administered.
- Keep children under age 13 and pets away from the treadmill at all times.
- The treadmill should be used only by persons weighing 300 lbs. (136 kg) or less.
- Never allow more than one person on the treadmill at a time.
- Wear appropriate exercise clothes while using the treadmill. Do not wear loose clothes that could become caught in the treadmill. Athletic support clothes are recommended for both men and women.
Always wear athletic shoes. Never use the treadmill with bare feet, wearing only stockings, or in sandals. - Plug the power cord into a surge suppressor (not included), and plug the surge suppressor into an appropriate outlet (see page 17).
To avoid overloading the circuit, do not plug other electrical devices, except for low-power devices such as cell phone chargers, into the surge suppressor or into an outlet on the same circuit. - Use only a surge suppressor that meets all of the specifications described on page 17.
To purchase a surge suppressor, see your local NORDICTRACK dealer, call the telephone number on the front cover of this manual, or see your local electronics store. - Failure to use a properly functioning surge suppressor could result in damage to the control system of the treadmill. If the control system is damaged, the walking belt may slow, accelerate, or stop unexpectedly, which may result in a fall and serious injury.
- Keep the power cord and the surge suppressor away from heated surfaces.
- Never move the walking belt while the power is turned off. Do not operate the treadmill if the power cord or plug is damaged, or if the treadmill is not working properly. (See MAINTENANCE AND TROUBLESHOOTINGon page 27 if the treadmill is not working properly.)
- Read, understand, and test the emergency stop procedure before using the treadmill (see HOW TO TURN ON THE POWER on page 19).
Always wear the clip while using the treadmill. - Always stand on the foot rails when starting or stopping the walking belt. Always hold the handrails while using the treadmill.
- When a person is walking on the treadmill, the noise level of the treadmill will increase.
- Keep fingers, hair, and clothing away from the moving walking belt. The treadmill is capable of high speeds. Adjust the speed in small increments to avoid sudden jumps in speed.
- The heart rate monitor is not a medical device. Various factors, including the user’s movement, may affect the accuracy of heart rate readings. The heart rate monitor is intended only as an exercise aid in determining heart rate trends in general.
- Never leave the treadmill unattended while it is running. Always remove the key, press the power switch into the off position (see the drawing on page 6 for the location of the power switch), and unplug the power cord when the treadmill is not in use.
- Do not attempt to move the treadmill until it is properly assembled. (See ASSEMBLY on page 8 and HOW TO FOLD AND MOVE THE TREADMILL on page 26.) You must be able to safely lift 45 lbs. (20 kg) to move the treadmill.
- When folding or moving the treadmill, make sure that the storage latch is holding the frame securely in the storage position.
- Do not change the incline of the treadmill by placing objects under the treadmill.
- Never insert any object into any opening on the treadmill.
- Inspect and properly tighten all parts each time the treadmill is used.
- DANGER: Always unplug the power cord immediately after use, before cleaning the treadmill, and before performing the maintenance and adjustment procedures described in this manual. Never remove the motor hood unless instructed to do so by an authorized service representative. Servicing other than the procedures in this manual should be performed by an authorized service representative only.
- Over-exercising may result in serious injury or death. If you feel faint, if you become short of breath, or if you experience pain while exercising, stop immediately and cool down.
SAVE THESE INSTRUCTIONS
BEFORE YOU BEGIN
Thank you for selecting the new NORDICTRACK T 6.5 S treadmill. The T 6.5 S treadmill provides an impressive selection of features designed to make your workouts at home more effective and enjoyable.
For your benefit, read this manual carefully before you use the treadmill. If you have questions after reading this manual, please see the front cover of this manual. To help us assist you, note the product model number and serial number before contacting us. The model number and the location of the serial number decal are shown on the front cover of this manual.
Before reading further, please familiarize yourself with the parts that are labeled in the drawing below.

PART IDENTIFICATION CHART
Use the drawings below to identify small parts used for assembly. The number in parentheses below each drawing is the key number of the part, from the PART LIST near the end of this manual.
The number following the key number is the quantity used for assembly.
Note: If a part is not in the hardware kit, check to see whether it is preattached. Extra parts may be included.

ASSEMBLY
- Assembly requires two persons.
- Place all parts in a cleared area and remove the packing materials. Do not dispose of the packing materials until you fi nish all assembly steps.
- After shipping, there may be an oily substance on the exterior of the treadmill. This is normal. If there is an oily substance on the treadmill, wipe
it off with a soft cloth and a mild, non-abrasive cleaner. - Left parts are marked “L” or “Left” and right parts are marked “R” or “Right.”
- To identify small parts, see page 7.
- Assembly requires the following tools: the included hex keys
one Phillips screwdriver
To avoid damaging parts, do not use power tools.
- Go to www.nordictrackservice.com/registration on your computer and register your product.
• activates your warranty
• saves you time if you ever need to contact Customer Care
• allows us to notify you of upgrades and offers
Note: If you do not have Internet access, call Customer Care (see the front cover of this manual) and register your product.
- Make sure that the power cord is unplugged.
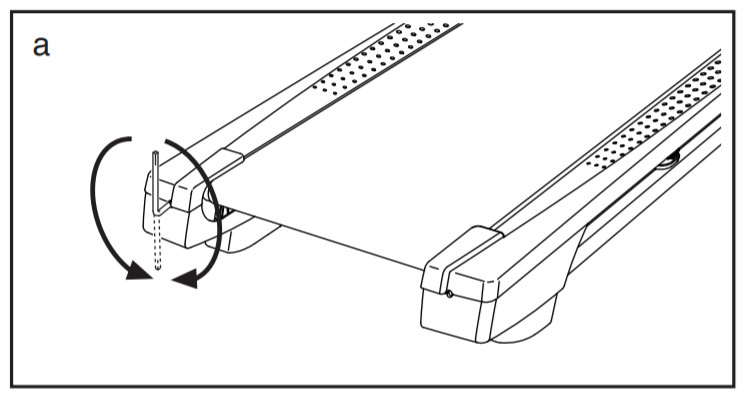
Press a Base Cap (74) into each side of the Base (6).
Identify the Right Upright (90). Have a second person hold the Right Upright near the Base (6).
See the inset drawing. Tie the wire tie in the Right Upright (90) securely around the end of the Upright Wire (81). Then, insert the Upright
Wire into the lower end of the Right Upright as you pull the other end of the wire tie through the Right Upright.
- Lay the Right Upright (90) near the Base (6).
Press the Grommet (77) into the square hole in the Right Upright (90). Make sure not to pinch the ground wire.
If there is a screw (A) preattached to the Right
Upright (90), remove and discard it.
Then, attach the ground wire to the Right Upright (90) with a #8 x 1/2″ Silver Screw (10).
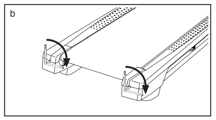
- Hold the Right Upright (90) against the Base (6). Be careful not to pinch the wires. Partially tighten three 3/8″ x 4″ Screws (7) with three 3/8″
Star Washers (13) into the Right Upright and the
Base; do not fully tighten the Screws yet.
Attach the Left Upright (not shown) in the same way.
Note: There are no wires on the left side.
- Identify the Left and Right Base Covers (82, 83).
Slide the Left and Right Base Covers onto the Left and Right Uprights (89, 90) as shown. Do not press the Left and Right Base Covers into place yet.
- Identify the Right Handrail (84).
Attach the Right Handrail (84) to the Right Upright (90) with two 5/16″ x 3″ Screws (28) and two 5/16″ Star Washers (11); start both Screws,
and then tighten them. Make sure not to pinch the Upright Wire (81).
Attach the Left Handrail (not shown) to the Left Upright (not shown) in the same way.
Note: There are no wires on the left side.
- Set the Console Base (64) face down on a soft surface to avoid scratching the Console Base.
Remove and discard the two indicated screws (B). Then, remove the Pulse Crossbar (93).
- If there are four screws (C) preattached inside the Handrails (84, 85), remove and discard the screws.
IMPORTANT: To avoid damaging the Pulse Crossbar (93), do not use power tools and do not overtighten the #10 x 1 1/4″ Screws (9).
Orient the Pulse Crossbar (93) as shown.
Attach the Pulse Crossbar to the Right and Left
Handrails (84, 85) with four #10 x 1 1/4″ Screws (9) and four #10 Star Washers (5); start all four Screws, and then tighten them.
- With the help of a second person, hold the console assembly near the Right Handrail (84) and the Left Handrail (not shown).
Connect the ground wire from the console assembly to the Console Ground Wire (58) on the Pulse Crossbar (93).
See the inset drawing.
Connect the Upright Wire (81) to the console wire. The connectors should slide together easily and snap into place. If they do not, turn one connector and try again.
IF YOU DO NOT CONNECT THE CONNECTORS PROPERLY, THE CONSOLE MAY BECOME DAMAGED WHEN YOU TURN ON THE POWER.
Then, remove the wire tie from the Upright Wire.
- Set the console assembly on the Right and Left
Handrails (84, 85). Make sure that no wires are pinched. Insert the excess Upright Wire (81) into the Right Upright (90).
Attach the console assembly to the brackets on the Handrails (84, 85) with four 1/4″ x 1/2″ Screws (4); do not tighten the Screws yet.
- Attach the Pulse Crossbar (93) to the console assembly with six #8 x 1/2″ Screws (1); start all six Screws, and then tighten them.
Firmly tighten the four 1/4″ x 1/2″ Screws (4).
- Attach the Right and Left Trays (27, 36) with four #8 x 1/2″ Screws (1).

- Raise the Frame (56) to the upright position.
Have a second person hold the Frame until step 15 is completed.
Orient the Latch Crossbar (41) as shown. Make sure that the “This side toward belt” sticker (D) is facing the treadmill. Attach the Latch
Crossbar to the brackets on the Frame (56) with two 5/16″ x 3/4″ Screws (8) and two 5/16″ Star Washers (11).
- Remove the 5/16″ Nut (34) and the 5/16″ x 1 3/4″
Bolt (62) from the bracket on the Base (6).
Orient the Storage Latch (26) so that the decals are facing away from the treadmill as shown.
Next, orient the Storage Latch (26) as shown.
Attach the lower end of the Storage Latch (26) to the bracket on the Base (6) with the 5/16″ x 1 3/4″ Bolt (62) and the 5/16″ Nut (34).
Then, raise the Storage Latch (26) to a vertical position, and remove the tie.
- Remove the 5/16″ Nut (34) and the 5/16″ x 2 1/4″
Bolt (63) from the bracket on the Latch Crossbar (41).
Align the upper end of the Storage Latch (26) with the bracket on the Latch Crossbar (41), and insert the 5/16″ x 2 1/4″ Bolt (63) through the
bracket and the Storage Latch. This will push a spacer (E) out of the Storage Latch; discard the spacer.
Next, tighten the 5/16″ Nut (34) onto the 5/16″ x 2 1/4″ Bolt (63). Do not overtighten the Nut; the Storage Latch (26) must be able to pivot.
Then, lower the Frame (56) (see HOW TO LOWER THE TREADMILL FOR USE on page 26).
- Firmly tighten all six 3/8″ x 4″ Screws (7).
Then, slide the Left and Right Base Covers (82, 83) downward.
- Make sure that all parts are properly tightened before you use the treadmill. If there are sheets of plastic on the treadmill decals, remove the plastic. To protect the floor or carpet, place a mat under the treadmill. To avoid damage to the console, keep the treadmill out of direct sunlight. Keep the included hex key in a secure place; the hex key is used to adjust the walking belt (see pages 28 and 29). Note: Extra hardware may be
included.
HOW TO USE THE TREADMILL
HOW TO CONNECT THE POWER CORD
Use a Surge Suppressor
Your treadmill, like other electronic equipment, can be damaged by sudden voltage changes in your home’s power. Voltage surges, spikes, and noise interference can result from weather conditions or from other appliances being turned on or off.
To decrease the risk of damaging the treadmill, always use a surge suppressor with the treadmill. To purchase a surge suppressor, see precaution 14 on page 3.
Use only a surge suppressor that is UL 1449 listed as a transient voltage surge suppressor (TVSS). The surge suppressor must have a UL suppressed voltage rating of 400 volts or less and a minimum surge dissipation of 450 joules. The surge suppressor must also be electrically rated for 120 volts
AC and 15 amps. There must be a monitoring light on the surge suppressor to indicate whether it is functioning properly.
Failure to use a properly functioning surge suppressor could result in damage to the control system of the treadmill and serious injury to
users.
Plugin the Power Cord
The treadmill must be grounded. If it should malfunction or break down, grounding provides a path of least resistance for electric current to reduce the risk of electric shock.
The treadmill power cord has a plug with a grounding pin (see drawing 1 on this page).
DANGER: Improper connection of the power cord increases the risk of electric shock. Do not modify the plug—if it will not fit an outlet, have a proper outlet installed by a qualified electrician. If you are unsure whether the treadmill is properly grounded, contact a qualified electrician.
Plug the power cord into a surge suppressor, and plug the surge suppressor into an appropriate outlet that is properly installed and grounded in accordance with all local codes and ordinances. The outlet must be on a nominal 120-volt circuit capable of carrying 15 or more amps. To avoid overloading the circuit, do not plug other electrical devices, except for low-power devices such as cell phone chargers, into the surge suppressor or into an outlet on the same circuit.
IMPORTANT: If the treadmill is connected to an AFCI-equipped outlet and your circuit breaker trips repeatedly when the treadmill is used, see the front cover of this manual to purchase an arc filter.

A temporary adapter may be used to connect the surge suppressor to a 2-pole receptacle if a properly grounded outlet is not available.

The lug or wire extending from the adapter must be connected with a metal screw to a permanent ground such as a properly grounded outlet box cover.
Some 2-pole receptacle outlet box covers are not grounded. Before using an adapter, contact a qualified electrician to determine whether the outlet box cover is grounded. The temporary adapter should be used only until a properly grounded outlet can be installed by a qualified electrician.
CONSOLE DIAGRAM

FEATURES OF THE CONSOLE
The treadmill console offers an impressive array of features designed to make your workouts more effective and enjoyable. When you use the manual mode, you can change the speed and incline of the treadmill with the touch of a button.
As you exercise, the console will display instant exercise feedback. You can even measure your heart rate using the handgrip heart rate monitor.
In addition, the console features a selection of onboard workouts. Each workout automatically controls the speed and incline of the treadmill as it guides you through an effective exercise session.
The console also features a revolutionary iFit mode that enables the treadmill to communicate with your wireless network through an optional iFit module.
With the iFit mode, you can download personalized workouts, create your own workouts, track your workout results, race against other iFit users, and access many other features. To purchase an iFit module at any time, go to www.iFit.com or call the telephone number on the front cover of this manual.
You can even listen to your favorite workout music or audiobooks with the console’s sound system while you exercise.
To turn on the power, see page 19. To use the manual mode, see page 19. To use an onboard workout, see page 21. To use a set-a-goal workout, see page 22. To use an iFit workout, see page 22. To use the settings mode, see page 23. To use the sound system, see page 25.
Note: The console can display speed and distance in either miles or kilometers. To find which unit of measurement is selected, see THE SETTINGS MODE on page 23. For simplicity, all instructions in this manual refer to miles.
IMPORTANT: If there are sheets of plastic on the console, remove the plastic. To prevent damage to the walking platform, wear clean athletic shoes
while using the treadmill. The first time you use the treadmill, observe the alignment of the walking belt, and center the walking belt if necessary (see
page 29).
HOW TO TURN ON THE POWER
IMPORTANT: If the treadmill has been exposed to cold temperatures, allow it to warm to room temperature before you turn on the power. If you do not do this, you may damage the console displays or other electrical components.
Plugin the power cord (see page 17). Next, locate the power switch on the treadmill frame near the power cord. Press the power switch into the reset
position.
IMPORTANT: The console features a display demo mode, designed to be used if the treadmill is displayed in a store. If the displays light as soon as you plug in the power cord and press the power switch into the reset position, the demo mode is turned on.
To turn off the demo mode, hold down the Stop button for a few seconds. If the displays remain lit, see THE SETTINGS MODE on page 23 to turn off the demo mode.

Next, stand on the foot rails of the treadmill. Find the clip attached to the key, and slide the clip onto the waistband of your clothes.
Then, insert the key into the console. After a moment, the displays will light.
IMPORTANT: In an emergency, the key can be pulled from the console, causing the walking belt to slow to a stop. Test the clip by carefully taking a few steps backward; if the key is not pulled from the console, adjust the position of the clip.
IMPORTANT: Before you use the treadmill, take the following steps to ensure that the console shows the correct incline level of the treadmill: First, press the Incline increase button once. Next, press either the Incline decrease button or the lowest numbered incline button to set the treadmill to its lowest setting. When the frame stops moving, the treadmill is ready for use.
HOW TO USE THE MANUAL MODE
- Insert the key into the console.
See HOW TO TURN ON THE POWER at the left. - Select the manual mode.
Press the Manual button on the console to select the manual mode. - Start the walking belt.
To start the walking belt, press the Start button, the
Speed increase button or one of the Speed buttons numbered 1 through 10.
If you press the Start button or the Speed increase button, the walking belt will begin to move at 1 mph. As you exercise, change the speed of the walking belt as desired by pressing the Speed increase and decrease buttons. Each time you press one of the buttons, the speed setting will change by 0.1 mph; if you hold down the button, the speed setting will change in increments of 0.5 mph. Note: After you press the button, it may take a moment for the walking belt to reach the selected speed setting.
If you press one of the numbered Speed buttons, the walking belt will gradually change speed until it reaches the selected speed setting.
To stop the walking belt, press the Stop button. The time will begin to flash in the display. To restart the walking belt, press the Start button or the Speed increase button. - Change the incline of the treadmill as desired.
To change the incline of the treadmill, press the Incline increase or decrease button or one of the Incline buttons numbered 0 through 10. Each time you press one of the buttons, the treadmill will gradually adjust to the selected incline setting. - Follow your progress with the displays.
When the manual mode is selected, the upper half of the display will show a track that represents 1/4 mile (400 m). As you walk or run, indicators will appear in succession around the track until the entire track appears.
The track will then disappear and the indicators will again begin to appear in succession.
The upper half of the display can also show the elapsed time, the distance you have walked or run, the speed of the walking belt, the approximate number of calories you have burned, your pace, and the incline of the treadmill. Press the Display button repeatedly until the desired workout information appears.
The lower-left corner of the display will show the elapsed time, the distance that you have walked or run, and the incline level of the treadmill. Note: When an onboard workout is selected, the display will show the time remaining in the workout instead of the elapsed time.
The lower right corner of the display will show the approximate number of calories you have burned, the speed of the walking belt, and your pace. The right side of the display will also show your heart rate when you use the handgrip heart rate monitor.
To reset the display, press the Stop button, remove the key, and then reinsert the key. - Measure your heart rate if desired.
Before using the handgrip heart rate monitor, remove the sheets of plastic from the metal contacts on the pulse bar. In addition, make sure that your hands are clean.
To measure your heart rate, stand on the foot rails and hold the pulse bar with your palms on the contacts; avoid moving your hands. When your pulse is detected, several dashes will appear and then your heart rate will be shown. For the most accurate heart rate reading, continue to hold the contacts for about 15 seconds. - When you are finished exercising, remove the key from the console.
Step onto the foot rails, press the Stop button, and adjust the incline of the treadmill to zero. The incline must be at zero or you may damage the treadmill when you fold it to the storage position. Next, remove the key from the console and put it in a secure place.
When you are finished using the treadmill, press the power switch into the off position and unplug the power cord.
IMPORTANT: If you do not do this, the treadmill’s electrical components may wear prematurely.
HOW TO USE AN ONBOARD WORKOUT
- Insert the key into the console.
See HOW TO TURN ON THE POWER on page 19. - Select an onboard workout.
To select an onboard workout, press the Calorie button, the Intensity button, the Incline button, or the Speed button repeatedly until the desired workout appears in the display.
When you select an onboard workout, the displays will show the maximum incline, the maximum speed, and the duration of the workout. In addition, a profile of the speed settings of the workout will appear in the matrix. - Start the workout.
Press the Start button or the Speed increase button to start the workout. A moment after you press the button, the treadmill will automatically adjust to the first speed and incline settings of the workout. Hold the handrails and begin walking.
Each workout is divided into segments. One speed setting and one incline setting are programmed for each segment. Note: The same speed setting and/ or incline setting may be programmed for consecutive segments.
During some workouts, the profile may show your progress.
The flashing segment of the profile represents the current segment of the workout.
The height of the flashing segment indicates the speed setting for the current segment. Current Segment
At the end of each segment, a series of tones will sound. If a new speed and/or incline setting is programmed for the next segment, the new speed and/or incline setting will flash in the displays for a few seconds. The treadmill will automatically adjust to the new speed and/or incline setting. The workout will continue in this way until the last segment of the profile flashes in the display and the last segment ends. The walking belt will then slow to a stop.
If the speed or incline setting is too high or too low at any time during the workout, you can manually override the setting by pressing the Speed or Incline buttons; however, when the next segment of the workout begins, the treadmill will automatically adjust to the speed and incline settings for the next segment.
To stop the workout at any time, press the Stop button. The time will begin to flash in the display.
To resume the workout, press the Start button or the Speed increase button. The walking belt will begin to move at 1 mph. When the next segment of the workout begins, the treadmill will automatically adjust to the speed and incline settings for the next segment. - Follow your progress with the displays.
See step 5 on page 20. - Measure your heart rate if desired.
See step 6 on page 20. - When you are finished exercising, remove the key from the console.
See step 7 on page 20.
HOW TO USE A SET-A-GOAL WORKOUT
- Insert the key into the console.
See HOW TO TURN ON THE POWER on page 19. - Set calories, distance, or time goals.
Press the Set A Goal button repeatedly until the name of the desired goal appears in the display.
Then, press the increase and decrease buttons next to the Enter button to set the desired goal. - Start the workout.
Press the Start button to start the workout. A moment after you press the button, the walking belt will begin to move. Hold the handrails and begin walking.
The workout will function in the same way as the manual mode (see pages 19 to 20).
The workout will continue until you reach the goal that you set. The walking belt will then slow to a stop.
Note: The calorie goal is an estimate of the number of calories that you will burn during the workout. The actual number of calories that you burn will depend on various factors such as your weight. - Follow your progress with the displays.
See step 5 on page 20. - Measure your heart rate if desired.
See step 6 on page 20. - When you are finished exercising, remove the key from the console.
See step 7 on page 20.
HOW TO USE AN IFIT WORKOUT
Note: To use an iFit workout, you must have an optional iFit module.
To purchase an iFit module at any time, go to www.iFit.com or call the telephone number on the front cover of this manual.
You must also have access to a computer with a USB port and an internet connection. In addition, you must have access to a wireless network including an 802.11b/g/n router with SSID broadcast enabled (hidden networks are not supported). An iFit.com membership is also required.
- Insert the key into the console.
See HOW TO TURN ON THE POWER on page 19. - Insert the iFit module into the console.
To insert the iFit module, see the instructions included with the iFit module.
IMPORTANT: To satisfy exposure compliance requirements, the antenna and transmitter in the iFit module must be at least 8 in. (20 cm)
from all persons and must not be near or connected to any other antenna or transmitter. - Select a user.
If more than one user is registered, you can switch users in the iFit main screen. Press the increase and decrease buttons next to the Enter button to select a user. - Select an iFit workout.
To download an iFit workout in your schedule, press the Map, Train, or Lose Wt. button to download the next workout of that type in your schedule.
To compete in a race that you have previously scheduled, press the Compete button.
To re-run a recent iFit workout from your schedule, first press the Track button. Next, press the increase and decrease buttons to select the desired workout.
Then, press the Enter button to start the workout.
For more information about the iFit workouts, please see www.iFit.com.
When you select an iFit workout, the display will show the name, duration, maximum speed setting, and distance of the workout. The display will also show the approximate number of calories you will burn during the workout and a profile of the speed settings of the workout.
If you select a competition workout, the display may count down to the beginning of the race.
Note: Each iFit button may also run demo workouts.
To use the demo workouts, remove the iFit module from the console and press one of the iFit buttons. - Start the workout.
See step 3 on page 21.
During some workouts, an audio coach may guide you through your workout. You can select a setting for your audio coach (see THE SETTINGS MODE on page 23).
To stop the workout at any time, press the Stop button. The time will begin to fl ash in the display.
To resume the workout, press the Start button or the Speed increase button. The walking belt will begin to move at the speed setting for the fi rst segment of the workout. When the next segment of the workout begins, the treadmill will automatically adjust to the speed and incline settings for the next segment. - Follow your progress with the displays.
See step 5 on page 20.
The console will show a map of the trail you are walking or running or it will show a track and the number of laps you complete.
During a competition workout, the console will show your progress in the race. As you race, the top line in the matrix will show how much of the race you have completed. The other lines will show your top four competitors. The end of the matrix represents the end of the race. - Measure your heart rate if desired.
See step 6 on page 20. - When you are fi finished exercising, remove the key from the console.
See step 7 on page 20.
For more information about the iFit mode, go to www.iFit.com.
THE SETTINGS MODE
The console features a settings mode that keeps track of treadmill information and allows you to personalize console settings.
- Select the settings mode.
To select the settings mode, press the Settings button. When the settings mode is selected, the following information will be shown:
The time display will show the total number of hours that the treadmill has been used.
The distance display will show the total number of miles (or kilometers) that the walking belt has moved.
The display will show the status of an iFit module.
If an iFit module is connected, the display will show the words WIFI MODULE. - Select the optional screens.
While the settings mode is selected, the matrix will display several optional screens. Press the decrease button next to the Enter button to select each of the following screens:
UNITS—To change the unit of measurement, press the Enter button. To view distance in miles, select ENGLISH. To view distance in kilometers, select METRIC.
DEMO—The console features a display demo mode, designed to be used if the treadmill is displayed in a store. While the demo mode is turned on, the console will function normally when you plug in the power cord, press the power switch into the reset position, and insert the key into the console.
However, when you remove the key, the displays will remain lit, although the buttons will not function. If the demo mode is turned on, the word ON will appear in the matrix.
To turn on or turn off the demo mode, press the Enter button.
If an iFit module is connected, you may also select the following screens:
TRAINER VOICE—To turn on or turn off the audio coach, press the Enter button.
DEFAULT MENU—The default menu will appear when you insert the key into the console or when you press the Home button. Press the Enter button repeatedly to select the manual main screen or the iFit screen as the default menu.
CHECK WIFI STATUS—Press the Enter button to check the status of your iFit module. The lower display will show the software version number, the network SSID, the network encryption type, the connection status, the wireless signal strength, the IP address of the module, the number of registered users and their names, the results of the DNS lookup, and the status of the iFit server.
SEND/RECEIVE DATA—To send and receive workouts, workout logs, and updates, press the Enter button. When the process is fi finished, the words transfer DONE will appear in the display. - Exit the settings mode.
To exit the settings mode, press the Settings button.
HOW TO USE THE SOUND SYSTEM
To play music or audiobooks through the console sound system while you exercise, plug a 3.5 mm male to 3.5 mm male audio cable (not included) into the jack on the console and into a jack on your MP3 player, CD player, or another personal audio player; make sure that the audio cable is fully plugged in.
Note: To purchase an audio cable, see your local electronics store.
Next, press the play button on your MP3 player, CD player, or another personal audio player. Adjust the volume on your personal audio player or press
the volume increase and decrease buttons on the console.
If you are using a personal CD player and the CD skips, set the CD player on the floor or another flat surface instead of on the console.
HOW TO ADJUST THE CUSHIONING SYSTEM
The treadmill features a cushioning system that reduces the impact as you walk or run on the treadmill.
Remove the key from the console and unplug the power cord.
In order to adjust the cushions, you may need to place the treadmill in the storage position (see HOW TO FOLD THE TREADMILL on page 26).
For a more fi rm walking platform, turn a cushion to the position shown in drawing 1; for a less fi rm walking platform, turn the cushion to the position shown in drawing 2.
Adjust the other cushions in the same way.
Note: Make sure that the cushions on the left and right sides of the treadmill are set to the same firmness level. The faster you run on the treadmill, or the more you weigh, the firmer the walking platform should be.
HOW TO FOLD AND MOVE THE TREADMILL
HOW TO FOLD THE TREADMILL
To avoid damaging the treadmill, adjust the incline to zero before you fold the treadmill. Then, remove the key and unplug the power cord. CAUTION: You must be able to safely lift 45 lbs. (20 kg) to raise, lower, or move the treadmill.
- Hold the metal frame fi only in the location shown by the arrow below.
CAUTION: Do not hold the frame by the plastic foot rails. Bend your legs and keep your back straight.
- Raise the frame until the storage latch locks in the storage position.
CAUTION: Make sure that the storage latch locks.
To protect the fl our or carpet, place a mat under the treadmill. Keep the treadmill out of direct sunlight.
Do not leave the treadmill in the storage position in temperatures above 85° F (30° C).
HOW TO MOVE THE TREADMILL
Before moving the treadmill, fold it as described at the left.
CAUTION: Make sure that the latch knob is locked in the storage position. Moving the treadmill may require two people.
- Hold the frame and one of the handrails, and place one foot against a wheel.

- Pull back on the handrail until the treadmill will roll on the wheels, and carefully move it to the desired location.
CAUTION: Do not move the treadmill without tipping it back, do not pull on the frame, and do not move the treadmill over an uneven surface.
HOW TO LOWER THE TREADMILL FOR USE
- Push the upper end of the frame forward, and gently press the upper part of the storage latch with your foot at the same time.
- While pressing the storage latch with your foot, pull the upper end of the frame toward yourself.
- Step back and let the frame lower to the floor.

MAINTENANCE AND TROUBLESHOOTING
MAINTENANCE
Regular maintenance is important for optimal performance and to reduce wear. Inspect and properly tighten all parts each time the treadmill is used.
Regularly clean the treadmill and keep the walking belt clean and dry. First, press the power switch into the off position and unplug the power cord. Wipe exterior parts of the treadmill with a damp cloth and a small amount of mild soap.
IMPORTANT: Do not spray liquids directly onto the treadmill. To avoid damage to the console, keep liquids away from the console. Then, thoroughly dry the treadmill with a soft towel.
TROUBLESHOOTING
Most treadmill problems can be solved by following the simple steps below. Find the symptom that applies, and follow the steps listed. If further assistance is needed, see the front cover of this manual.
SYMPTOM: The power does not turn on
a. Make sure that the power cord is plugged into a surge suppressor and that the surge suppressor is plugged into a properly grounded outlet (see page
17). Use only a surge suppressor that meets all of the specifi cations described on page 17.
IMPORTANT: If the treadmill is connected to an AFCI-equipped outlet and your circuit breaker trips repeatedly when the treadmill is used, see the front cover of this manual to purchase an arc fi later.
b. After the power cord has been plugged in, make sure that the key is inserted into the console.
c. Check the power switch located on the treadmill frame near the power cord. If the switch protrudes as shown, the switch has tripped. To reset the power switch, wait for five minutes and then press the switch back in.

SYMPTOM: The power turns off during use
a. Check the power switch (see drawing c at the left).
If the switch has tripped, wait for five minutes and then press the switch back in.
b. Make sure that the power cord is plugged in. If the power cord is plugged in, unplug it, wait for five minutes, and then plug it back in.
c. Remove the key from the console and then reinsert it.
d. If the treadmill still will not run, please see the front cover of this manual.
SYMPTOM: The console displays remain lit when you remove the key from the console
a. The console features a display demo mode, designed to be used if the treadmill is displayed in a store. If the displays remain lit when you remove
the key, the demo mode is turned on. To turn off the demo mode, hold down the Stop button for a few seconds. If the displays are still lit, see THE
SETTINGS MODE on page 23 to turn off the demo mode.
SYMPTOM: The displays of the console do not function properly
a. Remove the key from the console and UNPLUG THE POWER CORD. Next, remove the fi ve #8 x 3/4″ Truss Head Screws (31), and carefully pivot the Motor Hood (65) off.

Next, locate the Reed Switch (52) and the Magnet (50) on the left side of the Pulley (49). Turn the Pulley until the Magnet is aligned with the Reed Switch. Make sure that the gap between the Magnet and the Reed Switch is about 1/8 in. (3 mm). If necessary, loosen the #8 x 3/4″ Tek Screw
(14), move the Reed Switch slightly, and then retighten the Tek Screw. Reattach the Motor Hood (not shown), and run the treadmill for a few minutes to check for a correct speed reading.

SYMPTOM: The incline of the treadmill does not change correctly
a. Hold down the Stop button and the Speed increase button, insert the key into the console and then release the Stop button and the Speed increase button. Next, press the Stop button and then press the Incline increase or decrease button. The treadmill will automatically rise to the maximum incline level and then return to the minimum level.
This will recalibrate the incline system. If the incline system does not begin calibrating, press the Stop button again, and then press the Incline increase or decrease button again. When the incline system is calibrated, remove the key from the console.
SYMPTOM: The walking belt slows when walked on
a. Use only a surge suppressor that meets all of the specifi cations described on page 17.
b. If the walking belt is overtightened, treadmill performance may decrease and the walking belt may become damaged. Remove the key and UNPLUG THE POWER CORD. Using the hex key, turn both idler roller screws counterclockwise, 1/4 of a turn.
When the walking belt is properly tightened, you should be able to lift each edge of the walking belt 2 to 3 in. (5 to 7 cm) off the walking platform. Be careful to keep the walking belt centered.
Then, plug in the power cord, insert the key and run the treadmill for a few minutes. Repeat until the walking belt is properly tightened.
c. Your treadmill features a walking belt coated with high-performance lubricant.
IMPORTANT: Never apply silicone spray or other substances to the walking belt or the walking platform unless instructed to do so by an authorized service representative. Such substances may deteriorate the walking belt and cause excessive wear.
If you suspect that the walking belt needs more lubricant, see the front cover of this manual.
d. If the walking belt still slows when walked on, see the front cover of this manual.
SYMPTOM: The walking belt is off-center or slips when walked on
a. If the walking belt is off-center, first remove the key and UNPLUG THE POWER CORD. If the walking belt has shifted to the left, use the hex key to turn the left idler roller screw clockwise 1/2 of a turn; if the walking belt has shifted to the right, turn the left idler roller screw counterclockwise 1/2 of a turn. Be careful not to overtighten the walking belt.
Then, plug in the power cord, insert the key and run the treadmill for a few minutes. Repeat until the walking belt is centered.

b. If the walking belt slips when walked on, first remove the key and UNPLUG THE POWER CORD. Using the hex key, turn both idler roller screws clockwise, 1/4 of a turn. When the walking belt is correctly tightened, you should be able to lift each edge of the walking belt 2 to 3 in. (5 to 7 cm) off the walking platform. Be careful to keep the walking belt centered. Then, plug in the power cord, insert the key, and carefully walk on the treadmill for a few minutes. Repeat until the walking belt is properly tightened.

EXERCISE GUIDELINES
WARNING: Before beginning, this or any exercise program, consult your physician. This is especially important for persons over age 35 or persons with pre-existing health problems.
The heart rate monitor is not a medical device.
Various factors may affect the accuracy of heart rate readings. The heart rate monitor is intended only as an exercise aid in determining heart rate trends in general.
These guidelines will help you to plan your exercise program. For detailed exercise information, obtain a reputable book or consult your physician. Remember, proper nutrition and adequate rest are essential for successful results.
EXERCISE INTENSITY
Whether your goal is to burn fat or to strengthen your cardiovascular system, exercising at the proper intensity is the key to achieving results.
You can use your heart rate as a guide to finding the proper intensity level.
The chart below shows recommended heart rates for fat burning and aerobic exercise.

To find the proper intensity level, find your age at the bottom of the chart (ages are rounded off to the nearest ten years).
The three numbers listed above your age define your “training zone.” The lowest number is the heart rate for fat burning, the middle number is the heart rate for maximum fat burning, and the highest number is the heart rate for aerobic exercise.
Burning Fat—To burn fat effectively, you must exercise at a low-intensity level for a sustained period of time. During the first few minutes of exercise, your body uses carbohydrate calories for energy. Only after the first few minutes of exercise does your body begin to use stored fat calories for energy. If your goal is to burn fat, adjust the intensity of your exercise until your heart rate is near the lowest number in your training zone. For maximum fat burning, exercise with your heart rate near the middle number in your training zone.
Aerobic Exercise—If your goal is to strengthen your cardiovascular system, you must perform aerobic exercise, which is an activity that requires large amounts of oxygen for prolonged periods of time. For aerobic exercise, adjust the intensity of your exercise until your heart rate is near the highest number in your training zone.
WORKOUT GUIDELINES
Warming Up—Start with 5 to 10 minutes of stretching and light exercise.
A warm-up increases your body temperature, heart rate, and circulation in preparation for exercise.
Training Zone Exercise—Exercise for 20 to 30 minutes with your heart rate in your training zone. (During the first few weeks of your exercise program, do not keep your heart rate in your training zone for longer than 20 minutes.) Breathe regularly and deeply as you exercise; never hold your
breath.
Cooling Down—Finish with 5 to 10 minutes of stretching. Stretching increases the flexibility of your muscles and helps to prevent post-exercise problems.
EXERCISE FREQUENCY
To maintain or improve your condition, complete three workouts each week, with at least one day of rest between workouts. After a few months of regular exercise, you may complete up to five workouts each week, if desired.
Remember, the key to success is to make exercise a regular and enjoyable part of your everyday life.
PART LIST
| Key No. | Qty. | Description | Key No. | Qty. | Description |
| 1 | 16 | #8 x 1/2″ Screw | 49 | 1 | Drive Roller/Pulley |
| 2 | 22 | #8 x 3/4″ Screw | 50 | 1 | Magnet |
| 3 | 2 | Base Pad | 51 | 1 | Reed Switch Clip |
| 4 | 4 | 1/4″ x 1/2″ Screw | 52 | 1 | Reed Switch |
| 5 | 4 | #10 Star Washer | 53 | 2 | 1/4″ x 1 1/2″ Screw |
| 6 | 1 | Base | 54 | 1 | Drive Motor |
| 7 | 6 | 3/8″ x 4″ Screw | 55 | 1 | Motor Belt |
| 8 | 2 | 5/16″ x 3/4″ Screw | 56 | 1 | Frame |
| 9 | 4 | #10 x 1 1/4″ Screw | 57 | 1 | Left Rear Foot |
| 10 | 9 | #8 x 1/2″ Silver Screw | 58 | 1 | Console Ground Wire |
| 11 | 6 | 5/16″ Star Washer | 59 | 4 | Rubber Cushion |
| 12 | 4 | #8 x 1″ Tek Screw | 60 | 1 | Right Foot Rail |
| 13 | 6 | 3/8″ Star Washer | 61 | 1 | Idler Roller |
| 14 | 1 | #8 x 3/4″ Tek Screw | 62 | 1 | 5/16″ x 1 3/4″ Bolt |
| 15 | 3 | 1/4″ x 2 1/2″ Screw | 63 | 1 | 5/16″ x 2 1/4″ Bolt |
| 16 | 1 | 3/8″ x 1 1/2″ Bolt | 64 | 1 | Console Base |
| 17 | 2 | 3/8″ x 1 1/2″ Wheel Bolt | 65 | 1 | Motor Hood |
| 18 | 1 | Console Frame | 66 | 1 | Hood Accent |
| 19 | 4 | #8 x 7/16″ Screw | 67 | 2 | Incline Frame Spacer |
| 20 | 2 | 1/4″ Motor Screw | 68 | 5 | Hood Clip |
| 21 | 2 | 3/8″ Pin | 69 | 1 | Incline Motor |
| 22 | 2 | 3/8″ x 1″ Bolt | 70 | 1 | Incline Frame |
| 23 | 4 | 5/16″ x 1 3/4″ Shoulder Bolt | 71 | 2 | Frame Spacer |
| 24 | 2 | #8 Star Washer | 72 | 1 | Controller |
| 25 | 4 | #8 x 1″ Screw | 73 | 1 | Controller Bracket |
| 26 | 1 | Storage Latch | 74 | 2 | Base Cap |
| 27 | 1 | Right Tray | 75 | 1 | Power Switch |
| 28 | 4 | 5/16″ x 3″ Screw | 76 | 1 | Power Cord |
| 29 | 1 | 3/8″ x 1 3/4″ Hex Head Bolt | 77 | 2 | Grommet |
| 30 | 4 | 5/16″ Flat Washer | 78 | 1 | Belly Pan |
| 31 | 5 | #8 x 3/4″ Truss Head Screw | 79 | 2 | Handrail Grip |
| 32 | 2 | Incline Motor Spacer | 80 | 1 | Console |
| 33 | 6 | 3/8″ Jam Nut | 81 | 1 | Upright Wire |
| 34 | 6 | 5/16″ Nut | 82 | 1 | Left Base Cover |
| 35 | 9 | 1/4″ Jam Nut | 83 | 1 | Right Base Cover |
| 36 | 1 | Left Tray | 84 | 1 | Right Handrail |
| 37 | 6 | #8 x 5/8″ Screw | 85 | 1 | Left Handrail |
| 38 | 2 | Wheel | 86 | 2 | Cable Tie |
| 39 | 4 | Isolator | 87 | 2 | Handrail Cap |
| 40 | 2 | Rear Foot | 88 | 1 | Key/Clip |
| 41 | 1 | Latch Crossbar | 89 | 1 | Left Upright |
| 42 | 1 | Left Foot Rail | 90 | 1 | Right Upright |
| 43 | 1 | Caution Decal | 91 | 2 | Warning Decal |
| 44 | 1 | Walking Platform | 92 | 2 | Console Clamp |
| 45 | 1 | Walking Belt | 93 | 1 | Pulse Crossbar |
| 46 | 2 | Belt Guide | 94 | 1 | Controller Clamp |
| 47 | 1 | Right Rear Foot | 95 | – | User’s Manual |
| 48 | 4 | Cable Tie | 96 | – | – |
Note: Specifications are subject to change without notice. For information about ordering replacement parts, see the back cover of this manual.
*These parts are not illustrated.
EXPLODED DRAWING
EXPLODED DRAWING A
Model No. NTL17915.1 R1215A

EXPLODED DRAWING B
Model No. NTL17915.1 R1215A

EXPLODED DRAWING C
Model No. NTL17915.1 R1215A

EXPLODED DRAWING D
Model No. NTL17915.1 R1215A



one Phillips screwdriver
To avoid damaging parts, do not use power tools.















When the manual mode is selected, the upper half of the display will show a track that represents 1/4 mile (400 m). As you walk or run, indicators will appear in succession around the track until the entire track appears.
The lower-left corner of the display will show the elapsed time, the distance that you have walked or run, and the incline level of the treadmill. Note: When an onboard workout is selected, the display will show the time remaining in the workout instead of the elapsed time.
The lower right corner of the display will show the approximate number of calories you have burned, the speed of the walking belt, and your pace. The right side of the display will also show your heart rate when you use the handgrip heart rate monitor.
Before using the handgrip heart rate monitor, remove the sheets of plastic from the metal contacts on the pulse bar. In addition, make sure that your hands are clean.
During some workouts, the profile may show your progress.
To protect the fl our or carpet, place a mat under the treadmill. Keep the treadmill out of direct sunlight.

















