walimex pro-FLB-100 Bi Fresnel LED Brightlight

OVERVIEW
We are pleased that you have chosen a Walimex pro product by WALSER. With our lights from the Walimex pro-Fresnel LED Brightlight 100 series you get high-performance and long-lasting top technology for professional demands. These Fresnel LED spotlights are ideal for event lighting, still photography, portraits or interviews. The beam angle of the light can be steplessly adjusted from 20° to 70°. The electronically controlled actuator of the lens ensures excellent handling and high-precision control. The extremely robust aluminum housing and the L-Type holder meet even the highest of standards. Thanks to excellent light quality with a CRI and TLCI of 97, flicker-free light, and exact color temperatures, this Fresnel light guarantees you lasting pleasure at work and ensures perfect results.
Features
- LED Fresnel light for photo and video projects of all kinds, very bright due to high-performance COB-LED technology
- Variable beam angle from 20 to 70 degrees, motorized focusing, directly adjustable on the device, removable barn doors
- 100 W output power per COB-LED for up to 4,800 Lux/2m, 780 Lux/5m, brightness DIMM -able 10 – 100 %, stepless adjustable color temperature (bi-color version), functions also controllable via DMX 512
- Available as 5,600 K Daylight or 3,200 – 5,600 K Bi-Colour version, CRI, and TLCI 97, flicker-free, very precise color temperatures
- Extremely rugged and professional made aluminum housing and L-Type bracket, thermal controlled Active Cooling System
We hope you enjoy using our product. Your team from WALSER!
CAUTION:
- Please read these user instructions thoroughly before you use this new equipment for the first time. It contains everything you need to know in order to avoid damage to persons or property.
- Strictly follow all notes on safety in these user instructions.
- Keep these user instructions in a safe place. If you sell your equipment or pass it on to someone else, you should also pass on these user instructions.
Understanding these user instructions correctly
Markings on the device
This symbol indicates that your device meets the safety requirements of all applicable EU directives
Waste disposal and protection of the environment
Electric and electronic appliances, as well as batteries, must not be disposed of together with domestic waste. The user is legally obliged to return electric and electronic appliances as well as batteries to specially set up public collecting points or to the sales outlet once the appliance has reached the end of its service life. Details are regulated by national law. The symbol on the product, in the user instructions, or on the packaging refers to these provisions. Recycling, material-sensitive recycling, or any other form of recycling of waste equipment/batteries is an important contribution to the protection of our environment.
Identifications in these user instructions
- Draws your attention to the dealing with and the effect of safety information.
- Draws your attention to a dangerous situation that can result in severe or even fatal injury if not avoided.
- Draws your attention to possible property or equipment damage and other important information in connection with your equipment.
- Indicates a hazardous situation that, if not avoided, may result in minor or moderate injury.
Important safety information
WARNING
The danger of blinding and eye damage
The optical radiation of the LED lamp can blind the eyes and cause after-vision if humans or animals look directly at the light source. This can lead to accidents and eye damage. Make sure that humans or animals do not look directly into the illuminant and keep a safe distance of at least 5 m, if necessary use diffusers between lamp and model or object. Do not use the lamp for illumination purposes when shooting small children or babies.
WARNING
The danger of crashing, entrapment, burning, and fire through the falling down of the device
The weight of the flash is, depending on the model up to 3500 g.
- Make sure, that the device is always positioned tilt and skid resistant and stored securely.
- Make sure that all fastening screws have been properly tightened.
- Keep out of reach of children and animals. They could overturn the device.
- Avoid placing cables where they can be tripped over. The device could be overturned.
WARNING
The danger of electric shock, burn hazard
Please note, that the device is still connected with the supply voltage even if it is switched off. Just after disconnecting the device from the power supply by pulling out the power cable, the device is actually de-energized.
- Switch off your device when it is not in use.
- Switch off your device before mounting and maintenance and disconnect from the power supply.
- Protect your device against unintended switching on.
- Unplug the power cord, if the flash is not in use for a long time.
WARNING: The danger of electric shock, fire through short-circuiting
A short circuit could be caused by defective cables and through humidity or moisture. A short-circuit can warm up the conductors so that their isolation will melt or even melt thoroughly. This could lead to a fire.
- Please just use the original cables, which are included in the delivery. They are aligned for your device and guarantee the necessary safety for you and your device.
- Don´t operate the device with wet hands or feet.
- Operate the device only in dry rooms.
- Don´t operate the device outdoors.
- Please only follow this instruction manual for cleaning your device.
- Make sure, that cables and conductors won´t be damaged. Damages could be caused by heat impact, chemical influence, or mechanical impacts such as rubbing, bending, tearing, rolling over, or nibbling animals.
- Prevent your device from falling off. In case of falling off, please let an electrician check the device before switching it on again.
- If your device should be damaged or defective or if you notice a burning smell:
- Disconnect the power supply by pulling out the power cord. Never operate your device with damaged housing, damaged reflector, defect modeling lamp, defect flash tube, or damaged power cord. Don´t open the device. Never repair the device on your own. The device should only be repaired by electricians.
- Please follow this instruction manual for maintaining your device.
- Please just use spare parts, which conform to the required specifications.
- Illuminants must only be replaced by a skilled electrician.
WARNING Fire danger through overheating
The device can overheat if you operate it with covered ventilation slots. The device itself or easily inflammable materials in the close distance could catch fire.
- Don´t cover the ventilation slots of the device during operation.
- Remove easily inflammable materials.
- Please just use spare parts, which conform to the required specifications.
WARNING: The danger of burning on hot parts
- The illuminant may reach temperatures of up to 40 °C.
- Don´t touch the parts during operation and cooling down.
- Please cool down your device before starting any mounting or maintenance arrangements.
WARNING
The danger of cutting and splintering caused by bursting illuminant
Illuminants can break or splinter when banging against the floodlight. Splinters can cause eye and skin injuries.
- Handle illuminants with care, to avoid breakage.
- Make sure you do not touch the illuminant by accident when mounting or replacing accessories.
WARNING: The danger of suffocation caused by small parts Keeps the device out of the reach of children and pets.
Unpacking and checking the device
- Carefully unpack the package content.
- Check whether the scope of delivery is complete.
- Please find full scope of delivery for your device on Page 41.
- Check whether the scope of delivery is free of damage.
NOTICE If the scope of delivery is incomplete or damaged, please contact info@walser.de
In the interest of product improvements, we reserve the right to make technical and visual changes. Illustrations may differ slightly. Not subject to identification or labeling as per Directive 2010/30/EU. Not suitable for illumination purposes in households. Specially developed for photo and video shooting requirements.
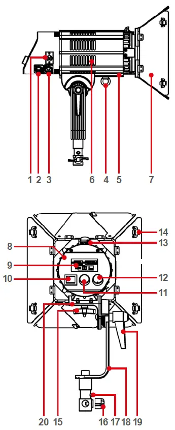
Overview of components and control elements
LED Light:
- Power socket 4-pin XLR
- DMX OUTPUT (3-PIN)
- DMX IN (3-PIN)
- Safety loop
- Mounting dovetail rail
- Louver
- Barndoors
- Control panel
- Display, illuminated
- Power ON/OFF switch <ON/OFF>
- Lens focus dimming knob <FOCUS>
- Multifunctional control knob dimmer / color temperature (only Bi-Color) / DMX channel setting <MODE>
- Barndoors lock clip
- Colorfilter clip (Color filter foil not included)
- Mounting rail locking screw
- Bracket locking screw
- Limit screw for insertion depth
- L-Type bracket (5/8 inch spigot)
- L-type bracket adjustment lever
- Mounting rail base of the bracket
Accessories:
- Barndoors
- L-type bracket with a fixation screw
- Power cord
- DMX cable (3-PIN)
- 4-pin power extension cable
- AC power adapter (120 W, 36 V Daylight, 54 V Bi-Color version)
- Safety cable
Quick reference guide
NOTICE: Detailed instructions for the following activities can be found in the relevant sections of these instructions for use. Strictly follow the sequence of the following activities during first time use, to prevent damage to the device.
WARNING
For all activities, follow the safety instructions in the relevant sections.
- Preparing the device for use/installation on a stand
- Power supply
- Operating the device, switching on-off, settings, and display signals
- Troubleshooting
Preparing the device for use
Mounting the L-Type bracket holder on the LED light
- Match the LED light mounting dovetail rail (5) with the mount mounting rail base of the bracket of the L-type bracket (20) and push it to the right place.
- Use the mounting rail locking screw of the L-type bracket (15) to fasten the light and L-type bracket.
- Check again that the holder is securely fixed.
- The lamp is correctly installed and ready for use.
- Proceed in reverse order to disassemble the device
Mounting the light on a lampstand/ ceiling mount
- Check the tightening torque of the L-type bracket adjustment lever (19) and tighten it if necessary.
- Check the tightening of the Mounting rail locking screw (15) and tighten it if necessary.
- Anticlockwise rotate the Bracket locking screw (16).
- Put the mount on the stand and fasten the screw again.
- The limit screw for the insertion depth (17) is required to be taken off a little bit if the light is put on a stand with the included junior pin 1 1/8“.
- Tighten the bracket locking screw (16) of the lamp holder again.
- Make sure that the mount is right in place and that all screws are fastened enough.
- Anticlockwise rotate the L-type bracket adjustment lever (19), adjust the light to the proper angle and clockwise fasten the lever again.
- The LED light is correctly installed and ready for use.
- Proceed in reverse order to disassemble the device.

- When hanging the product, always use the safety cable (27).
- The Safety loop (4) on the light is designed to fix the safety cable.
- If necessary, mount the screw with the safety loop (4) on the mounting rail base of the bracket (20).
- Attach a safety cable to the hook of the screw.
- Adjust the length of safety cable after installation.

NOTICE: Please follow the user information issued by the stand manufacturer.
WARNING
Only mount the device on a stand that has been designed for the weight and dimensions of the device. See technical specifications. Make sure that the stand with the mounted device is safe against tipping over or slipping.
Mounting the barn doors
Mounting the barn doors is much easier if the LED light is removed from the light stand or ceiling mount.
- Press and hold the barndoor lock clip (13)
- Put the barn door in the three slots on the front panel of the light.
- Make sure the barndoor is right in the slots and that the barn door is not inserted at an angle.
- Release the locking clip (13) to fix the barn door.
- Finally, check that the barn doors are securely seated and the barndoor lock is put in place.
- The LED light is ready for use and can be mounted again on a light stand or a ceiling rail.
- To remove the barn doors, proceed in reverse order.
NOTICE: When closing the 4 light flaps, first push the collapsible light flaps together and fold them in. Then fold in the large flaps.
Power supply
We strongly recommend that you use the angled power connection extension cable (25) for the power connection of the LED light. The angled shape of the cable significantly relieves tensile load to the power connection socket of the LED light (1). This ensures reduced wear of the power connection socket.
- Switch the device <OFF> with the ON/OFF switch (10) on the device.
- Insert the 4-pin XLR plug of the AC power adapter into the 4-pin XLR socket of the extension cable and insert the plug of it into the 4-pin XLR socket on the light.
- Connect the power cable (23) to the AC power adapter (26).
- Connect the power cable (23) to the local mains power socket (AC 100 – 220 – 240 V / 50 – 60 Hz).
- Set the power ON/OFF switch (10) to <ON>.
- The device is now ready for mains power operation.
- Switch the lamp off after use.
NOTICE: Compare the local electric power supply with the connection values of the device. Should the connection values not match, please contact info@walser.de or phone +49 (0) 821 – 455 789 804.
NOTICE: Only connect the power supply unit to an earthed plug.
NOTICE: After use, disconnect the device from the local power supply by simply pulling out the mains plug.
Operating and using the device
Switching the device on / off
- Connect the power supply as described in the previous section 7.
- Switch the device <ON> with the ON/OFF switch (10) on the device.
- The LED light is ready for use.
Setting brightness (dimmer function) on the device
- Switch the device on with the ON/OFF switch (10) (if not already done).
- As standard, the LED light is pre-set to dimmer function after switching on. The <DIMMER> field does not flash.
- By pressing the multi-function button (12) <MODE> several times, you can switch between adjusting brightness (dimmer function), color temperature adjustment (only Bi-Color version) and DMX-Channel setting.
- Turn the multifunction push/turn control knob (12) <MODE> to set the desired brightness.
- Turn clockwise to increase and anticlockwise to decrease.
- The selected light output is shown as a percentage value on the device display field <DIMMER>.
- The brightness can be adjusted in steps of 1 % from 10 to 99 %
- The value set in the display is accepted automatically after 5 seconds or by pressing the <MODE> button.
Adjusting the color temperature on the device (for Bi-Color version only)
- Press the multifunction push/turn control knob (12) <MODE>.
- Wählen Sie die Funktion für die Einstellung der Farbtemperatur aus, das Feld <COLOR> im Gerätedisplay blinkt.
- Select the function for setting the color temperature, the <COLOR> field on the display will twinkle.
- Now turn the knob clockwise to increase color temperature and turn anticlockwise to decrease.
- The selected color temperature is shown on the device display field <COLOR> in Kelvin.
- The colour temperature can be set in steps of 100 Kelvin from 3,200 to 5,600 Kelvin.
- The value set in the display is accepted automatically after 5 seconds or by pressing the <MODE> button.
Adjusting the light beam angle (Spot Function)
The beam angle of this Fresnel LED luminaire can be adjusted from 20° to 70° on the device by an electronically controlled motor. Depending on your needs, you can focus and defocus your light differently depending on the application. The focusing function cannot be controlled by DMX control.
- Turn the <FOCUS> knob (11) to focus the light cone.
- Turn the focus dimming knob clockwise to make the lighting spot and turn anticlockwise to make it flood.
- The lighting angle is adjustable from 20°to to 70°.
- The value is not shown in the display.
- When the maximum value is reached, the motor function is automatically terminated.
- Please note that there is a slight delay between the movement of the button and the reaction of the focus lenses during focusing. The delay should be low and is normal.
Setting the desired DMX remote control channel
The LED lights of the Walimex pro-Fresnel LED series can be controlled by a DMX 512 control unit. You will need a separate DMX control unit to do this. This is not included and must be purchased separately.
- The chosen DMX channel will be shown on the display (6) in the <DMX> field.
- Press the <MODE> multifunction button until the DMX selection is activated (DMX field in display twinkles).
- Turn the <MODE> knob clockwise to increase the DMX address.
- Turn the <MODE> knob anticlockwise to decrease the DMX address.
- The channel set in the display is accepted automatically after 5 seconds or by pressing the <MODE> button.
- You can set channels from 1 to 512.
- Set the same channel on the LED light and your DMX control unit.
- The brightness and color temperature (Bi-Color version only) of the LED light is now controlled by the DMX signal from the DMX console.
Connection and operation via DMX control panel with one LED light
- Connect the included 3-PIN DMX control cable (or a compatible DMX cable) with the output connector of a suitable DMX remote control (not included).
- Connect the other end of the cable with the DMX input socket (3) <DMX IN> of the LED light.
- Make sure you choose the right socket/plug.
- The set DMX channel of the LED light will be shown on the display (9) in the <DMX> field.
- Set the same channel/address on the LED light and the DMX control unit
- The brightness and color temperature setting (Bi-Color only) of the LED light is now controlled by the DMX signal from the DMX console.
Connection and operation via DMX control panel with several LED light
- Connect the DMX control console, as described in point 8.5 to the device.
- Insert a compatible DMX control cable into the DMX output socket marked <DMX OUT> (2).
- Insert the other end of the cable into the DMX input socket (3) of the second light marked <DMX IN>.
- Set the correct DMX control channel on the 2nd light.
- Both LED lights are now controlled via the DMX signal of the remote control.
- Proceed in the same way to control other lights.
For more details on DMX address setting, please refer to the table below and the instructions for controlling a DMX.
| DMX adress on LCD | Corresponding channel on DMX console (on single color light) | Corresponding channel on DMX console (on bi-color light) |
| 1 | 1-1 (Brightness) | 1-1 (Brightness), 1-2 (Color Temperature) |
| 2 | 1-2 (Brightness) | 1-2 (Brightness), 1-3 (Color Temperature) |
| … | … | … |
| 16 | 1-6 (Brightness) | 1-16 (Brightness), 2-1 (Color Temperature) |
| 17 | 2-1 (Brightness) | 2-1 (Brightness), 2-2 (Color Temperature) |
| … | … | … |
| 511 | 32-15 (Brightness) | 32-15 (Brightness), 2-16 (Color Temperature) |
| 512 | 32-16 (Brightness) |
NOTICE
The devices of the Walimex pro-Brightlight Fresnel LED series are equipped with 3-pin XLR DMX connections. If your DMX control unit has a 5-pin DMX connection system, the use of suitable 5-pin on 3-pin adapters is necessary. These adapters can be purchased separately.
Transporting, storing the device
WARNING
The danger of fire caused by hot parts of the equipment. Allow the device to cool down completely.
- Switch off the device (See „Switching the device on, off).
- Allow the device to cool down completely.
- Unplug the power supply cable from the device.
- If necessary clean the device (See „Cleaning the device“).
- Lay the device and all disassembled elements into the original article packaging box and transport of store as specified in the technical specifications. See technical specifications.
Troubleshooting
| Problem | Possible cause | Remedy |
| The device is switched on, but does not show any function. | Mains cable not plugged in or not plugged in correctly | Plug the mains cable in correctly |
| The device is defective | Contact our service! Repairs may only be done by a qualified electrician | |
| The illuminants does not light | Device ist switched off | Switch on the device |
| The device is defective | Contact our service! Repairs may only be done by a qualified electrician | |
| Remote control by DMX does not work | LED Light or DMX control panel is switched off via power switch | Switch on the devices with the ON/OFF switch |
| Wrong channel selected | Make correct channel selection | |
| The device is defective | Contact our service! Repairs may only be done by a qualified electrician | |
| Lens focusing can not be controlled by DMX | Lens focusing on the device, can not be controlled remotely |
Maintaining the device
WARNING
The danger of electric shock and danger of fire due to short circuits. Has the device been repaired by an electrician immediately?
Cleaning
WARNING
The danger of electric shock
- Do not bring the device into contact with moisture or water.
- Always pull out the power supply plug before starting to clean the device.
Device Cleaning Housing Use a microfiber cloth to remove light and stubborn dirt. Illuminant Clean off dirt with a dust brush or a dry, soft cloth.
NOTICE: Do not clean the illuminant with water. Even the slightest residues on the illuminant can cause the bursting of the illuminant.
Accessories and options
You find optimal accessories for your device in our webshop: www.foto-walser.de.
- 112138 Walimex pro WT-806 Light stand 256 cm
- 16405 Walimex pro AIR 290 Light stand 290 cm
- 17380 Walimex pro AIR 355 Light stand 355 cm
- 17362 Walimex pro AIR Jumbo 600 Light stand 600 cm
- 15876 Walimex pro-Tripod Weight, 3 kg
- 15537 Walimex pro Sandbag
- 13739 Walimex pro Weight for Rods and Boom Stands, 4,4 kg
Make sure you use suitable, sufficiently stable light stands with enough load capacity and a large footprint for this device. Furthermore, the use of additional weights for your light stand is recommended, especially for larger heights.
Disposal and environmental protection
Dispose of the device at a legally specified collection point, such as with the manufacturer, electronics brands or at a local disposal depot. This service is free of charge.
Reference to the declaration of conformity
“WALSER GmbH & Co. KG. hereby declares that the remote control and integrated radio receiver are compliant with the general requirements and all other applicable regulations of the directive 2014/53/EU”. The Declaration of Conformity is available from the following address: info@walser.de.
Technical specifications
| Model naming | FLD-100 Daylight | FLB-100 Bi Color |
| Article No. | 22780 | 22781 |
| Max. Power | 100 Watt | 100 Watt per LED |
| Model Version | Daylight | Bi Color |
| Total sum of LED´s | 1 | 2 |
| Sum LED´s Daylight | 1 | 1 |
| Sum LED´s Tungsten | 0 | 1 |
| LED Version | COB LED | DUAL COB LED |
| Color temperature | 5.600 ± 100 K | 3.200-5.600 ± 100 K |
| Color Random Index CRI + TLCI | ≥ 97 | ≥ 97 |
| Flickerfree | Yes | Yes |
| Max. illumination Daylight 1 m, 20° | 19.200 Lux | 13.120 Lux |
| Max. illumination Daylight 2 m, 20° | 4.800 Lux | 3.280 Lux |
| Max. illumination Daylight 3 m, 20° | 2.135 Lux | 1.460 Lux |
| Max. illumination Daylight 5 m, 20° | 785 Lux | 556 Lux |
| Max. illumination Daylight 8 m, 20° | 305 Lux | 220 Lux |
| Max. illumination Daylight 10 m, 20° | 200 Lux | 145 Lux |
| Max. illumination 3.200K 1 m, 20° | x | 11.280 Lux |
| Max. illumination 3.200K 2 m, 20° | x | 2.820 Lux |
| Max. illumination 3.200K 3 m, 20° | x | 1.255 Lux |
| Max. illumination 3.200K 5 m, 20° | x | 480 Lux |
| Max. illumination 3.200K 8 m, 20° | x | 190 Lux |
| Max. illumination 3.200K 10 m, 20° | x | 125 Lux |
| Dimmable | 10-100 % | 10-100 % |
| Synchronous control of several item | Yes, by DMX | |
| Lifetime LED (h) | 50.000 | 50.000 |
| Holders | L-Type bracket 5/8 inch spigot | |
| Barndoors | Yes | Yes |
| Weight LED light without accessories | 2.800 g | 2.830 g |
| Weight LED light with bracket | 3.665 g | 3.695 g |
| Weight LED light with bracket, barndoors, AC-Adapter, cable | 5.765 g | 5.795 g |
| Dimensions LED Light without accessories | 330 x 135 x 130 mm | |
| Length connecting cable + power adapter | Max. 7 m | Max. 7 m |
| Power supply | ||
| Input voltage LED light | DC 36V | DC 54V |
| AC-Power Adapter | Yes | Yes |
| Power Adapter Input | AC 100 – 240 V / 50-60 Hz | |
| Power output AC-Adapter | 120 W | 120 W |
| Operation data | ||
| Operation Temperature | -10 °C to + 50 °C | |
| Storage conditions | Dry and dust-free in the original packaging or bag, at -20° C to +50° C | |
| DMX Control | ||
| DMX Control | DMX 512 | DMX 512 |
| Channels | 1 – 512 | 1 – 512 |
| DMX Connector | 3-PIN | 3-PIN |
| Scope of delivery | Fresnel Light, Barndoors, L-Type holder, AC Adapter, power cable, DMX cable, safety cable, hex wrench, instruction manual D/EN | |
We are here for you!
If you need help or free, individual consultation from our trained specialist personnel, please contact our service team.
We are happy to help! Your WALSER Team Email/homepage info@walser.de www.walser.de Our postal address: WALSER GmbH & Co. KG Senefelderstrasse 23 86368 Gersthofen Germany
Our warranty promise
WALSER is known for its high-quality workmanship, optimal functionality, and customer-oriented service. To highlight our exceptional service level, we offer a 2-year warranty for this Walimex pro product. This warranty is only valid in combination with your purchase receipt. If you would like to utilize our warranty, contact us by email at info@foto-walser.de Our comprehensive guarantee as well as its scope can be found at www.foto-walser.de/en/warranty
























