
OWNERS MANUAL
MODEL: HHoott FFuuddggee//CCaarraammeell WWaarrmmeerr
Steamer PART NUMBER:
5511007722 –5511007733 HH
120 volts, 60 Hz
WARNING ELECTRICAL SHOCK HAZARD.
FAILURE TO FOLLOW THESE INSTRUCTIONS COULD RESULT IN SERIOUS INJURY OR DEATH.
WARNING: Handling the cord on this product may expose you to lead, a chemical known to the State Of California to cause cancer and birth defects or other reproductive harm. WASH HANDS AFTER HANDLING.
- Electrical ground is required on this appliance.
- Do not modify the power supply cord plug. If it does not fit the outlet, have a proper outlet installed by a qualified electrician.
- Do not use an extension cord with this appliance.
- Check with a qualified electrician if you are in doubt as to whether the appliance is properly grounded.
SAFETY INSTRUCTIONS
- Plug the electrical cord into a certified electrical outlet with a corresponding voltage rating as listed on the machine model labels.
- Always unplug the electric cord when the appliance is not in use and before cleaning, adjusting or maintaining this steamer. Do not operate with a damaged cord or plug or after the machine malfunctions, has been dropped, or is damaged. Use authorized service for examination, electrical or mechanical adjustment, or repair.
- This equipment will be HOT during use and for a short time after it is turned off BE CAREFUL. To avoid burns, do not let bare skin touch hot surfaces. If provided, use handles when moving this appliance. Keep combustible materials away from appliances.
- Extreme caution is necessary when any appliance is used by or near children and whenever the appliance is left operating and unattended.
- This appliance is not intended for use in wet locations. Never locate an appliance where it may fall into a water container. Do not insert or allow foreign objects to enter any ventilation or exhaust opening as this may cause an electrical shock, fire, or damage to the appliance.
CLEANING SAFETY INSTRUCTION
- Turn the control off and unplug the power cord. Avoid splashing water onto the control.
- Do not clean this appliance with a water jet or immerse in water or other liquid.
![]()
ASSEMBLY
- Install the four legs into the threaded holes in the base.
- Install the Adaptor plate on the warmer and insert the two round food pans in the openings. Put the lids on the pans.
OPERATING INSTRUCTIONS
- Plug the machine into a properly grounded 120-volt power supply.
- Fill the reservoir with 7 quarts of water by removing the Lids, pans, and adaptor plate from the machine and pouring water into the reservoir with a pitcher. Using hot water will speed up the startup time of the machine. Fill the reservoir with water to the MAX line which is marked in the reservoir. The warmer will hold a maximum of 7 quarts.
- Re-install the Adaptor Plate, pans, and lids.
- Put the desired amount of Hot Fudge and Caramel in the pans.
- Turn on the “Master Switch” and set the thermostat to a maximum setting. The machine should be producing steam in approximately 5-7 minutes (depending on water and room temperature). You can adjust the thermostat according to your operating conditions.
- Once Steam is produced adjust the thermostat to 80-100 to COOK and 60-80 to HOLD.
- Once the steam is produced food should reach serving temperature in approximately 20-30 minutes. Adjust the thermostat accordingly. You will want the food to maintain at least 140 Degrees Fahrenheit before serving.
- CAUTION: Use serving utensils to remove food from the warmer as the product will be hot to the touch.
- IMPORTANT: DO NOT LET THE WATER LEVEL IN THE RESERVOIR GET BELOW THE MINIMUM LINE. Letting the water run low or out could damage the unit and void your warranty. The minimum line represents 4 quarts of water.
CONDENSATION
- Cool air striking the warm steamer may cause moisture accumulation. Protecting the unit from cool drafts of air will help prevent condensation.
- As the covers of the warmer are opened and closed some of the condensations may leak out from the undersides of the lids. This should be wiped up with a towel or rag.
CLEANING THE MACHINE
- At the end of day: Turn the machine off using the master switch. Remove the lids, pans and adaptor plate from the warmer. (caution: the items will be hot unless you wait long enough to allow them to cool before removing!) These items can be taken to a sink or dishwasher for cleaning. Use a mild detergent and water to clean.
- Empty the remaining water in the reservoir by dumping it into a sink or drain. (caution: the water will be hot unless you allow sufficient cool-down time). Clean the reservoir with a mild detergent and water. Wipe down with a soft cloth.
- Wipe down the outside of the unit with a mild detergent and a soft cloth.
- After the components have been cleaned, re-assemble the machine as outlined above so you will be ready for the next usage.
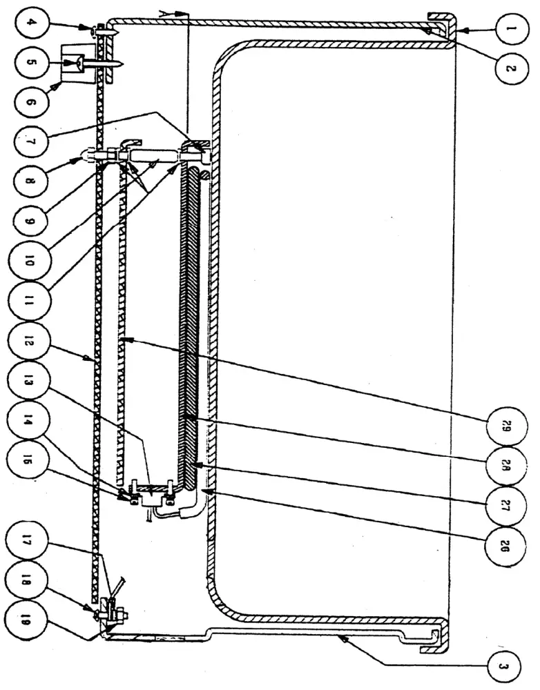
ASSEMBLY
(complete parts list on page 7)
WIRING DIAGRAM
ELECTRICAL SPECIFICATIONS
Volts: 120
| Watts: | 1200 |
| Amps: | 10.0 |
| Hertz: | 50/60 |
ASSEMBLY

PARTS LIST
| Item | P/N | Description |
| 1 | 6701 | Reservoir |
| 2 | 6702 | Warmer Body |
| 3 | 6703 | Front Plate |
| 4 | 6704 | Sheet Metal Screw |
| 6 | 6706 | Leg |
| 7 | 6707 | Element Spacer |
| 8 | 6708 | Acorn Nut |
| 10 | 6710 | Spacer tube |
| 11 | 6711 | Threaded Rod |
| 12 | 6712 | Bottom Aluminum Cover |
| 13 | 6713 | Jumper |
| 14 | 6714 | Terminal |
| 15 | 6715 | Terminal Screw |
| 17 | 6717 | Lock-washer |
| 18 | 6718 | Bolt |
| 26 | 6726 | Heating Element |
| 27 | 6727 | Heat plate |
| 28 | 6728 | Hold-down plate |
| 29 | 6729 | Bracket |
| 30 | 6730 | Element Lead |
| 31 | 6731 | Switch Cover |
| 32 | 6732 | Switch |
| 33 | 6733 | Plug |
| 34 | 6734 | Strain Relief |
| 35 | 6735 | LED Light |
| 37 | 6737 | Thermostat |
| 38 | 6738 | Thermostat knob |
| 40 | 6740 | Thermostat backer Plate |
| 41 | 6741 | Bolt |
| 42 | 6742 | Clamp |
| 43 | 6753 | Adaptor Plate |
| 44 | 6754 | Round 7-quart pan |
| 45 | 1. | Round lid |
To Order Parts Contact:
Benchmark USA, Inc.
25-J Brookfield Oaks Dr.
Greenville, SC 29607 USA
Tel: 877-432-5500
Fax: 864-312-5505
Email: [email protected]
THE WARRANTY:
Benchmark USA warrants the original purchaser of new food equipment manufactured by Benchmark USA to be free from defects in material or workmanship from the date of the original purchase for a period of three years.
WHO IS COVERED BY THIS WARRANTY:
The original purchaser has provided proper proof of the original retail purchase and all other requested information.
WHAT IS WARRANTIED:
The obligation of Benchmark USA under this warranty is limited to the replacement of any parts or components that in the opinion of Benchmark USA are defective, F.O.B. the factory, or at any other location that Benchmark USA may designate.
WHAT VOIDS THE WARRANTY:
- Any piece of equipment that has been installed, operated or maintained inconsistently with Benchmark USA operating instructions.
- Any part or component that has been modified, changed or altered from its original configuration.
- Any electrical component that has been damaged due to submergence in any liquid.
- Any part or component that has been subject to abuse, misuse, neglect, or accidents.
EXTENT OF WARRANTY:
Any defective component, part or assembly returned to Benchmark USA will be replaced by Benchmark USA. Benchmark USA will not be responsible for any expenses incurred by the customer under the terms of this warranty, nor shall it be responsible for any damages either consequential, special, contingent, or otherwise; or expenses or injury arising directly or indirectly from the use of a Benchmark USA product. Any component, part, or assembly returned to Benchmark USA must be returned at the customer’s expense along with proof of purchase. Benchmark USA reserves the right to determine whether the terms of this warranty have been properly complied with. In the event that the terms are not complied with, Benchmark USA shall be under no obligation to honor this warranty.






















