BENCHMARK USA 60048 Hot Dog Pound Bun Steamer
WARNING ELECTRICAL SHOCK HAZARD.
FAILURE TO FOLLOW THESE INSTRUCTIONS COULD RESULT IN SERIOUS INJURY OR DEATH.
WARNING: Handling the cord on this product may expose you to lead, a chemical known to the State Of California to cause cancer and birth defects or other reproductive harm.
WASH HANDS AFTER HANDLING.
- Electrical ground is required on this appliance.
- Do not modify the power supply cord plug. If it does not fit the outlet, have a proper outlet installed by a qualified electrician.
- Do not use an extension cord with this appliance.
- Check with a qualified electrician if you are in doubt as to whether the appliance is properly grounded.
SAFETY INSTRUCTIONS
- Plug electrical cord into a certified electrical outlet with a corresponding voltage rating as listed on the machine model labels.
- Always unplug the electric cord when appliance is not in use and before cleaning, adjusting or maintaining this steamer. Do not operate with a damaged cord or plug or after the machine malfunctions, has been dropped or damaged. Use authorized service for examination, electrical or mechanical adjustment or repair.
- This equipment will be HOT during use and for a short time after it is turned off BE CAREFUL. To avoid burns, do not let bare skin touch hot surfaces. If provided, use handles when moving this appliance. Keep combustible materials away from appliance.
- Extreme caution is necessary when any appliance is used by or near children and whenever the appliance is left operating and unattended.
- This appliance is not intended for use in wet locations. Never locate appliance where it may fall into a water container.
- Do not insert or allow foreign objects to enter any ventilation or exhaust opening as this may cause an electrical shock, fire or damage to the appliance
CLEANING SAFETY INSTRUCTION
- Turn control off and unplug the power cord. Avoid splashing water onto control.
- Do not clean this appliance with a water jet or immerse in water or other liquid
OPERATING INSTRUCTIONS
- Plug the machine into a properly grounded 120 volt power supply.
- Fill the reservoir with 7 quarts of water by opening the doors and removing the hotdog and bun trays from the machine and pouring water into the reservoir with a pitcher. Using hot water will speed up the start-up time of the machine.
- Install the two hotdog trays (#6406) side by side above the reservoir. Install the Bun Tray (#6405) on top of the four bolts that protrude through the side panels. Put the Bun rack (#6421) on the bun tray with the open side down which raises the buns approximately ¼” off the bun tray (this prevents the buns from getting wet). Install both doors (#6403) by slipping the top edge into the top channels and allowing them to slide down into the corresponding bottom channels. Place one on the rear channel and one on the front channel. Be sure the handles are on the outside left and outside right.
- Load the steamer with the desired amount of hotdogs by placing the hotdogs on the left and right hotdog trays. The two separate trays allow for different size hotdogs or sausages to be cook and segregated (i.e. standards size dogs, foot-long dogs, ¼ dogs or sausages).
- Place the desired amount of buns in the top bun tray segregating any different size buns on the left and right.
- Turn on the “Master Switch” and set the thermostat to a maximum setting. The machine should be producing steam in approximately 5-7 minutes (depending on water and room temperature). You can adjust the thermostat according to your operating conditions.
- Once Steam is produced adjust the thermostat to 80-100 to COOK and 60-80 to HOLD.
- Once steam is produced a standard size hotdog should reach serving temperature in approximately 20- 30 minutes. Adjust the thermostat accordingly.
- CAUTION: Use tongs to remove buns and hotdogs from the steamer as the product will be hot to the touch.
- When the “Low Water Indicator” illuminates, the heater will turn off automatically to prevent it from burning out. Add 4 quarts of water following the instructions in step 2. The “Low Water Indicator” will turn off and the machine will be ON again
CONDENSATION
- Cool air striking the warm steamer may cause moisture accumulation. Protecting the unit from cool drafts of air will help prevent condensation.
- As the doors of the steamer are opened and closed some of the condensation may leak out and pool around the front of the machine.
- The machine is designed to be sloped slightly towards the rear. This is so that any condensation that forms on the side, front, rear and top panels will drain back into the machine. Should you place the machine on an un-level surface that slopes toward the front you may experience water pooling around the front of the steamer. To prevent this you will need to slightly elevate the front of the machine.
CLEANING THE MACHINE
- At the end of day: Turn the machine off using the master switch. Drain any remaining water out of the reservoir using the drain on the lower right side of the machine (caution: the water will be hot unless you wait long enough to allow the water to cool before draining!)
- Remove the glass doors. hotdog trays and bun tray and clean them in a sink or dishwasher. Wipe down the inside and outside of the chassis with a soft cloth.
- After the components have been cleaned, re-assemble the machine as outlined above.
ASSEMBLY
ELECTRICAL SPECIFICATIONS
- Volts: 120
- Watts: 1170
- Amps: 9.75
- Hertz: 50/60
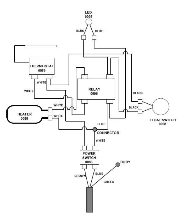
WIRING DIAGRAM
ASSEMBLY 
PARTS

To Order Parts Contact:
- Benchmark USA, Inc.
- 25-J Brookfield Oaks Dr.
- Greenville, SC 29607 USA
- Tel: 877-432-5500
- Fax: 864-312-5505
- Email: [email protected]
Three Year WarrantyBenchmark USA warrants the original purchaser of new food equipment manufactured by Benchmark USA to be free from defects in material or workmanship from the date of the original purchase for a period of three years.
WHO IS COVERED BY THIS WARRANTY:
The original purchaser who has provided proper proof of the original retail purchase and all other requested information.
WHAT IS WARRANTIED:
The obligation of Benchmark USA under this warranty is limited to the replacement of any parts or components that in the opinion of Benchmark USA are defective, F.O.B. the factory, or at any other location that Benchmark USA may designate.
WHAT VOIDS THE WARRANTY:
- Any piece of equipment that has been installed, operated or maintained inconsistently with Benchmark USA operating instructions.
- Any part or component that has been modified, changed or altered from its original configuration.
- Any electrical component that has been damaged due to submergence in any liquid.
- Any part or component that has been subject to abuse, misuse, neglect or accidents.
EXTENT OF WARRANTY:
Any defective component, part or assembly returned to Benchmark USA will be replaced by Benchmark USA. Benchmark USA will not be responsible for any expenses incurred by the customer under the terms of this warranty, nor shall it be responsible for any damages either consequential, special, contingent, or otherwise; or expenses or injury arising directly or indirectly from the use of a Benchmark USA product. Any component, part or assembly returned to Benchmark USA must be returned at the customers expense along with proof of purchase. Benchmark USA reserves the right to determine whether the terms of this warranty have been properly complied with. In the event that the terms are not complied with, Benchmark USA shall be under no obligation to honor this warranty.























