Installation manual and user instructions
Scale Defender Starter Kit: SCA-STA
SCA-STA Scale Defender Starter Plumbing Kit
Warranty
In the unlikely event that you should experience any defect in the materials or workmanship of this product within ONE year of purchase, the purchaser’s sole remedy shall be the replacement (at the manufacturer’s discretion) of all or any part of the product that is defective. All working parts, O-rings and valves are guaranteed for a period of ONE year from purchase provided that our advice concerning care has been observed. This is provided that the product has been used for normal domestic purposes in the UK and that the care, installation and maintenance instructions have been observed. The warranty extends to the original purchaser only. You should retain a copy of your dated invoice as proof of purchase to validate any claims under this guarantee.
Free lifetime guarantee registration: www.mcalpineplumbing.com/sdregistration
Guarantee covers free replacement of all parts (excluding cartridges)
Important Technical Data
Minimum operating pressure: 0.3 bar
Maximum operating pressure: 10.0 bar*
Minimum water temperature: 1°C*
Maximum water temp. (feed): 40°C*
100% safe for drinking water under BS EN 1212 and NEN-EN 1212 regulations
*If these temperatures or pressures are exceeded, even for short periods, damage can result. In these instances a pressure reducing valve should be installed before the system. Do not install the system in a location where it is likely to freeze.
This product is approved and manufactured in accordance with recognised European Standards, all materials used comply with the international standards for drinking water (British Standard BS EN1212 and European NEN-EN 1212). Please ensure that your system is fitted in accordance with Local Water Byelaws. The dosing system head contains a non return valve to prevent back flow into the cold supply. The system should only be fitted to a microbiologically safe water source.
These installation guidelines have been prepared for your direction and you must exercise due care at all times. We do not accept responsibility for problems that may occur through improper installation. Whilst assembling the filter system take care not to accidentally loosen any factory fixed assemblies.
Installation Preparation
Scale Defender should only be installed by a competent person, and in accordance with these installation instructions. All parts should be removed from their packaging and inspected for completeness and transport damage prior to installation. If you have not installed this product you should read through these instructions before commencing.
Before installing the system it is essential that you thoroughly flush through the supply pipes in order to remove any remaining solder, swarf or impurities from your system. Failure to carry out this simple procedure could cause problems or damage to the workings of the system and invalidate the warranty.
The system should be installed directly after the existing cold water stopcock. We strongly recommend installing a Full Bore isolation or Lever valve immediately after the system in an accessible position to allow maintenance and easy replacement of cartridges. Ensure the incoming main is isolated prior to installation, care should be taken to drain as much residual water before commencing with install.
You should ensure that this product will both fit into the depth and area of the mounting position available and will reach the required inlet and outlet positions before installation. You should allow at least 50 mm of space below the system to allow this to be changed easily. Loosely position the system to check if any alteration to the existing pipework is required, if this is the case do this now.
The system must be mounted vertically as shown in installation layout example CC
Installation
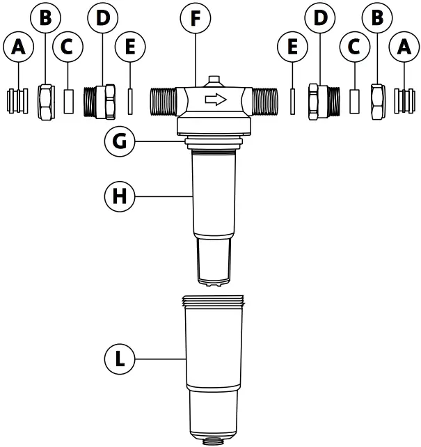
| Key | Description | Qty |
| A | 22 x 15mm olive / reducers | 2* |
| B | ¾” (22mm) compression nuts | 2* |
| C | 22mm olives | 2* |
| D | ¾” brass connectors | 2* |
| E | Seals | 2* |
| F | System head (with check valve in outlet side) | 1 |
| G | O Ring | 1 |
| H | Dosing cartridge | 1 |
| L | Housing | 1 |
- Create a break in the cold water pipe after the stopcock, the length of this break will change according to the layout of the installation you have chosen. Ensure the end section of the pipes are clean and free from burrs. We suggest you place a bucket or similar under the break to catch any residual water in the system that could not be previously drained.
- Screw a brass connector (D) to the inlet of the system head (F) ensuring to use the seal (E) to make a watertight seal, please take care to note the flow direction on the head (F).
- Screw a brass connector (D) to the outlet of the head (F) ensuring to use the seal (E) to make a watertight seal. Please take care to note the flow direction on the dosing head (F).
- Place the dosing cartridge (H) into the housing (I), now screw a housing (L) into head (F). Nb. may be factory assembled.
- Push the O-Ring (G) on top of the housing (L) and put the O-Ring (G) on top of the housing (L). now screw a housing (L) into the head (F) Nb. Parts from 4&5 may be factory assembled.

- If connecting to a 22mm pipe: place the compression nuts (B) then olives (C) over the pipe. Insert the pipe into the brass connector (D) now whilst holding connector (D) tighten compression nut (B). In this instance part (A) is not used.
- If connecting to a 15mm pipe: place the compression nuts (B) then 22 x 15 reducers (A) over the 15mm pipe. Insert the pipe into the brass connector (D) now whilst holding connector (D) tighten compression nut (B). In this instance part (C) is not used. Note the 22 x 15mm olive / reducers (A) will separate into two when tightened to make a watertight seal but can only be used once at which point the angled face of (D & A) will mate.
- Once you have visually checked the installation of the new system and all connections, slowly open the stopcock (with all other taps in the house switched off) and check all connections carefully for leaks around the installation. If possible, return to the installation after a longer period to double check for slower leaks. Ensure the area around the system is left accessible in order that the cartridge can be changed periodically.
*Items may be 90 degree connector version for small spaces. Parts must be provided by the installer.
How the system works
The Scale Defender water system is designed to reduce the damage that sediment can cause to household taps and appliances. This level of dosage complies with the British Standard BS EN 1212 and EC drinking water standard (NENEN 1212). The dosing cartridge adds food grade sodium phosphate to the incoming water supply at a maximum concentration of 5 parts per million, these additives coat the scale within the water making it more difficult for the scale to attach itself to surfaces.
Whilst the scale is not physically removed, this gives the water working properties similar to that of softer water improving the effectiveness of detergents and preventing scale build up, leading to improvements in heating system efficiency.
Other benefits include reduction of scale effects on showerheads, glasses, sanitary fittings and heating elements in washing machines and boilers.
Scale Defender does not affect your natural ingestion of calcium via your water supply.
The installation should be periodically checked for damage.
If the property is left unattended for a prolonged period, we recommend isolating the water supply. When returning, Scale Defender should be flushed through as recommended by your water supplier.
Replacing the dosing cartridges
The dosing filter capacity is a maximum of 40,000 litres and should be replaced when exhausted to maintain the effectiveness of protection. Inside the dosing filter is a small red ball. When the ball is at the bottom of the dosing filter (H)(H), the filter should be replaced. We recommend checking the filter every month or so.
The pre-filter can be checked and cleaned periodically, or upon changing the dosing cartridge to ensure the flow rate through the system is not reduced. This may vary depending upon your water conditions.
Replacing the dosing filter (H)
- Turn the mains stopcock off before the Scale Defender, and turn off the the Full Bore isolation/lever valve after the Scale Defender (if installed). Open tap or drain off at the lowest point of the building and drain as much cold water as possible.
- Place a container underneath the filter housing (L).
Unscrew the filter housing (F) clockwise (Image 7A) and wait for the residual water to drain away. - Unscrew the filter housing (L) completely and pull it down from the grey filter head (F).
- Remove the used dosing cartridge (H) and clean the inside of the yellow housing (L) if required.
- Place the new dosing cartridge inside the yellow housing (L).
- Check the prefilter mesh (G) Clean it first when dirty or clogged.
- Screw the filter housing (L) tightly (by hand) back into the grey dosing filter head (See Image 7B) use some WRAS Approved Water Potable lubricant if required.
- Slowly open the stopcocks (with all other taps in the house switched off) and check all connections carefully for leaks around the installation. If possible, return to the installation after a longer period to double check for slower leaks.
- Flush the filter system though now by opening a tap in the dwelling.
Warning: although this is a safe product to use, some powder may get onto your hands if the dosing filter (H)(H) breaks. Always wash your hands with soap and water. Should the dosing powder get into your eyes rinse with water. If the irritation persists, please consult your GP. If you accidentally ingest the dosing powder through your mouth, then please also consult your GP.
Troubleshooting Potential Reasons
The water flow is reduced:
- The pre-filter mesh might need cleaning, this is needs cleaning a regular intervals depending on the quantity of particles in the water.
I cannot notice the effects of the system:
- If the filter system is new you should expect it to take a few days to work fully.
- The dosing cartridge is empty (check the red ball indicator) and should be replaced.
- The dosing system is faulty (unlikely) causing the incorrect low dosage to be applied, the dosing filter should be replaced.
Debris is coming from the water supply:
- The pre-filter mesh is damaged allowing debris to enter and should be replaced.
- The size of the debris is smaller than the pre-filter rating (but not harmful for your system).
- The dosing filter is dislodging existing built up corrosion from the water system. This will reduce and then pass in a few weeks.



















