TIKI BRAND 1519024 BiteFighter Outdoor LED String Lights with Proven Mosquito Repellency User Manual
Safety Information
NOTICE: Do not use these TIKI® Brand BiteFighter™ LED String Lights until you have read the operating instructions and all user warnings. Failure to read and follow directions could result in serious personal injury or property damage.
- It is a violation of Federal Law to use thisproduct in a manner inconsistent with its labeling.
- FOR OUTDOOR USE ONLY.
- For adult use only. This is not a toy and is not Intended for use by children. Keep out of reach of children and pets.
- Risk of Electric Shock and Fire Hazard: Use only with an outdoor-rated 120V electrical outlet.
- Do not insert fingers into LED bulb socket or Mosquito Repellent Diffuser Shade socket.
- Always use in accordance with all applicable local, state, and national codes.
- Do not alter or modify in any manner.
- Do not immerse in water.
- Avoid installing the TIKI® Brand BiteFighter™ LED String Lights when it is raining.
- Do not insert multi-plug adapters into the same outlet as the TIKI® Brand BiteFighter™ LED String Lights.
- Unplug and allow bulbs and TIKI® Brand BiteFighter™ Mosquito Repellent Pods to cool before performing any cleaning or maintenance.
- Leaving in direct sunlight or other extreme hot or cold conditions could reduce the number of operation hours.
- Store in a cool, dry place. Keep container tightly closed. Store refills out of direct sunlight.
- Avoid using sharp objects or staples to hang the TIKI® Brand BiteFighter™ LED String Lights.
- ENVIRONMENTAL HAZARDS Do not apply directly to water, or to areas where surface water is present or to intertidal areas below the mean high water mark. Do not contaminate water when disposing of equipment wash water or rinsate.
- Do not connect with wet hands
- Do not install within 10 ft of pools spas or fountains.
- Do not obstruct airflow.
- KEEP MOSQUITO REPELLENT OUT OF REACH OF CHILDREN AND PETS.
- Use in well-ventilated areas.
- FIRST AID: If Swallowed: Immediately call a poison control center or doctor. Do not induce vomiting unless told to do so by a poison control center or doctor. Do not give any liquid to the person. Do not give anything by mouth to an unconscious person. HOTLINE NUMBER: Have the product container or label with you when calling a poison control center or doctor, or going for treatment. In case of Medical emergencies or health and safety inquiries or in case of fire, leaking or damaged containers, information may be obtained by calling 1-888-740-8712. NOTE TO PHYSICIAN: Contains petroleum distillate – vomiting may cause aspiration pneumonia.
- CAUTION: Harmful if swallowed. Wash hands thoroughly with soap and water after handling and before eating, drinking, chewing gum, using tobacco or using the toilet.
- Ensure the TIKI® Brand BiteFighter™ Mosquito Repellent Pods hang in an upright, vertical position, and are at least 10 ft from any heat sources (grills, fire pits, patio heaters, etc). Exposure to heat sources may result in fire.
- Do not place a TIKI® Brand BiteFighter™ Mosquito Repellent Pod on a hot surface.
- Do not cover the TIKI® Brand BiteFighter™ LED String Lights or TIKI® Brand BiteFighter™ Mosquito Repellent Pods while in use.
- Do not attempt to break the TIKI® Brand BiteFighter™ Mosquito Repellent Pod or touch its internal parts.
- USE RESTRICTIONS: DO NOT use indoors.
DO NOT use this product under the influence of drugs or alcohol. DO NOT let fluid come in contact with any surface. DO NOT pry repellent pod open
Pre-Installation
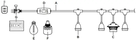
Package Contents

| Part | Description | Quantity |
| A | TIKI® Brand LED String Lights | 1 |
| B | LED Bulb Socket | 12 |
| C | Mosquito Repellent Diffuser Shade | 3 |
| D | Repellent On/Off Switch | 1 |
| E | 2W S-Type LED Bulb (2 spares included) | 14 |
| F | TIKI® Brand BiteFighter™ Mosquito Repellent Pod | 3 |
| G | 5A Replacement Fuse | 1 |
Before You Begin
Compare all parts with the Package Contents list.
If any part appears missing or damaged, do not assemble or use this product. Return to the place of purchase or Contact Customer Service at 1-888-473-1088.
Optional Hardware (not included)

| Part | Description |
| AA | Hooks/Support Mounts |
| BB | Guide Wire |
Installation
Preparing your TIKI® Brand LED String Lights Location
Before inserting bulbs and repellent pods into your TIKI® Brand LED String Lights, decide where to hang and install supporting hardware (not included). Avoid hanging with sharp objects or staples.
- You can use your TIKI® Brand LED String Lights as a guide. Starting at the power outlet, lay your TIKI® Brand LED String Lights on the ground along the route (avoid dragging) and mark any support locations 8-10 ft. above ground.
- To span less than 24 ft. between supports, install supporting hardware (AA) at regular intervals.

- To span more than 24 ft. between supports, use a guide wire (BB).

Hanging the TIKI® Brand LED String Lights
- Leaving enough length to reach the power outlet, hang the TIKI® Brand LED String Lights.
- Be careful not to pinch or damage the TIKI® Brand LED String Lights.
- Do not block any LED bulb sockets or Mosquito Repellent Diffuser Shades.
- For best results, hang no higher than 10 ft. above ground.

Setup Configurations
– Repellent Diffuser
– Light
– Repellent Zone


Installing the LED Light Bulbs
- Unplug the TIKI® Brand LED String Lights.
- Insert an LED bulb (E) into each LED Bulb Socket (B) and turn the bulb clockwise until finger tight.
- Plug the TIKI ® Brand LED String Lights intothe 120V power outlet to test. If a bulb is not functioning, try screwing the bulb in a bit tighter. If the bulb still does not illuminate, unplug, replace it with one of the spare bulbs, and test again.
- Store the extra bulbs for future use.

Installing the BiteFighter ™ Mosquito Repellent Pod
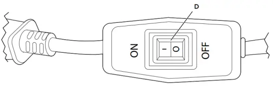
- Set the repellent on/off switch (D) closest to the power outlet to OFF.
- Unscrew the cap (1) from the Pod.
- Insert a Pod (F) into each Mosquito Repellent Diffuser Shade (C) and turn the Pod (F) until fully inserted and secure. Squeeze both notches and twist the base of the pod.
- Before turning the repellent on/off switch (D) ON, make sure all the Pods (F) are in place.
- To connect multiple string lights end-to-end, set the repellent on/off switch to desired state. Repellent feature on each string operates independently.



Using Your TIKI® Brand LED String Lights
- Plug the TIKI® Brand LED String Lights into the 120V power outlet.
- To use for lighting only, set the repellent on/off switch (D) to OFF.
- To use for lighting and mosquito repellency, set the repellent on/off switch (D) to ON.
- Regularly check the fluid level in the Pods. If the green fluid level indicators (1) are at or near the bottom of a Pod (F), unplug the TIKI® Brand LED String Lights and replace the Pod(s) promptly to maintain continuous protection.


Tips and Tricks To Consider Before Enjoying Your TIKI® Brand LED String Lights
Enjoying your TIKI® Brand LED String Lights…
- Connect up to 8 TIKI® Brand LED String Lights end-to-end.
- Avoid connecting TIKI® Brand LED String Lights to other brands of string light products and accessories.
And TIKI® Brand BiteFighter™ Mosquito Repellent…
- Hang lights no higher than 10 ft. above the ground and let the mosquito repellent run for 15 minutes to establish protection.
- Regularly check and replace empty Pods.
- One Pod provides a protection zone of 110 sq. ft. Three Pods provide a protection zone of 330 sq. ft.
To connect multiple string lights end-to-end, set the repellent on/off switch to desired state. Repellent feature on each string operates independently. - With proper care, expect up to 200 hours of use.

Replacing the TIKI® Brand BiteFighter™ Mosquito Repellent
- Unplug the TIKI® Brand LED String Lights.
- Hold the Mosquito Repellent Diffuser Shade (C)securely and press and hold the release button son both sides of the Diffuser Shade. While holding in the buttons, turn the base of the Pod (F) to release the Pod.
- Unscrew Pod to expose the wick.
- Insert the new Pod (F) into the Mosquito Repellent Diffuser Shade (C) and turn until the Pod is fully inserted and secure. Squeeze both notches and twist the base of the pod.
- Dispose of empty Pods according to instructions on the packaging.
- Plug in the TIKI® Brand LED String Lights, and be sure the green-lighted switch (D) is set to ON.

Replacing the Fuse
- Set the repellent on/off switch (D) to OFF and unplug the TIKI® Brand LED String Lights.
- Slide open the fuse cover on the plug and replace the fuse (G).
- Plug in the TIKI® Brand LED String Lights and set the repellent on/off switch (D) to ON.


Limited Warranty
Applicability
TIKI® Brand BiteFighter™ LED String Lights are warranted against defects in materials and workmanship for a period of 2 years from the date of purchase when used under normal conditions for its intended purpose in a residential backyard setting.
Visit www.tikibrand.com/our-guarantee for more information.
Eligibility
This limited warranty extends to the original purchasers of TIKI® Brand BiteFighter™ LED String Lights who are located in the continental United States (Hawaii, Alaska and U.S. territories are excluded). The “original purchaser,” for the purposes of this warranty, is the first purchaser from www.tikibrand.com or an authorized retailer, or in the case of a gift, to the initial gift recipient of the first purchaser. This limited warranty is nontransferable.
To start a warranty claim, please call 1-888-473-1088 or visit https://support.tikibrand.com/help/contactform. Please have your proof of purchase along with a photo of the potential warranty issue before beginning. We reserve the right to perform testing to determine if your product is subject to this warranty and/or to refuse warranty service to any person who, in our sole discretion, abuses the TIKI® Brand BiteFighter™ LED String Lights or warranty policy.
If Lamplight Farms Incorporated determines that the TIKI® Brand BiteFighter™ LED String Lights is subject to this warranty, we will, in our sole discretion: (i) replace the TIKI® Brand BiteFighter™LED String Lights with the same model product orparts, (ii) replace the TIKI® Brand BiteFighter™ LED String Lights with a comparable product should the TIKI® Brand BiteFighter™ LED String Lights be discontinued or otherwise unavailable, or (iii) provide you with a refund of the purchase amount.
The replacement of the TIKI® Brand BiteFighter™ LED String Lights or any part of the TIKI® Brand BiteFighter™ LED String Lights under warranty will not extend the period of warranty. The warranty term of the replaced or repaired TIKI® Brand BiteFighter™ LED String Lights begins from the date of purchase of the original TIKI® Brand BiteFighter™ LED String Lights.
Exclusions
This limited warranty does not cover:
- Purchases from retailers that are not authorized retailers of TIKI® Brand BiteFighter™ LED String Lights.
- Damages caused by improper assembly or handling, misuse and/or abuse.
- Damages caused by improper storage, including away from the elements.
- Failure to comply with use instructions.
- Non-residential use of TIKI® Brand BiteFighter™ LED String Lights, such as commercial use.
- Damage caused by acts of God or other natural forces.
- Use of parts and accessories other than those designed for TIKI® Brand BiteFighter™ LED String Lights.
- Repairs or alterations carried out by unauthorized parties or agents
- Painting or otherwise altering the materials used to produce the product.
- Normal wear and tear or cosmetic damage
Limitation of Warranty
TO THE MAXIMUM EXTENT PERMISSIBLE BY APPLICABLE LAW, THERE ARE NO EXPRESS WARRANTIES OTHER THAN PROVIDED HEREIN. LAMPLIGHT FARMS INCORPORATED DISCLAIMS ALL STATUTORY AND IMPLIED WARRANTIES, INCLUDING WITHOUT LIMITATION, WARRANTIES OF MERCHANTABILITY AND FITNESS FOR A PARTICULAR PURPOSE TO THE EXTENT PERMITTED BY LAW. IN SO FAR AS SUCH WARRANTIES CANNOT BE DISCLAIMED, ANY IMPLIED WARRANTIES, INCLUDING ANY IMPLIED WARRANTY OF MERCHANTABILITY AND FITNESS FOR A PARTICULAR PURPOSE, WILL BE LIMITED IN DURATION TO THE WARRANTY PERIOD SET FORTH ABOVE. SOME STATES DO NOT ALLOW LIMITATIONS ON HOW LONG AN IMPLIED WARRANTY LASTS, SO THE ABOVE LIMITATION MAY NOT APPLY TO YOU. SOME STATES OR OTHER JURISDICTIONS DO NOT ALLOW THE EXCLUSION OF IMPLIED WARRANTIES, SO THE ABOVE EXCLUSIONS MAY NOT APPLY TO YOU. YOU MAY ALSO HAVE OTHER RIGHTS THAT VARYFROM STATE TO STATE AND JURISDICTION TOJURISDICTION.
TO THE MAXIMUM EXTENT PERMITTED BYAPPLICABLE LAW AND EXCEPT AS SET FORTH IN THIS LIMITED WARRANTY, IN NO EVENTWILL LAMPLIGHT FARMS INCORPORATED ORITS SUPPLIERS BE LIABLE FOR PROCUREMENTOF SUBSTITUTE PRODUCTS, LOSS OF USE, OROTHER SPECIAL, INCIDENTAL, CONSEQUENTIALOR INDIRECT DAMAGES ARISING OUT OF OR RELATED TO THE TIKI® BRAND BITEFIGHTER™ LED STRING LIGHTS OR USE BY YOU OR ANY THIRD PARTY, WHETHER UNDER THEORY OF CONTRACT, TORT (INCLUDING NEGLIGENCE),INDEMNITY, PRODUCT LIABILITY OR OTHERWISE.THIS LIMITATION WILL APPLY EVEN IF LAMPLIGHTFARMS INCORPORATED HAS BEEN ADVISED OF SUCH DAMAGES AND NOTWITHSTANDING THE FAILURE OF ESSENTIAL PURPOSE OF ANY LIMITED REMEDY.
IN LIEU OF ANY OTHER REMEDY FOR ANY AND ALL LOSSES AND DAMAGES RESULTING FROM ANY CAUSE, LAMPLIGHT FARMS INCORPORATED MAY, AT ITS SOLE AND EXCLUSIVE OPTION AND IN ITS DISCRETION, REPAIR OR REPLACE YOUR PRODUCT, OR REFUND ITS PURCHASE PRICE. LAMPLIGHT FARMS INCORPORATED’S TOTAL LIABILITY WILL NOT EXCEED THE PURCHASE PRICE PAID FOR THE TIKI® BRAND BITEFIGHTER™ LED STRING LIGHTS GIVING RISE TO SUCHLIABILITY. SOME STATES DO NOT ALLOW THE EXCLUSION OR LIMITATION OF INCIDENTAL OR CONSEQUENTIAL DAMAGES, SO THE ABOVE LIMITATIONS AND EXCLUSIONS MAY NOT APPLY TO YOU.
Lamplight Farms Incorporated will not be held responsible for damage or injury caused by use for any purpose other than specified. No employee or agent of Lamplight Farms Incorporated may modify this limited warranty.
This limited warranty will be governed by the laws of the State of Wisconsin.
Troubleshooting
| Problem Solution | |
| All of the bulbs are not working. |
|
| One or more LED bulbs are out. |
|
| Mosquito repellency appears to decrease. |
|
Questions, problems, missing parts? Call Customer Service
1-888-473-1088
TIKIBRAND.COM
Retain this manual for future use































