saxby 61638 Toko 1lt 300mm Wall Light Instruction Manual
Installation
Existing fittings must be completely removed before installation of a new product. Before removing the existing fitting, carefully note the position of each set of wires.
Note that the switch is turned off before installation.
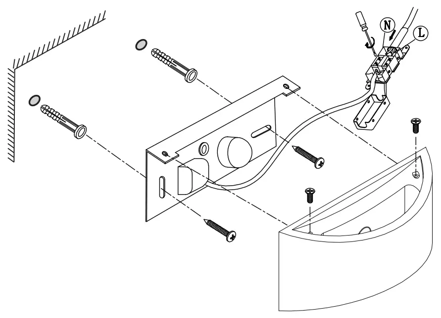
- Undo the screws at the top of the product to separate the shade from the fixing bracket.
- Pull the mains cable, then wire as detailed wiring diagram.
- Refit the product to the fixing bracket. Secure in place by refitting the top fixing screws. Be careful not to trap any wiring.
- Using the fixing bracket as a template and mark the fixing holes, making sure the wall bracket is correctlyaligned so that the top of it is horizontal. Use supplied plugs (masonry only – for other surfaces use appropriate fixings) and screws to secure the fixing bracket to the wall.
- Replace fuse or circuit breaker and switch on. Your light is now ready for use.

Wiring
Having correctly identified the wiring from your existing light fitting, pull the wire through the hole and connect to the approved outdoor rated external terminal block in the following way:
Check that
- You have correctly identified the wires.
- The connections are tight.
- No loose strands have been left out of the connection block.
- Reseal the approved outdoor rated external terminal block.
Thank you for purchasing this light fitting. Please read the instructions carefully before use to ensure safe and satisfactory operation of this product. Please retain these instructions for future reference.
Warning

This power supply is Double Insulated and does not require connection to an Earth circuit.
Please read these instructions carefully before commencing any work. This unit must be fitted by a competent and qualified electrician.
Check the pack and make sure you have all the parts listed.
Install in accordance with the IEE Wiring regulations and current Building Regulations.
To prevent electrocution switch off at mains supply before installing or maintaining this fitting. Ensure other persons cannot restore the electrical supply without your knowledge. If you are in any doubt, please consult a qualified electrician.
This light fitting should be connected to a fused circuit with a 30mA RCD fitted.
If replacing an existing fitting, make a careful note of the connections.
This product contains non-replaceable parts and cannot be serviced. If damage occurs the part should be scrapped.
Waste electrical products should not be disposed of with household waste. Please recycle where facilities exist. Check with your local authority or retailer for recycling advice.
Layout
Plan the desired layout of these fittings carefully, ensuring the cables will reach the distance between the junction box and the light fitting.
Avoid locating any cables in positions that would cause a hazard. Position cables and junction boxes (not supplied) away from areas where they may be at risk from being cut, trapped or damaged.
The mains supply cable must have a minimum cross sectional area of 1.0mm2
Cables must be protected using suitable conduit or plastic trunking.
Technical data
- Supply Voltage: 220-240 V~, 50 Hz
- Bulb Type: 3W LED Hi Power, 3000K This product contains a light source of energy efficiency class G
Replaceable (LED only) light source by a professional
Replaceable control gear by a professional

Conformity with all relevant UKCA Directive requirements.![]()
Conformity with all relevant EC Directive requirements.
The power supply is Double Insulated and does not require connection to an Earth circuit
Waste electrical products should not be disposed of with household waste. Please recycle where facilities
exist. Check with your Local Authority or local store for recycling advice
This product is not suitable for dimming.
Care and Safety
We recommend cleaning with a soft dry cloth. Do not use solvents or abrasive cleaners as these could damage the finish. For your safety, always switch off the power supply before cleaning
For further information, please visit https://www.lighting-info.co.uk/61638
V2 08/04/2022
UK Manufacturer: BH17 7BY
EU Manufacturer: Brilliant AG,
Brilliantstrasse 1, D-27442 Gnarrenburg


















