wiltec 51266 Motorcycle Front Wheel Chock
Illustration similar, may vary depending on model
Please read and follow the operating instructions and safety information prior to initial operation.
Technical changes reserved!
Illustrations, functional steps, and technical data may deviate insignificantly due to continuous further developments.
The information contained in this document may alter at any time without prior notice. No part of this document may be copied or otherwise duplicated without prior written consent. All rights reserved. WilTec Wildanger Technik GmbH cannot be held liable for any possible mistakes in this operating manual, nor in the diagrams and illustrations shown. Although WilTec Wildanger Technik GmbH has made every possible effort to ensure that this operating manual is complete, accurate, and up-to-date, errors cannot be ruled out entirely. If you have found an error or wish to suggest an improvement, we look forward to hearing from you. Send us an e-mail to: [email protected]
or use our contact form:
https://www.wiltec.de/contacts/
The most recent version of this manual in several languages can be found in our online shop: https://www.wiltec.de/docsearch
Our postal address is:
WilTec Wildanger Technik GmbH
Königsbenden 12
52249 Eschweiler Germany
Do you wish to collect your goods? Our address for collection is:
WilTec Wildanger Technik GmbH
Königsbenden 28
52249 Eschweiler Germany
In order to shorten the waiting time and to allow for an easy on-site processing, we kindly ask you to contact us briefly beforehand or to place your order via the webshop.
E-mail: [email protected]
Phone: +49 2403 555920
Fax: +49 2403 5559215
To return your goods for exchange, repair, or other purposes, please use the following address. Attention! To allow for a trouble-free complaint or return, it is important to contact our customer service team before returning your goods.
Retourenabteilung
WilTec Wildanger Technik GmbH
Königsbenden 28
52249 Eschweiler Germany
E-mail: [email protected]
Phone: +49 2403 555920
Fax: (+49 2403 5559215)
Introduction
Thank you for choosing to purchase this quality product. To minimize the risk of injury, we ask you to always take some basic safety precautions when using this product. Please read this operating manual carefully and make sure that you understand it. Keep these operation instructions in a safe place.
Important safety information
Assembly
- Only perform assembly according to these instructions. Incorrect assembly may lead to dangerous situations.
- During assembly, wear protective goggles, a dust mask that protects your respiratory system, and robust gloves.
- Keep your working area clean and make sure that it is well-lit.
- During assembly, keep bystanders away from your work area.
- Do not assemble the motorcycle stand when being tired or under the influence of alcohol, drugs, or medicine.
- The maximum charge stated and the product properties are only valid for a product correctly and completely assembled.
Precautionary measures and warnings
Disobeying the following warnings may lead to injuries or damages.
- Read, understand, and obey all instructions before operating the device.
- Only use the device on a hard, level surface.
- Before transporting the motorcycle, secure it with the help of wedges and belts.
- During assembly and use, wear safety goggles and heavy-duty gloves.
- When loading and unloading, keep a safety distance to the rack, wedges, and motorcycle.
- Load and unload the motorcycle at low speed.
- Only use the device for motorcycle wheels. The device is not suitable for aircrafts.
- Determine the size of the wheels before use.
- Additionally, apply the lateral upright if present.
- Do not drive on the rack with the motorcycle.
- Do not stay seated on the motorcycle during loading.
- Check the motorcycle stand before every use. Do not use it when parts are loose or damaged.
- The warnings, precautionary measures, and instructions of this operation manual cannot cover all possible conditions and situations. Always use the device with foresight and greatest prudence possible.
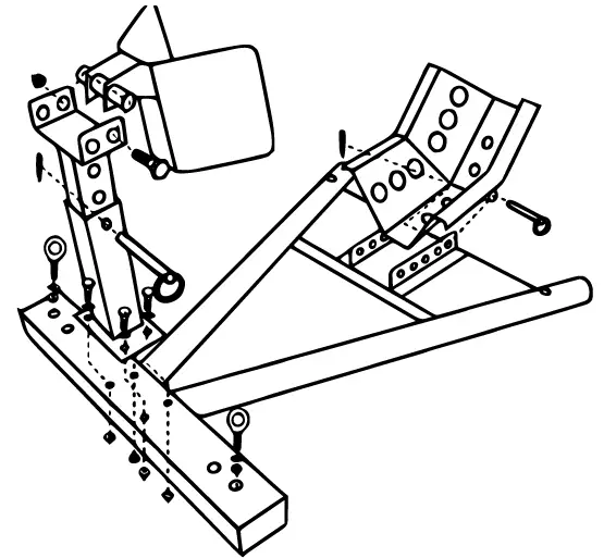
Exploded view and parts list


Important Note:
Reproduction and any commercial use (of parts) of this operating manual, requires a written permission of WilTec Wildanger Technik GmbH.



















