VISION VFM-WVC Mounting Component for Video Conference Camera Instruction Manual
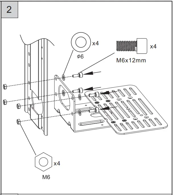
Assembly Instructions




VISION VFM-WVC Mounting Component for Video Conference Camera Instruction Manual




Download manual
Here you can download full pdf version of manual, it may contain additional safety instructions, warranty information, FCC rules, etc.