wiltec 51705 100cm Mower Tractor Scarifier
Read and follow the operating instructions and safety information before using for the first time.
Technical changes reserved!
Due to further developments, illustrations, functioning steps, and technical data can differ insignificantly.
Updating the documentation
If you have suggestions for improvement or have found any irregularities, please contact us.
The information contained in this document may alter at any time without previous notice. It is prohibited to copy or spread any parts of this document in any way without prior written allowance. All rights re-served.
The WilTec Wildanger Technik GmbH cannot be held accountable for any possible mistakes in this operating manual, nor in the diagrams and figures shown.
Even though, the WilTec Wildanger Technik GmbH has undergone biggest possible efforts to ensure that the operating manual is complete, faultless, and up to date, mistakes cannot be entirely avoided. If you should find a mistake or wish to make a suggestion for improvement, we look forward to hearing from you.
Send an e-mail to:
[email protected]
or use our contact form:
https://www.wiltec.de/contacts/
The most recent version of this manual in various languages can be found in our online shop via:
https://www.wiltec.de/docsearch
Our postal address is:
WilTec Wildanger Technik GmbH
Königsbenden 12
52249 Eschweiler
Germany
Do you wish to pick goods up? Our pick-up address is:
WilTec Wildanger Technik GmbH
Königsbenden 28
52249 Eschweiler
Germany
To shorten the waiting time and allow for a rapid on-site transaction, we ask you to call us previously or placing your order via the webshop.
E-mail: [email protected]
Tel: +49 2403 55592–0
Fax: +49 2403 55592–15
To return orders for exchange, repair, or other purposes, please use the following address. Attention! To allow for a smooth execution of your complaint or return, it is important to contact our customer service team before returning the goods.
Returns Department
WilTec Wildanger Technik GmbH
Königsbenden 28
52249 Eschweiler
E-mail: [email protected]
Tel: +49 2403 55592–0
Fax: +49 2403 55592–15
Introduction
Thank you for purchasing this quality product. To minimize the risk of injury we urge that our clients take some basic safety precautions when using this device. Please read the operation instructions carefully and make sure you have understood its content.
Keep these operation instructions safe.
Safety instructions
General
- READ and UNDERSTAND this manual completely before using the 100 cm (40″) scarifies.
- The operator must read and understand all safety, warning, operating, maintenance, and storage instructions before operating this device.
- Failure to properly operate and maintain the scarifies could result in serious injury to the operator or bystanders.
Operation warnings
- Do at no time carry passengers, sit, or stand on the scarifier.
- Do not allow children to play on, stand upon, or climb onto the scarifier.
- Before use, always inspect the device to assure that it is in good operating condition.
- Immediately replace or repair damaged or worn parts.
- Always check and tighten hardware and assembled parts before operation.
- Do not exceed the maximum tray load capacity of 31.75 kg (70 lbs).
- Avoid large holes and ditches when operating the device.
- Be careful when operating the scarifier on steep grades (hill).
- ALWAYS operate at reduce speed in rough terrain, along creeks, ditches, and on hillsides.
- Do not operate close to creeks, ditches, and public highways.
- To avoid personal injury and/or damages to the device, DO NOT EXCEED 8 km⁄h (5 miles⁄h).
- Always use caution when loading and unloading extra weight on the tray.
- Only tow with recommended vehicles (lawn/garden tractors and ATVs).
- Always refer to the vehicle owner’s manual for proper towing.
- The scarifier is not designed to be used with zero-turn mowers.
- Always secure and lock the scarifier thatcher to the vehicle hitch before operating.
Crush and cut hazards
- Always keep your hands and feet away from moving parts while operating the device.
- Always wear safety gear, eye protection, gloves and work boots when operating the device.
WARNING:
The warnings, cautions, and instructions outlined in this instruction manual cannot cover all possible conditions or situations that may occur. It must be understood by the operator that common sense and caution are factors which cannot be integrated into this product and must be sup-plied by the operator.
Requirement of assembly
This product requires assembly before use. See “Assembly” section for instructions. Because of the weight and/or size of the 100 cm (40″) scarifier, it is recommended that another adult be present to assist with the assembly. INSPECT ALL COMPONENTS closely upon receipt to make sure no components are missing or damaged.
Description
- This 100 cm (40″) scarifier has a robust steel construction and is designed to remove dead grass, matted thatch, debris, and large clippings. The 100 cm (40″) scarifier features a fully en-closed weight tray to increase the penetration depth. Never exceed the rated loaded capacity of the tray of 31.75 kg (70 lbs) when operating the scarifier.
- Technical specifications on the 100 cm (40″) scarifier are provided in the “Technical specifications” section of this manual.
Controls and features identification

| № | Name | Comment |
| 1 | Scarifier tray | Do not exceed maximum load capacity 31.75 kg (70 lbs). |
| 2 | Lift handle | Positions tines up or down. |
| 3 | Tines | Removes debris from the ground. |
| 4 | Hitch | Pin-type design use only with approve vehicles. |
| 5 | Tyres/wheels | All-terrain for easy manoeuvring. |
CAUTION:
Read and follow all instructions for assembly and operation. Failure to properly assemble this device could result in serious injury to the user or bystanders, or cause device damage.
Scarifier components and assembly
Take all parts out of the shipping crate and inspect components to ensure there are no missing pieces before starting to assemble the scarifier, follow the steps below.
Component and hardware parts

| № | Name | Qty. | № | Name | Qty. |
| 1 | Tine shield | 1 | 6 | Lift plate | 1 |
| 2 | Spring tines | 10 | 7 | Hitch bracket | 2 |
| 3 | Lift handle | 1 | 8 | Hitch mount arms | 2 |
| 4 | Axle bracket | 1 | 9 | Spring alignment wires | 2 |
| 5 | Wheels | 2 |

| № | Name | Qty. | № | Name | Qty. |
| A | Shoulder bolt | 2 | H | Hexagonal nut M8 | 14 |
| B | Hexagonale bolt M8×50 | 2 | I | Hexagonal lock nut M8 | 19 |
| C | Hexagonal bolt M8×30 | 2 | J | Hexagonal lock nut M10 | 2 |
| D | Hexagonal bolt M8×20 | 15 | K | Lock washer ⌀8 | 14 |
| E | Carriage bolt M8×25 | 14 | L | Big flat washer ⌀8 | 10 |
| F | Hitch pin ⌀10 | 1 | M | Angle bracket | 4 |
| G | Hair cotter pin ⌀3 | 1 | N | Hitch arm Mounting bracket | 3 |
Assembly instructions
Tools required for assembly (1 of each):
- 13 mm wrench
- 14 mm wrench
- Adjustable wrench
- Pliers
Before assembling the scarifier, lay out all of the parts and hardware as shown on the previous pages. The 100 cm (40″) scarifier is show in the following drawings. The assembly of the 100 cm (40″) and 120 cm (48″) is the same except as noted in the instructions.
- Assemble the lift plate (3) to the top of the tine shield using four M8×20 hex bolts (1) and M8 hex lock nuts (2) . Tighten.

- Turn the tine shield upside down.
- Assemble two (tall) hitch arm mount brackets (5) and two (short) angle brackets (4) to the bottom of the tine shield. Fasten the brackets to the four round holes at the rear of the tine shield using four M8×20 hex bolts (3) and M8 hex lock nuts (1). Do not tighten yet.
- Assemble two angle brackets (4) to the round holes in the bottom of the tine shield at the front. Use two M8×20 hex bolts (3) and M8 hex lock nuts (1). Do not tighten yet.

- Fasten the hitch mount arms (2) to the outside of the angle brackets at the front of the tine shield. Use two M8×20 hex bolts (3) and M8 hex lock nuts (4). Tighten and then loosen the nuts slightly.
- Fasten the hitch mount arms to the outside of the hitch arm mount brackets (2) at the rear of the tine shield. Use two M8×25 carriage bolts (1), ⌀8 lock washers (6) and M8 hex nuts (5). Do not tighten yet.

- Assemble the front ends of the hitch mount arms together using two M8×30 hex bolts (6) and M8 hex lock nuts (1). Do not tighten yet.
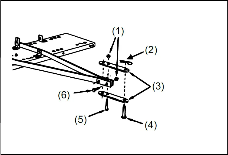
- Assemble the hitch brackets (3) to the top and bottom of the hitch mount arms using two M8×50 hex bolts (5) and M8 hex lock nuts (1). Do not tighten yet.
- Assemble the ⌀10 hitch pin (4) through the hitch brackets and secure it with a ⌀3 hair cotter pin (2).

- Tighten the bolts and nuts assembled in the previous steps in the following order: 8 – 7 – 3 – 4 – 5 (slightly re-loosen afterwards) – 6.
- Assemble the axle bracket (1) on the outside of the angle brackets using two M8×20 hex bolts (3) and M8 hex lock nuts (2). The ends of the axle bracket must point. Tighten and then slightly re-loosen the bolts and nuts.

- Assemble the wheels to the axle bracket using two shoulder bolts (2) and two M10 hex lock nuts (1). Tighten.

- Fasten ten spring tines (4) to the square holes in the bottom of the tine shield. Use a M8×25 car-riage bolt (5), ⌀8 big flat washer (3), ⌀8 lock washer (2) and M8 hex nut (1) for each spring tine. Tighten.

NOTE: Spring tines must seat between dimples. - Assemble the spring align wires (1) through the front and rear rows of spring tines, passing the wires in between the hitch mount arms and the tine shield. Bend the ends of the wires to secure them.

- Assemble a hitch arm mount bracket to the axle bracket using two M8×25 carriage bolts (3), ⌀8 lock washers (6) and M8 hex nuts (5). Do not tighten yet.
- Insert the lift handle (2) down through the tine shield. Attach it to the hitch arm mount bracket just assembled using an M8×20 hex bolt (4) and an M8 hex lock nut (7). Tighten.
- Position the hitch arm mount bracket so that there is side tension on the lift handle (2) with grip (1) when it is locked in the up position. Tighten the nuts.

Operation and adjustments
Regular removal of thatch is critical to maintenance of a healthy lawn. Thatch is a layer of stems, clip-pings, runners, roots and leaves that have not decayed. Excessive thatch prevents air, water and fertilizer from reaching the roots. The scarifier effectively dislodges excessive thatch from your lawn. Read these instructions to help avoid improper adjustment and operation.
Proper adjustment of the tine shield and spring tines is important for effective performance. Refer to the following steps for the proper adjustment before operating the scarifier.
- Move the towing vehicle onto a level surface, such as a driveway or garage floor and attach the tine scarifier to the vehicle hitch.
- To adjust the spring tine shield, lower the scarifier into operating position using the lift handle (2). Loosen the two hex nuts and carriage bolts (1) which fasten the rear of the hitch mount arm to the hitch arm mount brackets. Adjust the tin shield until it is level and both the front and rear spring tines are in contact with the ground. Re-tighten the hex nuts.

- If the scarifier appears to be “jumping” during use, then extra weight should be added to the tine shield. In most conditions extra weight will be needed. Con-crete patio blocks are recommended for weight be-cause of their low profile; however, any type of weight is suitable if it can be tied down to the shield. Secure weight by using suitable binding material such as rubber tie down straps or wire, fastening to the holes in the shield flange.

Maintenance
- Before each use check all nuts and bolts for tightness.
- Lubricate wheels as needed.
- If rust appears on the shield or spring tines, sand lightly and coat with enamel paint.
- Always store in a dry area, and coat exposed metal with light oil when not in use.
Technical specifications
| Size (㎝) | 85 × 102 × 37 |
| Operating width (㎝) | approx. 100 |
| Length of teeth (㎝) | 16.5 |
| Loading level (㎝) | 18–22 |
| Weight (㎏) | 15 |
Explosion view and parts list

| № | Name | Qty. | № | Name | Qty. |
| 1 | Hitch arm mount bracket | 3 | 13 | Hex lock nut M10 | 2 |
| 2 | Hitch bracket | 2 | 14 | Big flat washer ⌀8 | 10 |
| 3 | Spring tine | 10 | 15 | Hex bolt M8×20 | 15 |
| 4 | Spring alignment wire | 2 | 16 | Lock washer ⌀8 | 14 |
| 5 | Wheel | 2 | 17 | Hex nut M8 | 14 |
| 6 | Tine shield (100 cm, 40″) | 1 | 18 | Hex lock nut M8 | 19 |
| 7 | Hitch mount arm | 2 | 19 | Carriage bolt M8×25 | 14 |
| 8 | Lift plat | 1 | 20 | Handle grip | 1 |
| 9 | Axle bracket | 1 | 21 | Hex bolt M8×50 | 2 |
| 10 | Lift handle | 1 | 22 | Hex bolt M8×30 | 2 |
| 11 | Shoulder bolt | 2 | 23 | Hitch pin M8 (flat head) | 1 |
| 12 | Angle bracket | 4 | 24 | Hair cotter pin ⌀3 | 1 |
Important notice:
The reprint or reproduction, even of excerpts, and any commercial use, even in part, of this instruction manual require the written permission of WilTec Wildanger Technik GmbH.
© by WilTec Wildanger Technik GmbH
http://www.WilTec.de
http://www.aoyue.eu
http://www.teichtip.de






























