M79 Series HPA Foam Dart Blaster
User Manual
Latest updated: Sep. 27, 2021
MADE IN TAIWAN
WARNING/LIABILITY STATEMENT
This blaster is a toy and is surrendered by MILSIG, with the understanding that the purchaser assumes all liability for unsafe handling or any action that constitutes a violation of any applicable laws or regulations. MILSIG, shall not be liable for personal injury, loss of property or life resulting from the use of this product under any circumstances, including any intentional, reckless, negligent or accidental discharges.
All information contained in this manual is subject to change without notice. MILSIG reserves the right to make changes and improvements to products without incurring any obligation to incorporate such improvements in products previously sold.
If you, as a user, do not accept liability, MILSIG, requests that you do not use a MILSIG blaster. By using this MILSIG blaster you release MILSIG, of any and all liability associated with its use.
WARNING
Any MOD to the M79 may result in failure and an accident.
All safety protocols and guarantees will terminate with MOD.
- MILSIG M79 HPA FOAM DART BLASTER IS A TOY BLASTER, NOT A WEAPON.
- Careless use or misuse may result in serious bodily injury.
- Eye protection designed for blaster must be worn by the user and all persons within range.
- Must be 14+ years of age or older to operate or handle any blaster and blaster accessories without adult or parental supervision.
- Read and understand all cautions, warnings, and operating manuals before using any blaster or blaster accessory.
- Do not aim the blaster at the eyes or heads of people or at animals.
- Blasters are to be used with foam darts only.
- To prevent fire or shock hazards, do not expose the unit to rain or moisture.
- To prevent fire or shock hazards, do not immerse the unit in liquids.
- To prevent fire or shock hazards, do not disassemble any mechanical HEAT-CORE part.
- Use common sense and have fun.
Any tampering with the unit voids your warranty. Please consult with a MILSIG® local distributor before performing any maintenance. The use of nonfactory authorized components within this product may cause a fire or shock hazard.
IN NO EVENT SHALL THE SELLER BE LIABLE FOR ANY DIRECT, INCIDENTAL OR CONSEQUENTIAL DAMAGES OF ANY NATURE, OR LOSSES OR EXPENSES RESULTING FROM ANY DEFECTIVE PRODUCT OR THE USE OF ANY PRODUCT.
WARNING: This product may contain chemicals known to the state of California to cause cancer and/or birth defects of other reproductive harm. Wash hands after handling.
You must be at least 14+ years of age to purchase this product. This product may be mistaken for a firearm by law enforcement officers or others. Altering the color of the product or brandishing the product in public may be dangerous and may be considered a crime.
Be sure to read the latest version of USER MANUAL before using the product.
Be sure to read the latest version of the YouTube DEMO VIDEO before using the product.
LATEST UPDATE

Thank you for purchasing the MILSIG M79 blaster.
Like any blaster, it is important that safety is at the forefront of your mind at all times when using this product. Never operate the M79 without ASTM-compliant goggles or aim at anyone that is not wearing proper goggles intended for the game of foam dart.
The MILSIG M79 blaster is an advanced system that is suitable for all levels of play and will provide years of service if the following steps are meticulously followed.
- Before airing up, place 3 drops of MILSIG-approved oil into the ASA(Air Source Adapter).
- Screw in your air source into the rear ASA(the Air System must have an output pressure of 800 psi for the M79 to function properly)
- “Dry” Cycle the M79 without paint to evenly distribute oil into the unit.
NOTE
The performance of the M79 series HEAT CORE is the same. Please refer to P. 9, SPECIFICATIONS to know the different specs between M79 and M79A2
M79 DIAGRAM

M79A2 DIAGRAM

| SCAR integrity barrel | HPA Stock Unit |
| Handguard | Pistol grip |
| Main Unit (HEAT CORE inside) | ASA(Air Source Adapter) |
| EXTERNAL HPA TANK CONNECTOR (to HPA tube) |
OPERATIONAL PARTS

SELECTOR SWITCH

OPERATION INSTRUCTIONS
INSTRUCTIONS
- MILSIG M79 series is powered by HPA. Check the air pressure via a pressure gauge.
- Fill the MILSIG MAGic CORE HPA tank to 3000 psi before using the M79.
- M79 cannot function if the air pressure is lower than 800 psi. Always keep the pressure of the air tank over 800 psi when using.
- Be sure to switch the selector switch to SAFTY mode every time when turning ON/OFF the HPA tank. Otherwise, the HEAT CORE may be activated unexpectedly.
- Turn on the switch of the MILSIG MAGic CORE HPA tank to activate the HEAT CORE before using the M79 blaster.
- Turn off the switch of the MILSIG MAGic CORE HPA tank to deactivate the HEAT CORE when you want to stop playing.
- Before adjusting the air velocity with the HEAT CORE regulator, please switch off MILSIG MAGic CORE HPA tank first.
- To use M79A2, connect the HPA tank and EXTERNAL HPA TANK CONNECTOR via the HPA tube.
- Another way to use M79A2 is: Remove the EXTERNAL HPA TANK CONNECTOR, and twist in the HPA tank to ASA as P.7 showed.
WARNINGS
- Always keep the pressure of the MILSIG MAGic CORE HPA tank below 3000 psi for safety concerns. Otherwise, the safety seal of the HPA tank will activate.
- The HEAT CORE may activate unexpectedly even if the selector switch stays in SAFTY if the user chooses to use a non-MILSIG HPA tank without the HPA tank ON/OFF switch.
- Do not insert any body part or any other object into Bolt Action Window before switching the selector switch to SAFTY mode.
- Do not leave the CO2 cartridge in the CO2 stock for more than 3 hours.
BEST PERFORMANCE
- MILSIG recommends players set at least 200 FPS velocity for a 20m level shot; at least 300 FPS velocity for a 30m level shot.
This test result is based on using an MA foam dart. - For best accuracy, MILSIG suggests user install external SCAR. Otherwise, the user can choose to tie 6 strings on the SCAR integrity barrel to increase accuracy even if the velocity may decrease a little bit.
- The performance of velocity, accuracy, and maximum range of MILSIG M79 HPA FOAM DART BLASTER will be affected by the quality and SPEC of the foam darts under the same air pressure setting.
MILSIG recommends using the MILSIG & AACS foam dart (MA dart) to perform the best performance of the M79 series.
MILSIG&AACS foam dart (MA dart)
Weight : 1 ± 0.1 g
Dart head Hardness: 24 ± 2 Hs Foam material: High-density foam Length: 37 ± 0.15 mm
Diameter : 13 ± 0.1 mm
Dart head material: Thermoplastic rubbers (TPR)
FULL-AUTO FUNCTION
- Set up the HEAT CORE regulator and make sure the air velocity is higher than 240 FPS.
- The air pressure supply must be higher than 1000 psi to ensure the FULL-AUTO function is fully operational.
- 2-stage trigger functioning when using FULL-AUTO mode. Pull the trigger a little bit for a single shot; pull the trigger to the end for the FULL-AUTO shot.
- CO2 power can’t activate the FULL-AUTO function.
DART JAM REMOVE

VELOCITY ADJUSTMENT
ADJUST THE VELOCITY with HEAT CORE REGULATOR
- Before start adjusting the air velocity with the HEAT CORE regulator, please switch off the MILSIG MAGic CORE BLACK HPA tank first.
- Make sure the M79 blaster is on SAFTY mode by checking the selector switch.
- Increase velocity by turning the velocity adjustment set screw clockwise, or decrease velocity by turning counterclockwise. Fire several shots to test the new velocity setting before further adjustments are made.
- The range between the maximum velocity and the minimum velocity of the M79 blaster HEAT CORE mechanical system is around 140±10% FPS which the test is based on MA foam dart.

FEATURE OF HEAT CORE REGULATOR
- HEAT CORE REGULATOR is sensitive. 1-degree change of the REGULATOR screw leads to around 2 FPS changes. This test result is based on using an MA foam dart.
- Rotate the regulator clockwise to the end to launch the foam dart at maximum velocity.
- Rotating the regulator counterclockwise to the end will cut off the HPA supply.
- There is a minimum working air pressure for HEAT CORE.
Rotate the regulator in counterclockwise too much will result in insufficient air supply.
Rotate the regulator in clockwise to increase the air supply if the HEAT CORE work is abnormal which cause by insufficient air supply if the situation above happens.
NOTE
Make sure the air pressure of the blaster is stable after every velocity adjustment by firing multiple shots through a chronograph. It may take several shots for the velocity change to happen. M79 blaster may fire one shot when it is aired up.
This is due to the bolt being left in its position from the previous use. The bolt will reset itself and it is not a sign of malfunction.
STOCK INSTALLATION

Magic CORE ADJUSTMENT
ADJUST THE DIRECTION OF PRESSURE GAUGE ON MAGic CORE HPA tank
- Be sure to empty the air tank before adjusting the place of the pressure gauge.
- Install the HPA tank into the ASA.
- Loosen all three of the adjustment screws.
- Make the pressure gauge of the HPA tank face the top, aligned and paralleled to the charging handle by rotation.
- Tighten all the adjustment screws.

CLEANING & MAINTENANCE
CLEANING
- Never perform maintenance on a loaded or pressurized M79 blaster.
- Remove all projectiles from the magazine and blaster prior to doing any cleaning or maintenance. Never use petroleum-based cleaning solvents or lubricants.
- Do not use aerosol spray cleaning solvent.
- To clean the M79 blaster, remove the barrel by twisting it out. Use soft nylon brushes or soft cotton fabrics to clean the barrel. Do not apply any liquid to the barrel. (water, grease etc..)
- Keep the barrel of the M79 dry.
- Wipe off any dirt or grime from outside with clean fabrics.
OILING THE M79 BLASTER
Before performing any of the following instructions, remove the magazine. Point the M79 blaster in a safe direction and discharge until degassed.
OPERATIONAL CONSIDERATIONS
- M79 blaster functions normally between 37°F to 120°F(2°C to 49°C).
- Always keep the air pressure higher than 800psi when use.
WARRANTY & REPAIRS
MILSIG® warranties to the original customer purchaser or current owner that this product is free from defects in material and workmanship under normal use and service for a period of 12 months from the original date of purchase by the initial owner/purchaser.
For the warranty to be effective, the customer must return the product with MILSIG® Warranty stickers that came with the product within thirty days of purchase. MILSIG® agrees to repair or replace (at its discretion) any product within a reasonable period of time. This warranty does not cover o-rings, scratches, nicks, normal wear and tear of parts, any modifications or normal fading of anodizing, or damage caused by dropping or hitting products. This warranty shall not apply if it is shown by MILSIG® that the consumer caused the defect or malfunction because of misuse. This warranty only covers original factory parts. Any modifications or tampering of original factory parts will not be covered by this warranty. Any damage caused by water will not be covered by this warranty. Any malfunction caused by disassembling the MAIN UNIT and HEAT CORE will not be covered by this warranty.
SPECIFICATION
COMMON SPEC
UPPER RECEIVER&HANDGUARD MATERIAL: 606146 ALUMINUM
MAIN PART MATERIAL: PA66 GF35 POLYAMIDE (NYLON)
MAXIMUM VELOCITY: 350 ± 10% FPS
PROJECTILE: MILSIG&AACS half-length foam dart (MA foam dart) / HYDROGEN round 13mm (NOT INCLUDED)
POWER: HPA/CO2
MAXIMUM AIR PRESSURE INPUT: 800 psi
ACTION: SAFTY/SEMI-AUTO/FULL-AUTO
M79 SPEC
LENGTH:850 mm
HEIGHT:175 mm
WEIGHT:2.3 kg (HPA tank NOT INCLUDED)
BARREL:300 mm x 19 mm (SCAR)
INNER DIAMETER: 19 mm
OUTER DIAMETER: 13 mm (IRON SIGHT and HPA TANK NOT INCLUDED)
M79A2 SPEC
LENGTH:556 mm
HEIGHT:175 mm
WEIGHT:2 kg (HPA tank NOT INCLUDED)
BARREL:200 mm x 19 mm (SCAR)
INNER DIAMETER: 19 mm
OUTER DIAMETER: 13 mm
(IRON SIGHT and HPA TANK NOT INCLUDED) (HPA tube NOT INCLUDED)
MAGAZINE SPEC
TALON
STORAGE:13 mm half-length foam dart
Compatible to the M79 series (NOT INCLUDED)
ASSEMBLY GUIDE RECEIVER

| 1. Front Sight (not included) | 11. Magazine (not included) |
| 2. Handguard | 12. Magazine Well |
| 3. Upper Receiver | 13. Barrel |
| 4. Rear Sight (not included) | 14. SCAR End Cap/Orange muzzle |
| 5. Buttstock | 15. Barrel O-ring |
| 6. Stock Guide Rail Bracket | 16. Real cap |
| 7. Stock Guide Rail Pivot Mount | 17. 360-degree HPA connector |
| 8. Stock Guide Rail Screw M4X14 | 18. ASA connector |
| 9. Stock Guide Rail Screw M4X10 | 19. Real cap Screw M5X30 |
| 10. Stock Guide Rail | 20. HPA connector O-ring |
※: MILSIG MAGic CORE HPA tank and Sight NOT INCLUDED
ASSEMBLY GUIDE RECEIVER 2
- Upper receiver
- HEAT CORE
- Bolt Spring
- HC Pin
- Heat Core Pin Washer
- Heat Core Cotter Pin
ASSEMBLY GUIDE RECEIVER 3

- Handguard/Upper Receiver
- D.E.R.P. (Dynamic Exo Retention Platform)
- Magazine Well
- Magazine Well Screw M4X12
- Magazine Well Screw M4X12
- DERP Screw M4X10
- DERP Washer M4
ASSEMBLY GUIDE RECEIVER 4

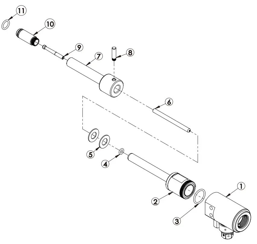
| 1. Upper Receiver | 7. Barrel Block |
| 2. Barrel Block screw M4X16 | 8. Barrel Nut |
| 3. Barrel Nut Screw M5X6 | 9. Barrel Block/Barrel Nut Screw M4X12 |
| 4. Charging Handle Rod | 10. Charging Handle Spring |
| 5. Charging Handle | 11. Charging Handle Screw M4X10 |
| 6. Charging Handle Screw M5X10 | 12. Barrel Block O-ring |
ASSEMBLY GUIDE RECEIVER 5

- Pistol Grip
- D.E.R.P. (Dynamic Exo Retention Platform)
- Grip Screw
- Grip Pin
- Sling Swivel Mount
ASSEMBLY GUIDE GRIP

| 1. Trigger Plate Spring | 11. Grip Frame (L) |
| 2. Trigger Plate | 12. Selector Switch |
| 3. Trigger Pin | 13. Selector Switch Screw |
| 4. Trigger Spring | 14. Grip Frame Screw |
| 5. Trigger Body | 15. Pistol Grip Nut |
| 6. Grip Frame (R) | 16. Sear Spring |
| 7. Grip Frame Pin | 17. Selector Switch Ball Bearing |
| 8. Sear | 18. Selector Switch Spring |
| 9. Selector Switch Cam | 19. Pistol Grip Screw |
| 10. Selector Switch Retainer | 20. Pistol Grip |
ASSEMBLY GUIDE MAG WELL

- Magazine Well Frame(L)
- Magazine Well Frame(R)
- Magazine Release
- Magazine Release Spring
- Magazine Well Frame Nut
- Magazine Well Frame Screw M3X20
- Magazine Well Frame Screw M3X15
- Magazine Well Frame Screw M3X30
- Magazine Release Pin
ASSEMBLY GUIDE HEAT CORE

| 1. HEAT CORE/Regulator/ASA | 7. Bolt |
| 2. Air Chamber | 8. Bolt Stem Guide |
| 3. Air Chamber to Regulator O-ring | 9. Anti-Burst Needle |
| 4. Bolt/Air Chamber O-ring | 10. Ring Jet Breech |
| 5. Shock Bumper | 11. Breech O-ring |
| 6. Value Needle |




















