HALCYON R260 Cleanline Pro Panel

INSTALLATION INSTRUCTIONS
Product Name: Cleanline Pro Panel
Model #: R260
Description: 45W LED, Non-dimmable, IP65, 4000K
Rated Voltage: 220-240V~, 50/60Hz







- Switch off mains power.
- Fix surface mount frame on the ceiling and connect L,N,E to Driver.
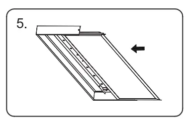
- Pull spring loaded side panel outwards from frame and angle away from the ceiling.
- Plug driver into panel and slide panel into surface mount frame.
- Carefully release spring loaded frame section back into place.
- Switch luminaire on to test functions correctly and is electrically safe.
Installation note: Do not install on the same circuits as Metal halide, Fluorescent and other “Low power factor” devices.
When installed on the same circuit it can cause flickering and/or premature failure of the “high power factor” electronic drivers. The harmonic distortion from low power factor devices alters the Waveform of the AC supply which can cause componentry in high power factor electronic drivers to resonate, run over temperature and fail after prolonged exposure.
Warning: Driver must be installed above insulation.
Note: Accessory brackets included for seismic restraint cables, note restraint cables to be supplied and fixed to appropriate compliant mounting points by installer.
Recessed Mount Version:






- Switch off power.
- Lock the metal sheets on the side of mount bracket.
- Push the recessed mount into the ceiling.
- Lock the metal sheets on the another side of mount bracket.
- Put the luminarie tilt into the recessed mount and connect the driver connection and wire terminal block as indicated
- Switch luminaire on to test luminaire functions correctly and is electrically safe.
Warning: Driver must be installed above insulation.
Note: Accessory brackets included for seismic restraint cables, note restraint cables to be supplied and fixed to appropriate compliant mounting points by installer.
CLASSIFICATION SHEET / IC-F
| Manufacturer I Supplier | Halcyon Lighting Ltd |
| Product Code | R260 |
| Product Type | LED Recessed Luminaire |
| Primary Voltage | 220-240V~50/60Hz |
| Secondary Voltage | 1150mA 30V-40V DC Constant Current |
| Wattage | 45W |
| Ingress Protection Rating | IP65 |
| Classification | ![]() | IC-F – building insulation that can safely be continuously exposed to 90°C allowed to abut I and cover the luminaire. |
In the vicinity of the recessed luminaire, use an insulation product that:
(a) Maintains its dimensions and structural integrity when exposed to a temperature of 90°C; an
(b) Withstands a 30-second needle flame test carried out in accordance with AS/NZS 60695.11.5 with the flame applied to all surfaces of the sample.
Rear of fitting may abut structural members and building elements.
Do not install through or directly into joist, beam, rafter or ceiling batten.
| Side Clearance from heatsink to building element (e.g. timber, joist or batten) | SCB:25mm |
| Height Clearance from heatsink to building element (e.g. timber, joist or batten) | HCB: 25mm |
| Minimum insulation clearance to building element | MIC: 0mm |
Recessed luminaires and their associated equipment may pose a risk of fire or damage to
property if not installed and maintained correctly. Halcyon recommends a clearance of 25mm to building elements for optimum lifespan.
This data sheet contains information necessary to ensure compliance with the New Zealand Electrical Code of Practice for Installation and Maintenance of Recessed Luminaires and Associated Equipment AS/NZS 60598.2.2:2001



















