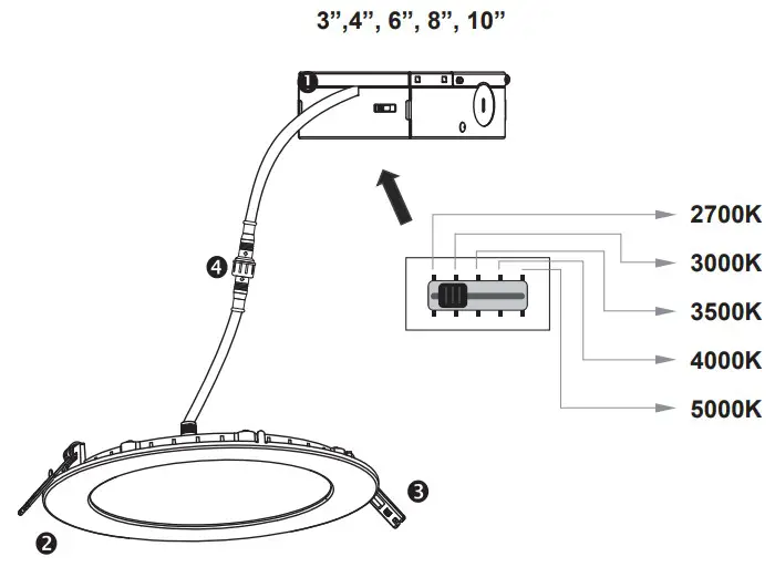
NSL DL-5CCT-3-WH 5 Color Temperature LED Thin-Line Down Light Installation Guide
Important: Read all instructions in order to ensure safety and proper installation.
PARTS LIST

- Remote driver
- Light panel
- Spring clips
- Connector
MAINTENANCE
- Do not modify this fixture. Any modifications may render the product unsafe and void warranty.
- This product is suitable for wet locations.
Limited Warranty
The warranty applies to the product from the original date of purchase for five (5) years against manufacturing defects. The owner must provide a copy of the original proof of purchase. The manufacturer’s obligation under this warranty is limited to repairing or replacing the component. It is not related in any way to the cost of the connection, the installation of the replacement parts or cost of transport.
INSTALLATION GUIDE
WARNING
Turn power OFF from electrical panel before installation or maintenance.
- Turn power OFF from the electrical panel prior to installation.
- Determine the location for installation and cut ceiling hole in accordance with cut-hole dimensions. Refer to Hole Diameter table for appropriate sizes. (Fig. 1)

Hole diameter
DL-5CCT-3-WH: 3.35” (85mm)
DL-5CCT-4-WH: 4.33” (110mm)
DL-5CCT-6-WH: 6.3” (160mm)
DL-5CCT-8-WH: 8.27” (210mm)
DL-5CCT-10-WH: 10.16” (258mm) - Insert the electrical cable through the knockout of the remote driver, and secure it with a cable connector.
- Strip 1/3″ (8mm) of the insulation off each incoming 120V power wire. Connect white wire (neutral) to push-in connector on white wire from remote driver. Connect black incoming 120V power wire (hot wire) to push-in connector on black wire from remote driver. Connect ground wire to push-in connector from ground wire of the remote driver. Push all wires firmly down into connectors, so that non-insulated wire is not exposed. (Fig. 2)

- Place all wiring and connections back in to the box and dose the cover. Connect the driver to the light panel.
- Insert remote driver through the mounting hole. (Fig. 3)

- Push spring-loaded clips on the fixture upwards and insert fixture base in to the mounting hole. Release the clips and fixture will be pulled flush to the ceiling. (Fig. 4)
























