
COLOR SELECTABLE ULTRA-THIN LED DOWNLIGHT
WARNING, CAUTION, SAFETY AND INSTALLATION INSTRUCTIONS
WARNING
- Installation, service, and maintenance of luminaries should be performed by a qualified licensed electrician.
CAUTION
- Confirm the applicable power supply.
- Preliminarily estimate the required quantity of LED fixtures. Divide the power rating (0.9) by the fixture wattage and multiply by the number of fixtures to figure out the total power and design power plan.
- Contact the manufacturer if the wire or cable is damaged. Do not attempt to repair it on your own.
Installation Instructions
1. Turn off the main power circuit.
Using the template provided, cut a hole in the desired position of the ceiling.

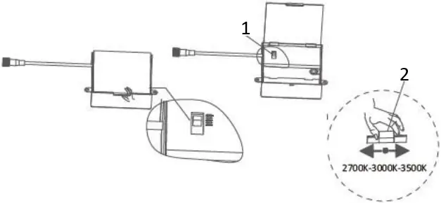
2. Slide the dip switch to the desired color temperature at the driver box.

- Color Adjustable switch
- Color Adjustable by dip switch
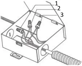
3. Remove the knockout(s) on the side(s) of the junction box.
Run the electrical wire from the power source through the knockout(s).

4. Connect the supply wires to the driver’s wires using the wire nuts (provided).
Push the wires inside the junction box and close the box.

- G-ground wire
- W-neutral wire
- B-live wire
5. Connect the junction box to the fixture and tighten the connectors by hand. The slot on the male/female connectors need to align.

6. Insert the junction box through the hole in the ceiling.

7. Push the spring clips and insert the fixture into the hole in the ceiling.
Turn on the power.

Features
- Slim 1/2-inch-deep body.
- The double-sided frosted lens provides more uniform light.
- The frame is ACD 12 for better cooling; low-power large LEDs are ideal in low temperatures.
- The powder coated back plate and optical light chamber prevent light-leaking.
- The driver is designed with high efficiency PF (PF>0.9) and is dimmable with most dimmers. Dimming range from 10% to 100%.
Specifications
| Model | PLT-20273 | PLT-20274 |
| CCT | 5 CCT adjustable | |
| Luminous flux (±10%) | 430-490 | 820-900 |
| Power (W) | 7W | 12W |
| Cutout size | 3-3/4 inch | 6-3/8 inch |
| Beam angle | 110° | |
| Input voltage | 90-130VAC | |
| LED type | 2835 | |
| CRI | >90 | |
| IP | IP44 | |
| PF | >0.9 | |
Dimensions
(unit: inch)
3 inch

6 inch

WARNING
- Before installing, servicing, or performing routine maintenance upon this equipment, follow these general precautions.
- To reduce the risk of death, personal injury, or property damage from fire, electric shock, falling parts, cuts/abrasions, and other hazards, read all warnings and instructions included with and on the fixture box and all fixture labels.
- Proper grounding is required to ensure safety.
- Power must be turned off at the breaker before installation or maintenance.
- This product must be installed in accordance with the applicable installation code by a person familiar with the construction and operation of the product and the hazards involved.
- Wear gloves and eye protection at all times while installing, servicing, or performing maintenance on the luminaire, and avoid direct eye exposure to the light source while it is on.
- To prevent wiring damage or abrasion, do not expose wiring to edges of sheet metal or other sharp objects.
- Do not install damaged product. Inspect luminaire for damage that may have occurred during transit. If damaged, contact the manufacturer immediately.
- These instructions do not purport to cover all details or variations in equipment nor to provide every possible contingency to meet in connection with installation, operation, or maintenance. Should further information be desired or should particular problems arise which are not covered sufficiently for the purchaser’s or owner’s purposes, contact the manufacturer.
972-535-0926 | pltsolutions.com | ver 031023



















