TYAN GC68-B7126 Dual Ice Lake Xeon 1U Cloud Server

General Information
Read Me First
- The Barebone User’s Manual is available for download from our Web site at http://www.tyan.com. Make sure to read all precautions and instructions before you start installing the server system.
- Refer all servicing to qualified personnel to avoid the risk of damage to the server system.
- Exercise normal ESD (Electrostatic Discharge) procedures during system integration. TYAN/MiTAC recommends wearing gloves and an anti-static wrist strap to avoid possible damage to the equipment.
- Current processor socket design places the pins on the motherboard instead of the processor itself. Exercise caution when installing the processors as the manufacturer’s warranty does not cover damage inflicted upon the motherboard, including damage to the CPU sockets.
Box Content
- (1) 1U chassis

- (1) TYAN® S7126GM2NRE System Board (pre-installed)

- (1+1) 850W (80+ Platinum) w/ PFC Redundant Power Supply (pre-installed)

- (3) 40X40X28MM + (3) 40X40X56MM Fans (pre-installed)

- (1) M1631G68-D-85A-PDB Power Distribution Board (pre-installed)

- (1) M1724G68-FPB (pre-installed)

- (1) M1725G68-USB (pre-installed)

- (1) M7126-R16-1F Riser Card (pre-installed)

- (1) M7126-L16-1F Riser Card (pre-installed)

- (1) M1312G68-BP6E-4X HDD Backplane Board (pre-installed, only for B7126G68V4E4HR SKU)

- (1) M1302G68-BP12-4 HDD Backplane Board (pre-installed, only for B7126G68V4E4HR SKU)

- (1) M1303G68A-BP12E-12X HDD Backplane Board (pre-installed, only for B7126G68AV10E2HR SKU)

Accessories

Required Hardware Components
Minimum Hardware Requirements
To avoid integration difficulties and possible board damage, your system must meet the following minimum requirements:
- Processor: (2) 3rd Gen Intel Xeon Scalable processor with TDP 205W
- Memory Type:
- (16) DIMM slots support DDR4-3200/2933 RDIMM/LRDIMM
- (8) memory channels per CPU
- (1) DIMM slot per CPU channel
- Hard Disk Drives:
- (4) 2.5″ hot-swap NVMe U.2 (7mm) + (4) hot-swap 3.5″/2.5″ SAS/SATA devices (B7126G68V4E4HR SKU)
- (2) 2.5″ hot-swap SAS/SATA/NVMe + (10) 2.5″ hot-swap SAS/SATA devices (B7126G68AV10E2HR SKU)
- Rack Mount Kit (Industry 19″ rack-mountable)
NOTE: Please refer to the product user guide posted on https://www.tyan.com for product details.
Tools Required

Motherboard Placement
Motherboard Placement

CONNECTORS
- Dedicated IPMI port + USB3.0x2 (J112)
- sSATA connector (sSATA4)
- VGA + COM PORT (VGA_COM1)
- sSATA connector (sSATA5)
- I210 LAN connector (LAN2)
- I210 LAN connector (LAN1)
- Vertical Type A USB Connector (TYPEA_USB3)
- TYAN Module Header (DBG_HD1)
- M.2 22x80mm connector (NGFF1)
- VGA Header (FPIO_VGA3)
- SSATA SGPIO Pin Header for SSATA 4~5 (SSATA_SGPIO1)
- COM2 Header (HD_COM2)
- Power BTN (PWR_BTN1)
- FAN Pin Header (FAN_HD1)
- Intel VROC RAID KEY Connector (J51)
- Front Panel Pin Header (FPIO_1)
- NVMe hot plug function (HDR_3)
- Reset BTN (RST_BTN1)
- IPMB Pin Header (IPMB_HD1)
- Vertical SLIMSAS Connector (SLIMSAS1)
- Vertical SLIMSAS Connector (SLIMSAS2)
- Vertical SLIMSAS Connector (SLIMSAS3)
- Vertical SLIMSAS Connector (SLIMSAS4)
- FPB USB2.0/USB3.0 *2 (USB3_FPIO1)
- REAR IO_FAN 1 (SYS_FAN_4)
- REAR IO_FAN 2 (SYS_FAN_3)
- SSI 8-pin CPU1 Power Connector (PW2)
- CPU1_FAN (CPU1_FAN)
- CPU0_FAN (CPU0_FAN)
- SSI 8-pin CPU0 Power Connector (PW1)
- FRONT FAN_2 (SYS_FAN_2)
- FRONT FAN_1 (SYS_FAN_1)
- PSMI Pin Header (PSMI_HD1)
- ATX Power Connector (24p) (PWR1)
- 36-pin Vertical Mini SAS Connector (SATA 3.0 signals) (PCH_SSATA_0_3)
- 72-pin Vertical Mini SAS Connector (SATA 3.0 signals) (PCH_SATA_0_7)
LEDS
- BMC Debug LED (BMC_LED1)
- M.2 LED (LED75)
- REAR IO ID LED BTN (IDLED_BTN1)
- REAR ID LED (ID_LED1)
- On board BMC IPMI ALERT LED (IPMI_LED1)
- BMC Heartbeat LED (BMC_LED4)
- On board HDD Active LED (HDD_LED1)
- CPU ERROR LED (ERR_LED1)
- CPU ERROR LED (CAT_LED1)
- CPU ERROR LED (ERR_LED0)
- CPU ERROR LED (ERR_LED2)
- Memory Error LED-CPU1 (LED72)
- Memory Error LED-CPU1 (LED71)
- Memory Error LED-CPU1 (LED74)
- Memory Error LED-CPU1 (LED73)
- Memory Error LED-CPU1 (LED69)
- Memory Error LED-CPU1 (LED70)
- Memory Error LED-CPU1 (LED67)
- Memory Error LED-CPU1 (LED68)
- Memory Error LED-CPU0 (LED64)
- Memory Error LED-CPU0 (LED63)
- Memory Error LED-CPU0 (LED66)
- Memory Error LED-CPU0 (LED65)
- Memory Error LED-CPU0 (LED61)
- Memory Error LED-CPU0 (LED62)
- Memory Error LED-CPU0 (LED59)
- Memory Error LED-CPU0 (LED60)
- PSU_ALERT_N LED (PSMI_LED1)
- Platform RESET LED (SYS_RST_LED1)
SLOTS
- A. OCP A Slot (J28)
- B. OCP B Slot (J31)
- C. Mini PCIe SLOT x32 (J3)
- D. Mini PCIe SLOT x32 (J4)
JUMPERS
- a. PC BEEP Jumper (J120)
- b. PSU Throttling jumper (J125)
- c. BMC COM PORT jumper (J118)
- d. BMC COM PORT jumper (J119)
- e. ME Recovery Jumper (J113)
- f. Select PECI to BMC or PCH (J133)
- g. Security Override jumper (J114)
- h. System reset jumper (J136)
- i. SMBus select jumper (3PHD8)
System Installation
B7126G68V4E4HR

B7126G68AV10E2HR

Open the Chassis
Preparing the Chassis
Read normal ESD (Electrostatic Discharge) procedures.
Place your TYAN® Server Chassis on a flat anti-static surface to perform the following integration procedures. Read ESD procedures before reaching inside to install components.

Install the Add-On Card (Optional)
- Remove the two screws securing the riser bracket to the chassis. Then lift to remove the riser bracket.

- Flip the riser bracket and place on a surface. Remove the fixing screw and the PCI dummy slot cover accordingly.

- Install the add-on card to the riser slot. Make sure the card is firmly latched into the riser bracket. Secure the add-on card to riser bracket with the screw released in step 2.

- Carefully flip the riser bracket. Then align and install the riser bracket to its slot on the chassis. Secure the riser bracket to chassis with the two screws released in step 1.

Install the Memory
- Unlock the clips.

- Insert the memory module.

- Lock the clips.

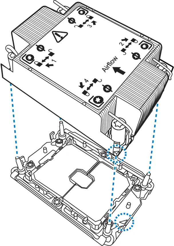
Install the Processor
- Align the triangle edge of the carrier with the notch on the edge of the heatsink. Then install the carrier on the bottom of the heatsink and make sure the latches are snapped under the edge of the heatsink.

- Align and install the processor on the carrier. Make sure the gold arrow is located in the correct direction.

- Remove the CPU cover.

- Carefully flip the heatsink assembly. Align the heatsink with the CPU socket by the guide pins. Make also sure that the triangle edge of the carrier is aligned correctly with the triangle mark on the CPU socket. Then place the heatsink assembly onto the top of the CPU socket.

- Press down on the retention clips to fix the heatsink assembly to the CPU socket.

- To secure the heatsink assembly, use a T30 Security Torx to tighten the screws in a sequential order (1⇒2⇒3⇒4).
NOTE: When dissembling the heatsink, loosen the screws in reverse order (4⇒3⇒2⇒1).
NOTE: A new heatsink comes with pre-applied thermal grease.
Once the heatsink has been removed from the processor, you need to clean the processor and heatsink using an alcohol solvent. Then apply new thermal grease before reinstalling the heatsink.

Install the Air Ducts
Align the air duct with its respective slot, and then hook the tab of the air duct to the fan cage. Push the air duct down until it is fully seated. Repeat the same procedures to install another air duct.

Install the Hard Disk Drives (3.5″) for B7126G68V4E4HR SKU
- Press on the locking lever latch. The locking lever opens automatically.

- Slide the drive tray out.

- Unlock and open the tray side rail. Place a 3.5″ drive into the tray. Close the tray side rail firmly to secure the drive in place.

- Reinsert the drive tray into the chassis.

- Press the locking lever to secure the tray. Repeat the same procedures to install other drives.

Install the Hard Disk Drives (2.5″ 7mm) for B7126G68V4E4HR SKU
- Press on the locking lever latch. The locking lever opens automatically.

- Slide the drive tray out.

- By aligning with one side of the guide pins, install a 2.5″ drive into the tray. Then push the drive down until it is well seated.

- Reinsert the drive tray into the chassis.

- Press the locking lever to secure the tray. Repeat the same procedures to install other drives.

Install the Hard Disk Drives (2.5″) for B7126G68AV10E2HR SKU
- Press on the locking lever latch. The locking lever opens automatically.

- Slide the drive tray out.

- Press on the locking lever latch steadily and pull the tray side rail outwards.

- By aligning with one side of the guide pins, install a 2.5″ drive into the tray. Close the tray side rail firmly to secure the drive in place.

- Re-insert the drive tray into the chassis.

- Press the locking lever to secure the tray. Repeat the same procedures to install other drives.

I/O Ports
Locate the External I/O Port

Caution
DOA/ RMA Reminder
NOTE: Please save and replace the CPU cover when returning the server board for service.



























































