Intesis AC Cloud Control Specific Brand Controller
The installation process should only be performed by an authorized installer.
Please follow all Safety Instructions provided by the AC manufacturer manuals.
Product Description
The device is an external module capable of connecting Air Conditioning units into your WiFi network to provide global connectivity and remote control applications through a friendly user interface. Packaging content (Figure 1): 
| Device | Quick install guide | Installation sketch | Label |
Device Location
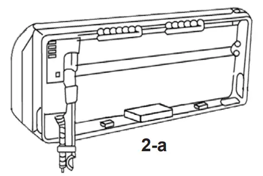
Device installed inside the AC unit or hidden (Figure 2-a)
- The indication LED and the button are not going to be accessible by the user.
- If there is not enough space for installation inside the AC unit, the following actions can be performed: o If it is due to water pipes, change the side of the AC where they are connected to get more space inside the AC unit.
Device installed outside the AC unit (Figure 2-b)
- The device can be fixed both: using screws or double-sided tape.
- The cable lid has several options to direct the cables to the desired direction.
Device Connection

- Unplug the Air Conditioner (AC) unit from the mains.
- Access to the main Printed Circuit Board.
- Locate the socket connector indicated in the Installation Sketch.
- Select a location for the device.
- Connect the AC Cloud Control device to the Air Conditioner. *
- Close the Air Conditioner unit.
- Plug the AC to the power supply line. If the connection with the Air Conditioner has been successful, the device LED will start blinking Green and then will change to steady Green.
- Check the Installation Sketch for detailed information.
WiFi Configuration
Follow the Instructions from our wifi configuration manual at: https://www.intesis.com/docs/rc_quick_wireless_config_bt
Device Registration
Follow below instructions to register your device:
- Visit https://accloud.intesis.com or download the App from Google Play or the App Store and follow the instructions
- Create an account (in case you don’t have it yet).
- Visit the settings/device/ section and click on add device.
- Introduce the registration code (25-digit code on the label).
WARRANTY DOCUMENT
- HMS Industrial Networks, S.L.U. (hereinafter “HMS Networks”), in its capacity as manufacturer, hereby informs you of the rights which Royal Legislative Decree 1/2007, of November 16, approving the revised General Consumer and User Protection Law and the rest of the legislation applicable confers on you in your capacity as a consumer in the event of non-conformity of the device (hereinafter the “Device”).
- HMS Networks warrants to you that for three (3) years from the delivery of the Device it shall be liable, under the terms and conditions established in this document, for the non-conformity of the Device, provided that such nonconformity is due to a manufacturing defect which prevents the use of the Device in an ordinary manner or with its usual levels of quality and performance. In this respect, it shall be presumed that the nonconformities which are revealed within six (6) months from the delivery of the Device already existed when the Device was delivered, unless this presumption is incompatible with the alleged non-conformity.
- If a legitimate nonconformity of the Device in accordance with the previous paragraph is shown, you may choose free of charge between the repair and the replacement of the Device, provided that the option which you choose is objectively possible and proportionate.
- If you have opted for the repair of the Device but when such repair has been performed and the Device has been delivered, it still contains the manufacturing defect which gave rise to the nonconformity, you may request the replacement of the Device by another of the same kind, unless a such replacement is disproportionate in relation to the defect.
- If you opt for the repair or the replacement of the Device, the calculation of the warranty period provided in section 2 of this document shall be suspended from the time you deliver the nonconforming Device until the repaired or replaced Device is delivered to you, the remaining warranty period resuming from that time onwards. HMS Networks shall also be liable for the manufacturing defects which caused the repair for six (6) months from such repair.
- If repair or replacement is not possible or has not been carried out by HMS Networks, you may request a reduction of the price or even the return of the Device with a refund of the price paid. However, you may not return the Device demanding payment of the price paid if the manufacturing defect giving rise to the nonconformity is of little importance.
- The warranty of the Device does not cover any defect, irregularity, malfunctioning or reduction of the quality or the performance caused by:
- Any defect or malfunctioning of the air-conditioning equipment in which the Device is installed.
- Defective or incorrect installation of the Device by the technician that you may hire in order to perform such installation or by any other third party.
- Any handling by you of the Device, as well as any incorrect use which you may make of the Device, including cases of dismantling or opening of the Device and the addition of parts or additional accessories both to the Device and to the air-conditioning equipment in which it is installed.
- Failure or interruptions of the electricity or computer supply or arising from access to and operation of the Internet beyond the control of HMS Networks, as well as any others arising from improper use of the Device.
- Damages caused by the transport or the storage of the Device are not attributable to HMS Networks, or any other related to the maintenance of the Device before and after the sale thereof.
- The normal wear and tear of the Device or its parts as a result of the passage of time, as well as the breakage thereof or others arising from blows, falls or impacts.
- The contact of the Device with water or other inappropriate substances, as well as damage caused as a result of environmental conditions which are unsuitable or not in accordance with those indicated in the instructions manual.
- In order to prove the date of receipt of the Device for the purpose of the calculation of the warranty period, you should retain the invoice or receipt of purchase.
- This warranty applies to Devices purchased in Spain. In the case of Devices purchased outside Spain, the warranty conditions established in the country where they were acquired shall apply.
- In order to exercise the rights derived from this warranty, you may send an e-mail to [email protected], in which the procedure to be followed will be indicated to you.
Address:
HMS Industrial Networks, S.L.U. C/ Milà i Fontanals, 7 08700 – Igualada (Barcelona)
Telephone: +34938047134




















