
Commercial Series Gen 2
CDL2‑15G | CDL2‑15H | CDL2‑15G‑CHI | CDL2‑A15G | CDL2‑A15H | CDL2‑A12G | CDL2‑A15G‑CHI

Quick installation guide
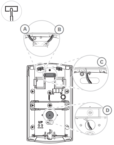
![]() | ![]() | ![]() |
![]() | ![]() | ![]() |
![]() | ![]() | ![]() |
![]() | ![]() | ![]() |
![]() | ![]() | ![]() |
![]() | ![]() | ![]() |
![]() | ![]() | ![]() |
![]() | ![]() | ![]() |
![]() | ![]() | ![]() |
Manufacturing dates
For product manufacturing dates, go to http://www.boschsecurity.com/datecodes/ and refer to the serial number located on the product label.
![]()
Changes or modifications not expressly approved by Bosch Security Systems, Inc. can void the user’s authority to operate the equipment.
| cULus | Perform Walk Test at least once a year. Use only a Listed Class 2 Power Limited power source. Standby power: The Listed control unit or a listed burglary power supply must provide 4 hours of standby power. Install the unit in accordance with National Electrical Code NFPA 70 and Part 1 of the Canadian Electrical Code CSA C22.1. |
| FCC/IC | This device complies with part 15 of the FCC Rules and Industry Canada licenseexempt RSS standard(s). Operation is subject to the following two conditions: (1) this device may not cause interference, and (2) this device must accept any interference, including interference that may cause undesired operation of the device |
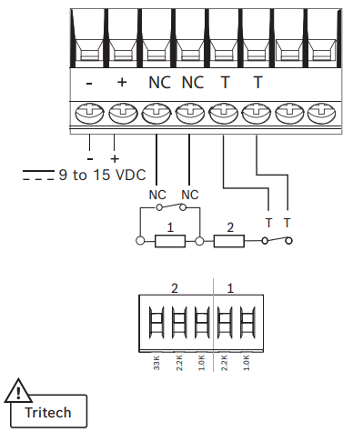
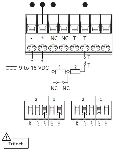
| Voltage (operating) | 9 to 15 VDC, 9-15 Vcc |
| Current (max) | 16 mA |
| Alarm relay/ Tamper/ Trouble | <35 mA, 25 V |
| Wiring loops | Ø 1.29 mm to 0.40 m (16 AWG to 26 AWG) (UL: 22 AWG to 16 AWG) |
| G model = -20 °C – +55 °C (-4 °F to +131 °F) H model = -20 °C – +55 °C (UK = 0 °C – +50 °C) UL/ C-UL: 0 °C to +49 °C (+32 °F to +120 °F) |
| 0- 95% Relative humidity non-condensing UL / C-UL: 0 – 93% |
| Re- gion | Agency | Certification |
| USA and CA | UL, C- UL | UL639, C-UL S306-03 LISTING Intrusion Detection Unit, Type: S (CDL2-A15G, CDL2-A12G, CDL2-15G) |
| FCC | Part 15 Subpart B & C, Class B, FCCID: T3X-CDL2 (CDL2-A15G, CDL2-A12G, CDL2-15G) | |
| IC | RSS210 1249A-CDL2 (CDL2- A15G, CDL2-A12G, CDL2-15G) | |
| EU | CE | CE – 2014/53/EU (RED), 2011/65/EU and 2015/863 (RoHS) (CDL2-A15G, CDL2- A15H, CDL2-A12G, CDL2-15G, CDL2-15H) |
| EN | NF & A2P EN 50131-2-4 Grade 3 (CDL2-A15G, CDL2-A15H, CDL2-A12G) NF & A2P EN 50131-2-4 Grade 2 (CDL2-15G, CDL2-15H) EN 50130-5, Environmental Class II (CDL2-A15G, CDL2- A15H, CDL2-A12G, CDL2-15G, CDL2-15H)) EN60529, EN62262: IP41/IK04 | |
| CN | CCC | 2015031901000145 (CDL2- A15G-CHI, CDL2-15G-CHI) |
| FR | AFNOR & CNPP
| EN50131-2-4 Grade 3, NF324H58 + RTC 50131-2-4 CDL2-A15H – Certificate # 2830200012 NF (AFNOR): www.marque-nf.com, A2P (CNPP): www.cnpp.com |
| FR | AFNOR & CNPP
| EN50131-2-4 Grade 2, NF324- H58 + RTC 50131-2-4 CDL2-15H Certificate # 2830200012 NF (AFNOR): www.marque-nf.com, A2P (CNPP): www.cnpp.com |
| AU | ACMA | RCM (CDL2-A15G, CDL2-15G) |
| BR | ANA- TEL | Resolution No. 242 (CDL2- A15G, CDL2-A12G, CDL2-15G) |
Bosch Security Systems B.V.
Torenallee 49
5617 BA Eindhoven
Netherlands
www.boschsecurity.com
© Bosch Security Systems B.V., 2021












































