MAXIM LIGHTING 11414 Oslo 19 Inch 1-Light Large Pendant Instruction Manual
Light Source : 1X E26 Medium base 60W(Not Included)
Read the instructions carefully prior to assembling the product. When you open the package with a sharp tool like a cutter knife, be careful not to damage the components inside. Carefully remove all packaging materials and retain for future use. Carefully remove all packaging materials and retain for future use. Keep all hardware parts and packaging out of reach of small children. Choose a clean, level, spacious assembly area. Avoid hard surfaces that may damage the product. Ensure that you have all required contents for
complete assembly. Take care when lifting. Assemble the product in close proximity to where you intend to position the item. Take care when lifting. Assemble the product in close proximity to where you intend to position the item. Do not over tighten the screws and bolts as this may damage the threads. Do not let children play with this product.
Risk of suffocation! Keep any packaging materials away from children.
Lamp Care Instructions
Carefully read through the instruction sheet before assembly and using the product.
Carefully read through the instruction sheet before assembly and using the product.
Switch off,unplug and allow bulb to cool before replacing bulb or cleaning.
Only use the recommended bulb type and do not exceed the maximum wattage as it could cause fire.
Only use the recommended bulb type and do not exceed the maximum wattage as it could cause fire.
Cleaning & Maintenance
On polished finishes, often using talc powder reduces the appearance of fingerprints and other smudges.
For respective shade surfaces, use the appropriate cleansers, i.e. glass cleaner, acrylic polish, and wood polish.
Clean with soft cloth and a mild detergent. DO not use abrasive cleaner.
Periodically (every90 days) make sure that the screws are fully tightened.
Prolonged exposure to heat sources may cause glazing,melting and scorching,or even cause color to fade.
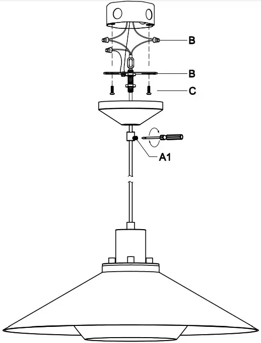
Contents
Before getting,started,ensure the package contains the following components:

Fixture


Screw #8-32×1″
Wire connector
INSTALLATION




















