
MAXIM LIGHTING 25164OIAB Trestle 3-Light Pendant
Before Getting Started
Please consult a qualified electrician for hanging fixture and wiring
Light Source: 3 x E26 Medium Base 60W (Not Included)
Read the instructions careftully priorto assembling the product.
- When you open the package with a sharp tool nke a cutter knife, be careful not to damage the components inside.
- Carefully remove all packaging materials and retain for future use.
- Keep all hardware parts and packaging out of reach of small children.
- Choose a cdean, level, spacious assembly area.
- Avoid hard surfaces that may damage the product.
- Ensure that you have all required contents for complete assembly.
- Take care when lifting. Assemble the product in close proximity to where you intend to position the item.
- Do not over tighten the screws and bolts as this may damage the threads.
- Donot let children play with this product.
- Risk of suffocation!
- Keep any packaging materials avway from children.
Lamp Care Instructions
- Carefully read through the instruction sheet before assembly and using the product.
- Caution there is a risk of shock. Disconnect from power source before assembling or cleaning.
- Switch off, unplug and allow bulb to cool before replacing bulb or cleaning.
- Only use the recommended bulb type and do not exceed the maximum wattage as it could cause fire.
- Do not plug the product in if cord is tom or frayed.
Cleaning & Maintenance
- On polished finishes, often using talc powder reduces the appearance of fingerprints and other smudges.
- For respective shade surfaces, use the appropriate cdeansers, i.e. glass cleaner, acrylic polish, and wood polish.
- Clean with soft cloth and a mild detergent.
- DO not use abrasive cleaner.
- Periodically (every 90 days) makesure that the screws are fully tightened.
- Prolonged exposure to heat sources may cause glazing, melting and scorching, or even cause color to fade.
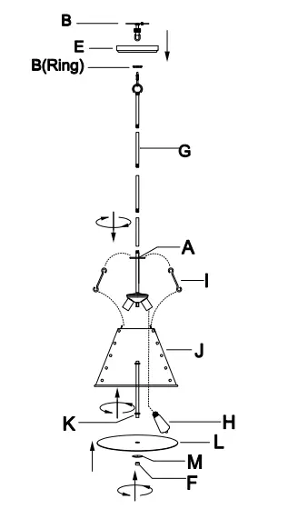
Before getting,started,ensure the package contains the following components:
Instructions

- Run wire through stems and combine stem lengths to meet desired mounting height.





















