MASTER XL 91 Direct Diesel-Fired Infrared Hot Air Generator
IMPORTANT: READ AND UNDERSTAND THIS OPERATIONAL MANUAL BEFORE PERFORMING ASSEMBLY, COMMISSIONING, OR MAINTENANCE ON THIS HEATER. INCORRECT USE OF THE HEATER CAN CAUSE SERIOUS INJURY. KEEP THIS MANUAL FOR FURTHER REFERENCE.
SAFETY INFORMATION
(WARNINGS)
IMPORTANT:
- This air heater has been designed for mobile and temporary professional applications. It has not been designed for domestic use nor for the thermal comfort of humans
- This device is not suitable for operation by persons (including children) with impaired physical, sensory or mental faculties, as well as inexperienced personnel unless supervised by a safety guardian. Children are not to be left unattended to ensure they are not playing with the equipment.
WARNING: Carbon monoxide poisoning can prove to be fatal.
The first symptoms of carbon monoxide poisoning are similar to influenza with severe headaches, dizziness, and/or nausea. Such symptoms may be caused by heater fault. UPON NOTICING THESE SYMPTOMS, IMMEDIATELY LEAVE
THE ROOM AND GO OUTSIDE, next, notify the technical service center that the heater needs to be repaired.
SUPPLY:
- Personnel in charge of supply must be fully qualified and must be familiar with the manufacturer’s manual as well as the effective regulations for the safe supply of heaters.
- Only the fuel types specifically listed on the heater’s nameplate are to be used.
- Before refueling, shut down the heater and wait for it to cool down.
- Fuel cisterns are to be located in a separate facility.
- All fuel containers are to be located within a safe distance from the heater, as per the applicable regulations.
- Fuel is to be stored in rooms with an insulated floor so that the fuel cannot penetrate the floor into the open flame below causing fuel combustion.
- Fuel storage needs to follow all the applicable regulations.
TECHNICAL DATA TABLE
SAFETY CONSIDERATIONS:
- The heater should never be used in rooms with fuel, paint thinners, and other combustible fumes.
- All applicable local rules and regulations need to be observed while using the heater.
- Heaters in operation near tarpaulin, screens, or other similar materials need to be located a safe distance away. The use of inflammable covers is highly encouraged.
- The device is to be used in well-ventilated interiors only. To ensure proper air circulation, a proper opening is required, as per the applicable regulations.
- For the heater, the power feed observes closely the voltage and frequency values given on the nameplate.
- Only use grounded, three-core extension cords.
- The minimal safety distance between the heater and combustible materials is front = 2,5 m (8 ft); side, up, and back = 1,5 m (5 ft).
- To avoid fire, a hot or working heater is to be placed on a stable and leveled flooring.
- Animals are to be kept at a safe distance away from the heater.
- Unplug the heater at all times during downtime.
- Thermostat control allows the heater to be turned on at any time.
- The heater must not be used infrequently visited rooms and in bedrooms.
- If the heater is plugged in, hot, or currently running, it must not be moved, manipulated, refueled or attempt maintenance work of any kind.
- Keep a safe distance between the hot parts of the heater and thermosensitive or combustible materials (including feeder cable).
- In case the feeder cable is damaged, have it replaced at the technical service center to avoid danger.
UNPACKING
See Fig. 1
- Remove all the heater wrapping and packaging materials then dispose of them as per the applicable local regulations.
- Remove all the components from the box.
- Check for any damage during transport. If the heater appears damaged in any way, please inform your vendor promptly.
FUEL
WARNING: The heater only runs on DIESEL or KEROSENE fuel.
To avoid fire or explosion, use only diesel or kerosene fuel. Do not use gasoline, naphtha, paint thinners, alcohol, or any other combustible liquids. For low-temperature operations, use antifreeze supplements.
OPERATING PRINCIPLE
See Fig. 2
Airflow is necessary to ensure proper combustion, it is supplied by the internal burner fan. The air enters the burner funnel and gets mixed with a high-pressure fuel jet. The fuel flow is secured by an electrical pump, which sucks the fuel away from the tank and moves it to the nozzle under high pressure.
OPERATION
WARNING: Read the section “SAFETY CONSIDERATIONS” carefully before turning the heater on.
IMPORTANT: After the first time the heater does not switch on, make sure there is fuel in the tank, make sure the fuel filter is clean and make sure that the heater is positioned on a flat, stable surface.
IMPORTANT: This is a target infrared heater. Infrared heats bodies and not the air.
- RUNNING THE HEATER:
- Observe all safety instructions at all times.
- Check if fuel is present in the tank.
- Close the fuel tank filler plug.
- Plug the feeder cable into the socket (CHECK THE VOLTAGE IN ”TECHNICAL DATA SHEET”).
- Turn the “ON/OFF” switch “ON” (|) (A Fig. 3). The heater should be online in a few seconds. If it is not, please refer to the section “PROBLEM IDENTIFICATION” (Paragraph 10). ►5.1.6. To obtain maximum power, turn the switch (D Fig. 3) to “ ”.
NOTE: IN THE EVENT OF THE HEATER BEING TURNED OFF DUE TO RUNNING OUT OF FUEL, TURN THE HEATER OFF, REFUEL AND TURN IT BACK ON (SEE PARA. 5.1.) - TURNING THE HEATER OFF:
WARNING: DO NOT CUT THE POWER OR DISCONNECT THE FEEDER CABLE BEFORE THE HEATER COOLS DOWN COMPLETELY (ab. 5 minutes).
- Turn the “ON/OFF” switch “OFF” (0) (A Fig. 3).
- 5.3. ROOM THERMOSTAT CONNECTION (Optional):

Remove the plug connected to the appliance and connect the room thermostat (Optional) (C Fig. 3). - 6. MAINTENANCE
- THE FILTERS MAY NEED TO BE CLEANED DEPENDING ON THE QUALITY OF THE FUEL USED:
- LOADING FILTER (Fig. 4):

- Remove the tank’s plug (A).
- Remove the filter (B) from the tank.
- Clean the filter (B) with clean fuel; make sure you do not damage it.
- Put the filter (B) back in the tank.
- Close the plug (A).
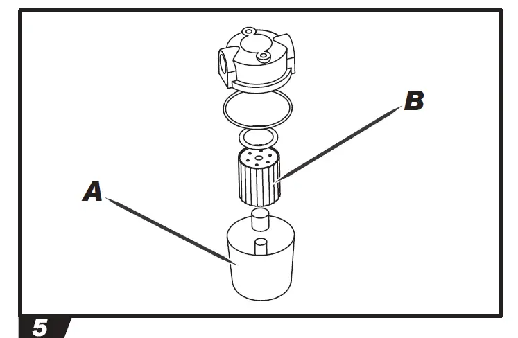
- INTAKE FILTER (Fig. 5):

- Remove the cup (A).
- Take out the filter (B) from the cup. Make sure you preserve the gaskets.
- Clean the filter (B) with clean fuel; make sure you do not damage it.
- Put the filter (B) back into the cup.
- Put the glass (A) back, and make sure you reassemble the gaskets correctly.
- TANK (Fig. 6):

- Empty the fuel from the tank by removing the discharge plug at the bottom of the tank. Dispose of the fuel appropriately and in line with current standards.
- If you notice any residue, pour clean fuel into the tank and rinse again.
- Close the drain plug and the tank plug.
- HANDLING, TRANSPORT AND
STORAGE
WARNING: BEFORE HANDLING, TRANSPORTING OR STORAGE, SWITCH OFF THE HEATER, WAIT FOR IT TO COOL COMPLETELY, DISCONNECT THE POWER SUPPLY PLUG FROM THE MAINS AND MAKE SURE THE PLUGS OF THE TANK ARE CLOSED TIGHTLY.
- HANDLING: See Fig. 7The heater can be easily handled by the wheels and handles. To handle the heater better:
- Release the handles from their closed position (pull the locking pin outwards).

- Lock the handles in a handling position.
- Move the heater by lifting the handles and making it slide on its wheels.
- Put the handles back into their closed position.
- TRANSPORT: See Fig. 8 It is possible to lift and move the heater from the specific anchoring points.

- DISPLAY ERRORS
- STORAGE: IN ORDER TO KEEP THE HEATER IN THE BEST POSSIBLE CONDITIONS, WE RECOMMEND FOLLOWING THE PROCEDURE BELOW:
- Empty the fuel from the tank by removing the discharge plug at the bottom of the tank. Dispose of the fuel appropriately and in line with current standards.
- If you notice any residue, pour clean fuel into the tank and rinse again.
- Close the drain plug and the tank plug.
- In order to keep the heater in the best conditions possible, we recommend placing it in a dry place away from potential external damage.
See B Fig. 3
| ERROR | CAUSE | SOLUTION |
| F0 | OPERATION ERROR | |
| 1. The “ON/OFF” switch is turned “ON” (|) when the heater is plugged in | 1. After disconnecting the heater, see that the the switch is in the “OFF” (0) position, plug the heater in and turn the switch “ON” (|) | |
| F1 | PHOTOCELL ERROR | |
| 1. No fuel 2. Fuel is contaminated
3. Photocell is dirty or damaged 4. Fuel filter is dirty 5. Ignition error | 1. Turn the switch “OFF” (0), refill the fuel tank 2. Turn the switch “OFF” (0) empty and refill the fuel tank. Clean the filter using clean fuel, do not damage the filter (SEE PARA. 6) 3. Contact the technical service center 4. SEE PARA. 6 5. Contact the technical service center | |
| F2 | TEMPERATURE CONTROL SENSOR ERROR | |
| 1. Interrupted cable 2. Sensor is damaged | 1. Contact the technical service center 2. Contact the technical service center | |
| F3 | THERMOSTAT ERROR | |
| 1. Internal heater overheating
2. Antitilting sensor intervention | 1. Turn the heater off, and wait until it is cooled down 2. Place the heater on a level and stable surface | |
| F4 | INCORRECT VOLTAGE | |
| 1. Incorrect voltage | 1. Check the voltage of your electric supply system | |
| FF | NO SWITCH-ON AFTER THREE ATTEMPTS | |
| 1. No fuel 2. Dirty fuel filter 3. Dirty or defective photocell 4. Dirty or defective nozzle 5. Anti-tilting sensor trip | 1. Contact the technical service center 2. Contact the technical service center 3. Contact the technical service center 4. Contact the technical service center 5. Contact the technical service center | |
| [ ] | HEATER IN STAND-BY | |
| 1. Thermostat connected
2. Switching from cable to battery power supply | 1. Thermostat temperature set below the room temperature 2. Automatic re-ignition | |
PREVENTIVE MAINTENANCE SCHEDULE
WARNING: BEFORE INITIATING ANY REPAIR OR MAINTENANCE PROCEDURE UNPLUG THE FEEDER CABLE AND MAKE SURE THAT THE HEATER IS COOLED DOWN.
IF THE HEATER IS USED IN PARTICULARLY DUSTY ENVIRONMENTS, MAINTENANCE AND CLEANING MUST BE CARRIED OUT MORE FREQUENTLY.
| COMPONENT | MAINTENANCE FREQUENCY | MAINTENANCE PROCEDURE |
| Fuel tank | Clean every 150-200 hours of operation or when necessary | Empty and rinse with fresh fuel |
| Nozzle | Clean or replace once per season or when necessary | Contact the technical service center |
| Photocell | Clean once per season or when necessary | Contact the technical service center |
| Fuel filter | Clean or replace twice per season or when necessary | Clean the fuel filter with clean fuel |
| Ignition device | Clean or replace every 1.000 hours of the operation, or when necessary | Contact the technical service center |
| Fan blades | Clean when necessary | Contact the technical service center |
PROBLEM IDENTIFICATION
| PROBLEM | POSSIBLE CAUSE | POSSIBLE SOLUTION |
| Heater doesn’t run | 1. Heater blocked 2. The power switch is in the “OFF” (0) position 3. No power
4. Feeder cable unplugged 5. Blocked control card
6. Wrong thermostat setting
7. Temperature sensor override
8. Fuse damaged | 1. Restart the heater 2. Turn the switch “ON” (|)
3A. Plug the feeder cable properly into the socket 3B. Check the power supply network 3C. Contact the technical service center 4. Contact the technical service center 5A. Restart the heater 5B. Identify the display error 5C. Contact the technical service center 6. Calibrate the thermostat by setting it higher than ambient temperature 7A. Wait at least ten minutes then try to run ignition again 7B. Contact the technical service center 8. Contact the technical service center |
| Motor/pump runs but the flame does not start | 1. No fuel
2. Ignition device is dirty 3. Fuel filter is dirty 4. Nozzle is dirty 5. Photocell is dirty, damaged or installed improperly 6. Foreign substances present in the tank 7. Electrodes are used up or placed at an improper distance | 1. Turn off the heater, refill the fuel tank then restart the heater 2. Contact the technical service center 3. Clean the filter using clean fuel 4. Contact the technical service center 5. Contact the technical service center
6. Empty and refill the fuel tank with clean fuel 7. Contact the technical service center |
| Fan blocked or spins too slowly | 1. Engine damaged | 1. Contact the technical service center |




























