FLO-DYNAMICS LPLT-100 EV Battery Pack Leak Tester

INTRODUCTION
Congratulations on the purchase of your Test-Quick LPLT-100 by Flo-Dynamics.
This EV Battery Pack Leak Tester is the most affordable and simple to use low-pressure leak tester on the market. It is the only low-pressure leak tester that is guaranteed to be 100% free of vapor or smoke leak detection dye.
Leak test EV battery packs’ contamination, using filtered and moisture-free air to ensure a correct seal after performing service. The LPLT-100 allows for a technician to connect, test, and provide an accurate leak flow rate on the flow meter. Simply switch the control knob to Decay/Off to perform pressure decay testing.
Please take time to read through this manual to familiarize yourself with the machine before performing your first EV battery pack leak test.
CUSTOMER SERVICE CONTACT INFORMATION
For product information and tech support please call: 800-303-5874 or visit: www.flodynamics.com
IMPORTANT SAFETY NOTICE
For your safety, read this manual thoroughly before operating this machine. This machine is intended for use by properly trained, skilled professional automotive technicians. The safety messages presented below and throughout this user’s manual are reminders to the operator to exercise care when using this unit. Before using this machine, always refer to and follow the safety messages and applicable service procedures provided by the manufacturer of the vehicle being serviced.
Read All Safety Instructions Read, understand, and follow all safety messages and instructions in this manual. Safety messages in this section of the manual contain a signal word with a three-part message and, in some instances, an icon.
Safety Messages
Safety messages in this section contain three different type styles:
- Normal type states the hazard.
- Bold type states how to avoid the hazard.
- Italic type states the possible consequences of not avoiding the hazard.
Safety Symbols
A safety symbol, when present, gives a graphical description of the potential hazard, and how to avoid the hazard:

IMPORTANT SAFETY INSTRUCTIONS
DANGER
Engine exhaust contains toxic gases.
- Vent vehicle’s exhaust away from work area.
- Do not breathe exhaust.
Exhaust gases will cause injury or death.
WARNING
- Do not operate in the vicinity of open containers of flammable liquids such as gasoline.
- Keep hoses and jumper cables away from heat sources and sharp edges.
- Do not operate equipment with damaged cords or hoses until they have been examined by a qualified serviceman.
Fire or explosion can cause injury. - Do not place tools on fenders or other places in engine compartment.
- Keep yourself, clothing, battery cables and service hoses clear of moving parts such as fan blades, belts, pulleys, hood and doors.
- Barriers are recommended to help identify danger zones in test area.
- Prevent personnel from walking through immediate test area.
Contact with moving parts can cause injury. - Block drive wheels before starting vehicle’s engine to begin an exchange.
- Unless instructed otherwise, set parking brake and put gear selector in park.
- Do not leave a running vehicle unattended.
- If vehicle has an automatic parking brake release, disconnect release mechanism for testing and reconnect when testing is completed.
- Do not place tools on fenders or other places in engine compartment.
- Keep yourself, clothing, battery cables and service hoses clear of moving parts such as fan blades, belts, pulleys, hood and doors.
- Barriers are recommended to help identify danger zones in test area.
- Prevent personnel from walking through immediate test area.
WARNING
Risk of fire or explosion. Gases produced by a battery are highly explosive.
- Wear safety goggles and protective clothing, user and bystander.
- Do not smoke, place metal tools on battery or allow a spark or flame in vicinity of battery.
Battery explosion can cause injury. - Wear gloves when handling hot engine components.
- Do not remove radiator cap unless engine is cold.
- Pressurized engine coolant may be hot.
- Do not touch hot exhaust systems, manifolds, engines, radiators, etc.
Hot fluid and engine parts may cause injury. - Wear safety goggles and protective gloves, user and bystander.
- Have plenty of fresh water and soap nearby. If battery acid contacts skin, clothing, or eyes, flush exposed area with soap and water for 10 minutes.
- Do not touch eyes while working near battery.
Battery acid can burn eyes and skin.
CAUTION Risk of injury.
- This equipment should be operated by qualified personnel only.
- Use this equipment only as described in this manual.
- Always disconnect the machine from air source when not in use.
- Loop the pressure hose loosely in its proper location when machine is not in use.
- Do not operate equipment with a damaged hose, or if the equipment has been dropped or damaged, until it has been examined by a qualified service representative.
- Care should be taken to arrange the service hoses so that they will not be tripped over or pulled.
- Never pull on the service hoses to transport the machine. Damage may occur to these components, or machine may tip over.
- Keep area of operation clear of unnecessary tools and equipment. Utilize recessed tool storage areas on the top of the machine.
- Never leave the machine running unattended.
- This machine is not designed for any other purpose than the servicing of automotive cooling systems.
Operation of this machine by anyone other than qualified personnel may result in injury.
CAUTION
Misdiagnosis may lead to incorrect or improper repair and/or adjustment.
Do not rely on erratic, questionable, or obviously erroneous test information or results. If test information or results are erratic, questionable, or obviously erroneous, make sure that all connections and data entry information are correct and that the test procedure was performed correctly. If test information or results are still suspicious, do not use them for diagnosis.
Improper repair and/or adjustment may cause vehicle or equipment damage or unsafe operation.
IMPORTANT Risk of equipment damage.
- Servicing, transporting, or storing this machine in an attitude other than the normal operating position can result in fluid spillage and/or component damage.
- Never pull on the service hoses to transport the unit. Damage may occur to these components, or machine may tip over. Always use the handle to move.
- Periodically clean the machine by wiping down with a clean, soft, dry cloth.
Improper operation of equipment may result in damage to machine or components.
SPECIFICATIONS
Dimensions: 10.75” H x 7” W x 10” D
Weight: 9.5 lbs.
Power: 75-175 psi shop air
FEATURES
- Uses shop air only (75 -175 psi)
- Supply pressure 14” WC +/- 1”
- Tests with only 100% filtered and moisture free air
- Engineered with Ford Engineering to comply with EV Battery Pack testing procedures
- Flow meter and Gauge provides two testing modes – leak flow rate or pressure decay
- Test supply line 120”, 3,048 mm
- Hand-held and lightweight
- Limited one year warranty
- Ford Approved
MACHINE OVERVIEW

OPERATING INSTRUCTIONS
- Connect Tester to shop air (between 75-175 psi).
- Turn control knob to TEST.
- Connect pressure supply hose to system being tested.
- Once flow meter ball stops descending, leak size will be indicated.
- For pressure decay, turn control knob to DECAY/OFF and view gauge.
Note, moisture will occasionally be present from the moisture separator’s drain located on the bottom of the tester. This is a normal function.
MAINTENANCE
To keep your machine working properly:
• Ensure only non-contaminated clean dry compressed air is used.
• Avoid spilling fluid on the unit.
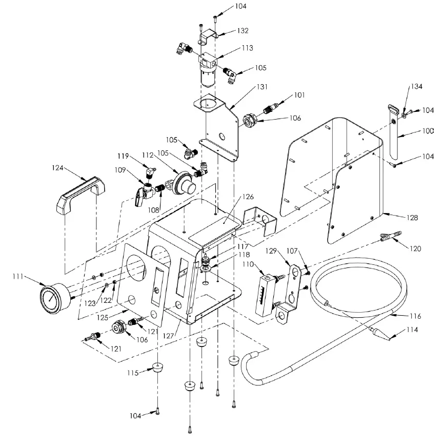
REPLACEMENT PARTS

| ITEM NO. | PART NO. | DESCRIPTION | QTY. |
| 100 | 40201527 | CABLE TIE LPLT-100 | 1 |
| 101 | 941335 | AIR NIPPLE 1/4NPT H2C | 1 |
| 102 | 941512 | HOSE-TYGON YELLOW PER FOOT | 0.25 |
| 103 | 941532 | TYGON-1,4ID YELLOW PER FOOT | 1.25 |
| 104 | 10500036 | SCREW, #8-32 x 5/8 20IP TAPTOTE BLK PHOS | 25 |
| 105 | 40200338 | 5/16 TUBE X 1/4 NPT ELBOW W169PLPE-5-4 | 4 |
| 106 | 40200339 | 1/4 BRASS BULKHEAD FTTG | 2 |
| 107 | 40200541 | SCREW -10-32 X 3/8 FLAT HD PHIL MACH | 2 |
| 108 | 40200594 | 1/4 X 7/8 NIPPLE – G TEC | 1 |
| 109 | 40201467 | 2 WAY BRASS VALVE – LPLT-100 | 1 |
| 110 | 40201468 | FLOWMETER – LPLT-100 | 1 |
| 111 | 40201469 | PRESSURE GAUGE – LPLT-100 | 1 |
| 112 | 40201470 | REGULATOR – LPLT-100 | 1 |
| 113 | 40201471 | FILTER – LPLT-100 | 1 |
| 114 | 40201483 | SUPPLY NOZZLE – LPLT100 | 1 |
| 115 | 40201486 | RUBBER FOOT – LPLT100 | 4 |
| 116 | 40201500 | HOSE-LEAK TEST SERVICE | 6 |
| 117 | 40201508 | FITTING – 5/32″ TUBE ID BARB x 1/4 NPSM MALE – PLASTIC | 1 |
| 118 | 40201509 | WASHER – 9/16″ SCREW SIZE, NAS1515-H9H – NYLON | 1 |
| 119 | 40201513 | FITTING – ELBOW 1/4″ HOSE BARB X 1/4 NPT MALE | 1 |
| 120 | 40201514 | FITTING – TEE 1/4″ X 1/4″ X 1/4″ HOSE BARB PLASTIC | 1 |
| 121 | 40201515 | FITTING – 1/4″ ID BARB X 1/4″ NPT MALE | 2 |
| 122 | 40201516 | HEX NUT – M5-0.8 GR 8 | 2 |
| 123 | 40201517 | WASHER – FLAT M5 X 10MM OD | 2 |
| 124 | 40201518 | HANDLE – LPLT100 | 1 |
| 125 | 40201519 | OVERLAY – CONTROL PANEL LPLT100 | 1 |
| 126 | 40201520 | OVERLAY – INSTRUCTION LABEL LPLT100 | 1 |
| 127 | 40300467 | GAGE FACE FOR LPLT-100 | 1 |
| 128 | 40300468 | OUTER CABINET FOR LPLT-100 | 1 |
| 129 | 40300469 | FLOW METER BRACKET FOR LPLT-100 | 1 |
| 130 | 40300470 | AIR PRESSURE GAUGE BRACKET FOR LPLT-100 | 1 |
| 131 | 40300471 | DRYER BRACKER FOR LPLT-100 | 1 |
| 132 | 40300472 | DRYER BRACKET CLAMP FOR LPLT-100 | 1 |
| 133 | R940557 | TUBE 5/16 POLY PER FOOT | 0.67 |
| 134 | R940528 | WASHER – NO 10 FLAT STEEL | 1 |
LIMITED ONE (1) YEAR WARRANTY
Flo-Dynamics warrants only to the original Purchaser that under normal use, care and service, the Equipment (except as otherwise provided herein) shall be free from defects in material and workmanship for one year from the date of original invoice. External hoses, remote control modules, adapters, and all other attachments, supplies and consumables (except as otherwise provided herein) are warranted for 90 calendar days from the date of original invoice. Filter elements are not warranted. Printed circuit boards purchased from, but not installed by Seller are not warranted.
SELLER’S OBLIGATIONS UNDER THIS WARRANTY ARE LIMITED SOLELY TO THE REPAIR OR, AT SELLER’S OPTION, REPLACEMENT OF EQUIPMENT OR PARTS WHICH TO SELLER’S SATISFACTION ARE DETERMINED TO BE DEFECTIVE AND WHICH ARE NECESSARY, IN SELLER’S JUDGEMENT, TO RETURN THE EQUIPMENT TO GOOD OPERATING CONDITION. NO OTHER WARRANTIES EXPRESS OR IMPLIED OR STATUTORY, INCLUDING WITHOUT LIMITATION ANY IMPLIED WARRANTY OF MERCHANTABILITY OR FITNESS FOR A PARTICULAR PURPOSE, SHALL APPLY AND ALL SUCH WARRANTIES ARE HEREBY EXPRESSLY DISCLAIMED.
This warranty does not cover (and separate charges for parts, labor and related expenses shall apply to) any damage to, malfunctioning, inoperability or improper operation of the Equipment caused by, resulting from or attributable to (A) abuse, misuse or tampering; (B) alteration, modification or adjustment of the Equipment by anyone other than Seller’s authorized representatives; (D) improper or negligent use, application, operation, care, cleaning, storage or handling; (E) fire, water, wind, lightning or other natural causes; (F) adverse environmental conditions, including, without limitation, excessive heat, moisture, corrosive elements, or dust or other air contaminants, radio frequency interference, electric power failure, power line voltages beyond those specified for the equipment, unusual physical, electrical or electromagnetic stress, and/or any other condition outside of Seller’s environmental specifications; (G) use of the Equipment in combination or connection with other equipment, attachments, supplies or consumables not manufactured or supplied by Seller; or (H) failure to comply with any applicable federal, state or local regulation.
Repairs or replacements qualifying under this Warranty will be performed on regular business days during Seller’s normal working hours within a reasonable time following Purchaser’s request. All requests for Warranty service must be made during the stated Warranty period. This warranty is non-transferable.
Flo-Dynamics, Inc. • 3300 Reedy Drive • Elkhart, IN 46514 • 800-303-5874 • flodynamics.com



















