EPSON LABELWORKS PX LW-PX400 Installation Guide
Read this document carefully to use this product safely and correctly.
If your product is faulty, please read the included warranty card and contact the store you purchased it from. If you require further assistance, contact the Epson Label works PX customer support center.
Please also visit us at labelworks.epson.com for help and support. You can download the latest version of this Installation Manual from the website. Bluetooth® and the Bluetooth logo are the trademarks of Bluetooth SIG, Inc.
IOS is a trademark or registered trademark of Cisco in the U.S. and other countries and is used under license.
Android™ and Google Play are trademarks of Google LLC.
Mac, macOS and App Store are trademarks of Apple Inc., registered in the U.S. and other countries.
International ENERGY STAR® Compliance Statement
The purpose of the International ENERGY STAR® Program is to promote the development and popularization of energy-efficient office equipment. As an ENERGY STAR® Partner; Seiko Epson Corporation has determined that this product meets the ENERGY STAR® guidelines for energy efficiency.
Checking Package Contents
Before using the printer, check that you have all the items below. Contact your place of purchase if anything is missing or damaged.
- LW-PX400 (With Rubber Guard attached)

- Tape cartridge

- USB cable

- AC adapter (AST1116Z2-1)

- Documents

Introduction to Software
Download the Epson software necessary to create labels on your computer or mobile device, and to print them from the printer.
Mobile Device
Install any one of the following applications.
- Epson iLabel
- Epson Datacom
You can access the Fluke Networks LinkWare™ Live cloud software service from Epson Datacom and print the information of the acquired project data.
Available on the App Store or Google Play. Search the software by its name, then install it.
For iOS smart device: App Store
For Android smart device: Google Play
Computer
The following pieces of software are necessary to use the printer from your computer.
Windows
- Label editing software “Label Editor” Download from the website shown below. Using “setup.exe” to install the software and printer driver. U labelworks.epson.com/downloads/
- Label Editor Online manual (as needed) Describes how to use the Label Editor software. You can find this manual in the Label Editor software. Click “Help” on the tool bar.
macOS
- Label editing software “Label Editor Lite”
Available on the App Store. Search the software by its name, then install it. - Printer driver
Download from the website shown below. You can also get the Label Editor Lite User’s Guide using “LabelWorksDriver_1.38.dmg”.
U labelworks.epson.com/downloads/ - Label Editor Lite User’s Guide (as needed)
Describes the installation procedures and how to use the Label Editor Lite software.
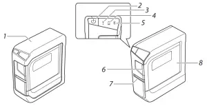
Names and Functions of Parts
Front
Rear
| 1. Rubber guard | Protects the printer. |
| 2. | Turns the printer power ON/OFF. |
| 3. | Indicates the printer’s error status. |
| 4. | Indicates the printer battery’s remaining charge (approximate). |
| 5. | Indicates the printer’s status. |
| 6. Printer cover tab | Pull this tab to open the printer cover. |
| 7. Tape outlet | Printed labels come out here. |
| 8. Printer cover | Can be opened to insert a tape cartridge, or for print head cleaning. |
| 9. Bluetooth button | Press this button and the |
| 10. Power jack | Connects the included AC adapter. |
| 11. USB port | Connects the included USB cable. |
| 12. Battery cover | Opened when inserting or replacing batteries. |
| 13. Security hole | Lets you secure the printer to a desk or post with a commercial security cable lock or similar device. |
Safety Instructions
For your safety, read the attached documents carefully to use this product correctly. After you have read all instructions, keep this manual handy for future reference and to make your concerns clear.
Items below indicate safety precautions to protect users, their surroundings and their property from possible injury or damage.
Precautionary notations are categorized as follows according to personal injury and damage to the equipment if the instructions are ignored or the equipment is misused.
DANGER
This symbol indicates information that , if ignored, could possibly result in serious or fatal personal injury. Take extra caution in performing procedures with Danger headings.
WARNING
This symbol indicates information that, if ignored, could possibly result in serious personal injury or even death due to incorrect handling.
CAUTION
This symbol indicates information that, if ignored, could possibly result in serious personal injury, physical damage, or damage to equipment due to incorrect handling.
This indicates an important reminder
This indicates a prohibited item.
This indicates a mandatory procedure.
DANGER
When handling batteries
| If liquid leaking from an alkaline battery gets into your eyes, do not rub your eyes but immediately wash them well with clean water and contact a doctor. Otherwise, it may cause blindness. |
WARNING
When using the AC adapter and power cable
| The cords included with this product contain chemicals, including lead, known to the State of California to cause birth defects or other reproductive harm. Wash hands after handling. (This notice is provided in accordance with Proposition 65 in Cal. Health & Safety Code §25249.5 and following.) | |
| Do not use any AC adapter or power cable other than the dedicated AC adapter and power cable. Do not use the AC adapter with other than the specified voltage also. Otherwise, damage, overheating, fire or electric shock may occur. | |
Take the following precautions when handling the AC adapter and power cable.
| |
| Do not use any damaged AC adapter or power cable. Otherwise, damage, overheating or smoking may occur, which may result in fire or electric shock. | |
| Do not touch the plug during thunderstorms. |
When handling batteries
| Keep batteries out of reach of children. They are extremely dangerous if swallowed. |
When using this product
| Do not apply any strong force or shocks to the product such as standing on, dropping or hitting it. Otherwise, the product may be broken, which may result in fire or electric shock. If it is damaged, turn off the power immediately, unplug the AC adapter and remove the batteries, and then contact the Epson Labelworks PX customer support center. Continuous use may result in fire or electric shock. | |
| Take care not to spill any beverage such as tea, coffee or juice onto the product, or to spray aerosol insecticide. It may cause malfunction, fire, or electric shock. If any liquid has been spilled on the product, turn off the power, unplug the AC adapter and remove the batteries immediately, and then contact the Epson Labelworks PX customer support center. Continuous use may result in fire or electric shock. | |
| Do not touch the print head because it becomes very hot. Otherwise, there is a risk of burns. |
| Do not open any covers other than the printer cover and the battery cover. Doing so may result in fire or electric shock. Always use the product as instructed in this manual. Otherwise, damage or injury may occur. | |
| Never modify or disassemble this product. Doing so may cause fire or electric shock. Do not carry out any operations not described in this manual, or the product may break or cause injury. | |
If any of the following abnormalities is observed, turn off the power immediately, unplug the AC adapter and remove the batteries, and then contact the Epson Labelworks PX customer support center.
| |
| Do not touch the tape eject slot, during printing or when the auto cutter is in operation. Otherwise there is a risk of injury. | |
| May exert electromagnetic interference on, and cause malfunction of, cardiac pacemakers. Before using this product, check that there is no one in the vicinity using a cardiac pacemaker. | |
| May exert electromagnetic interference on, and cause malfunction of, sensitive medical equipment. Before using this product, check that there is no sensitive medical equipment in the vicinity. | |
| Use of this product on aircraft may be restricted in some countries. Before using this product, check that use of this product is not restricted on the aircraft. |
When handling the auto cutter
| Do not touch the tape outlet slot (where the labels come out) during printing or when the auto cutter is in operation. Otherwise, there is a risk of injury. |
Others
Do not use or store the product, batteries, AC adapter, power cable, or tape cartridges in the following places.
| |
| Keep the plastic bags used to contain the product or this manual out of reach of children. Children may suffocate if they swallow them or put their heads into the bags. |
CAUTION
When handling batteries
| If liquid leaks from a battery, wipe it off with a cloth and replace it with a new one. If the liquid comes in contact with your skin, wash it away with water immediately. | |
If the batteries are used incorrectly, they may cause leakage, overheating, explosion, erosion, or damage to the product, which may result in fire or injury.
| |
| When disposing of used batteries, make sure to follow the regulations. |
When using the AC adapter and power cable
| Do not unplug the AC adapter while the product is in operation, otherwise printing may not be successful. | |
| Do not use the AC adapter in a small, confined space, or cover it with a cloth. Otherwise, the AC adapter may overheat and deteriorate. |
When using this product
| Do not stand or put anything heavy on the product or place it on an unstable place such as on a shaky table or on an incline. Otherwise, the product may fall and cause injury. |
| To ensure safety, unplug this product before leaving it unused. | |
| Before cleaning, make sure to unplug the AC adapter from the outlet, and remove the batteries. | |
| Do not use a moistened cloth or solvents such as alcohol, thinner or benzine. | |
| Do not block or insert objects into the included AC adapter socket or the tape eject slot. | |
| To comply with RF exposure compliance requirements, a distance of at least 22 cm must be maintained at all times between the antenna of this product and people in the vicinity. |
Others
Be careful of continuous use of which may cause eye fatigue.
When handling tape cartridges
- Make sure to use a dedicated
PX Tape. - Some types of tape cannot be cut by the cutter. For the details, refer to the tape’s manual.
- Do not drop it or disassemble it. Doing so may cause damage.
- Do not pull out the tape forcibly by hand. But make sure to feed the tape. Otherwise, the tape cartridge may be broken and unusable.
- Avoid using a tape cartridge without remaining tape. Doing so may cause overheating of the printhead, which may result in damage or malfunction.
MEMO
Tape cartridges contain ink ribbons in them. When disposing of tape cartridges, make sure to follow the local regulations for disposal.
Frequency Precautions
The frequency band for this product is 2.4 GHz. This frequency range is the same frequency bandwidth as industrial, scientific, and medical devices such as microwave ovens and mobile unit identification (RF-ID) systems (licensed premises radio stations and unlicensed specified low-power radio stations) used in factory production lines. Before using this product, check that there are no radio stations for mobile unit identification or specified low-power radio station premises nearby. In the event that this product should interfere electromagnetically with the premises of a radio station used for mobile unit recognition, cease use immediately and stop generating the electromagnetic field. Contact the Epson Labelworks PX customer support center if this product interferes electromagnetically with a special low-power radio station used for mobile unit identification or causes similar problems.
International Travel Precautions
Wireless devices are designed to conform to the channel and frequency limits of the country they are intended to be used in. This product is based on the specifications of the country of sale. If this product is used outside the country of sale, check with the Epson Labelworks PX customer support center for more information.
Other cautions
- Take care not to cut your fingers when cutting the label with scissors.
- Do not attach a label on human bodies, living things, public facilities or other people’s belongings.
- Be sure to turn the power off after use.
Specifications
| Printer | |
| Dimensions | Approx. 60 (W) x 137.4 (D) x 151 (H) (mm) (including rubber guard) |
| Weight | Approx. 590 g (excluding batteries and tape cartridge but including rubber guard) |
| Supported tape width | 4 mm, 6 mm, 9 mm, 12 mm, 18 mm, 24 mm |
| Interface | USB 1.1 Full-speed, Bluetooth |
| Temperature | |
| Operating | 5 to 35 degrees C |
| Storage | -10 to 55 degrees C |
| Bluetooth Communication | |
| Method | Bluetooth® 2.1 |
| Output | Bluetooth® Power Class 2 |
| Max. distance | About 10 m* |
| Frequency band | 2.4 GHz band (2.4000 to 2.4835 GHz) |
| Profile | SPP |
*The communication distance may vary depending on the operating environment.
Software System Requirements
| Software | Label Editor | Label Editor Lite | Epson app1 |
| OS | Windows | macOS | iOS, Android |
| Hard drive space | About 300 MB | – | |
| Display | 1,024 × 768 (XGA) or higher resolution | – | |
| Interface |
| USB 1.1 Full-speed | Bluetooth |
*1: Epson apps for mobile devices such as Epson iLabel.
*2: Bluetooth communication is available with an Windows 8 or later computer
Power Supply
| AC adapter | Type | AST1116Z2-1 |
| Manufacturer | Seiko Epson Corp. | |
| Input | AC100-240V, 0.4A, 50-60Hz (dedicated adapter, power cable only) | |
| Output | DC11V, 1.64A | |
| Total output power | 18.04 W | |
| Battery | AA alkaline battery x 6 | |
For the latest information about the application software and the compatible operating systems, visit the Epson Labelworks PX website.
labelworks.epson.com
Cleaning
CAUTION
Always turn the printer OFF before cleaning.
Always use dedicated tape cartridge having the
symbol.
Always perform the tape feed operation after inserting a tape cartridge
Printer
Wipe the printer with a soft, dry cloth.
Never use solvents or chemicals such as benzine, paint thinner or alcohol. Never use a chemical cloth.
Print head
If streaks or smears appear on printouts, use a cotton swab or similar materials to wipe dirt off the print head.
- Pull the tab to open the printer cover.
- Clean the print head.

- Close the printer cover.
Replacing the tape cartridge
- Pull the tab to open the printer cover.
- Hold the tape cartridge by the tabs, and lift it straight up.

- Place a new tape cartridge in the printer.
- Close the printer cover.
Printer Setup
Prepare the power supply
You can use the printer by one of the two methods below.
Using batteries
CAUTION
Always use AA-size alkaline dry cell batteries.
- Remove the rubber guard.
- Open the battery cover at the bottom of the printer.

- Insert batteries.
Batteries: AA alkaline battery x 6
- Close the battery cover.
- Attach the rubber guard.
Using the AC adapter
CAUTION
Always use the included AC adapter.
- Connect the included AC adapter (AST1116Z2-1) to the printer, and plug the power plug into a power outlet.

Inserting the tape cartridge in the printer
CAUTION
Always use dedicated tape cartridge having the
symbol.
Always perform the tape feed operation after inserting a tape cartridge
- Remove any slack in the tape inside the tape cartridge.

- Pull the tab to open the printer cover

- Place a tape cartridge in the printer as shown.
Pass the end of the tape through the gap.
- Close the printer cover

Connecting a Mobile Device
Install dedicated application
Install any one of the following applications.
- Epson iLabel
- Epson Datacom
Available on the App Store or Google Play. Search the software by its name, then install it.
For iOS smart device: App Store
For Android smart device: Google Play
Bluetooth connection setup (pairing)
CAUTION
Place your mobile device no more than one meter away from the printer when making the settings
- Turn on the printer.
Check that Bluetooth is enabled on the printer. The
lamp fading in and out when Bluetooth is enabled on the printer.
- Turn the mobile device power ON.
- Turn on Bluetooth on your mobile device. From “Settings”, turn the “Bluetooth” selection ON and tap “LW-PX400”.
It may take some time for the printer to be displayed.
MEMO
If Bluetooth is disabled on the printer, enable Bluetooth following the steps described below.
- Press the
button to turn the printer power OFF. - Press the
button and the Bluetooth button at the same time.

You can switch alternately between enable and disable by repeating the operations of steps 1 and 2.
Connect to a printer from the application
Below is a description of the procedures for connecting to a printer using the Epson iLabel application
- Start up the application, tap (Printer Setting) on the tool bar.
- Tap “Printer” and display the
list of the applicable printers. - Select “LW-PX400”.
The setup procedure is now completed.
Connecting to a Computer
Download Label editing software and Printer Driver (for a Windows computer)
Label editing software “Label Editor”
Download from the website shown below. Using “setup.exe” to install the software and printer driver.
labelworks.epson.com/downloads/
Install Label Editor in the computer (for a Windows computer)
CAUTION
Do not plug the printer into the computer until the install wizard advises you to do so.

MEMO
See the Label Editor Install Manual for more detailed instructions. Download from this website. U labelworks.epson.com/downloads/
- Double-click the “SetUp.exe” file.
An install program starts up. 
- The “License Agreement” screen appears. Read the information, then click [Agree].
- When the destination selection dialogue box appears, confirm the destination folder, and click [Next].

- When the completion message appears, the installation is complete. Click [Finish].
Proceed to install the printer driver. Go to next procedure.
For a macOS computer
The procedure given here is for Windows computers. For instructions for macOS computers, see the information below and the Label Editor Lite User’s Guide.
- Download Label editing software and Printer Driver Label editing software “Label Editor Lite” Available on the App Store. Search the software by its name, then install it.
Printer driver
Download from the website shown below. labelworks.epson.com/downloads/
CAUTION
- USB connection is supported for macOS computers.
- Do not connect the printer to your computer until the installation of the printer driver is complete. After the printer driver installation is complete, turn on the printer and connect the printer and the computer with a USB cable. Confirm that the printer is available in “System Preferences” – “Printers & Scanners”.
(computer Windows a for (driver printer the I
Install the printer driver ( for a Window computer)
- When the printer driver installation screen appears, select “LW-PX400” and click [Next].
CAUTION
It may take some time for the screen to be displayed It may open behind another window.
If the screen does not auto start, restart the “SetUp.exe” file. Select “Modify” then “Install driver only”. - Select the connection method on the screen shown below and click [Next].

USB
Connect the printer and the computer with a USB cable following the instructions.
MEMO
If the USB cable is connected to the printer and computer before this screen is displayed, the installation will not be performed correctly. With this screen displayed, disconnect the USB cable and reconnect it.
Bluetooth- Turn on the printer
Check that Bluetooth is enabled on the printer.
The lamp
fading in and out when Bluetooth is enabled on the printer
If Bluetooth is disabled on the printer, enable Bluetooth following the steps described below.
Press the
button to turn the printer power OFF.
Press the
button and the Bluetooth button at the same time. - Turn on the Bluetooth feature of your computer.

- Select the checkbox as shown below and click [Next

- Select the printer as shown below and click [Next].

It may take some time for the printer to be displayed.
MEMO
For information on how to turn on the Bluetooth feature of the computer, consult the documentation for the computer.
- Turn on the printer
- When the completion message appears, click [Finish].
The setup procedure is now completed.
Troubleshooting
Meanings of lamps
The lamps indicate printer statuses.
| Lamp’s condition *: Depends on printer operation status | ||
| — | * | Fading in and out |
| * | * | Lit |
| — | * | Flashing quickly |
| — | * | Flashing (once every 5 seconds) |
| — | — | — |
| * | Lit | * |
| * | Flashing quickly | * |
| Flashing quickly | * | * |
Problems not indicated by lamps
Printer power does not turn ON.
- Check that the power cable is connected properly, or that batteries have been properly inserted. If the power still does not turn ON, contact your place of purchase or the Epson Labelworks PX Customer Support Center.
- If a message is displayed on your computer or mobile device screen, check the message information.
Unable to perform Bluetooth connection (pairing) with the printer
- Check to see if the printer’s
lamp is fading in and out. If not, enable Bluetooth on the printer and then try performing the operation. - Check that the printer is communicating with another mobile device. If the printer is already communicating with one mobile device, it is unable to communicate with another mobile device.
- If a message is displayed on your mobile device screen, check the message information.
Connection was interrupted during connection (pairing) with the printer
- Check to see if the printer’s
lamp is fading in and out. If not, enable Bluetooth on the printer and then try performing the operation. - If the printer is connected to a computer with a USB cable while the printer is communicating with a mobile device, the communication with the mobile device is terminated Terminate the printer’s connection to the computer, then redo the pairing setting.
- If a message is displayed on your computer or mobile device screen, check the message information.
Printer does not print when print operation is directed.
- If a message is displayed on your computer or mobile device screen, check the message information.
- Check that connection cables are connected properly, that the tape cartridge is mounted properly, and that the cover is closed properly.
- Have you selected the printer to be used? Printing will not be done properly if another printer is selected.
- Did you restart the computer after installing the printer driver? The printer driver may not be installed correctly if the computer was not restarted. Reinstall the printer driver.
Text is not printed properly.
Check that the tape cartridge is properly mounted.
Lines appear on printed labels.
The print head is dirty. Clean the print head. See “Cleaning”.
Canceling a print job
Check the printer’s power in ON, then press
button on the front of the printer briefly once.
Labels are not cut automatically
Is the cutter blade worn? Prolonged use of the cutter can wear down and dull the blade. Contact the Epson Labelworks PX Customer Support Center.
When Finished Using Printer
When connected via Bluetooth
- Press
the button to turn the printer power OFF. - Turn off Bluetooth on your device.
- When using the AC adapter, unplug the power cable from the outlet and disconnect the AC adapter plug from the printer.
When connected via USB cable
- Press
the button to turn the printer power OFF. - Disconnect the USB cable.
- When using the AC adapter, unplug the power cable from the outlet and disconnect the AC adapter plug from the printer.
Auto power Off
The printer turns off automatically if it is not used within these time periods:
- 8 hours on AC power
- 20 minutes on battery power
Customer Support
Epson Labelworks PX Support
800-622-6312 ext:210
[email protected]























