
Refrigerator – Freezer
Operation manual
SJ-X380GP, SJ-X380T
SJ-X410GP, SJ-X410T

Thank you very much for buying this SHARP product. Before using your SHARP refrigerator, please read this operation manual to ensure that you gain the maximum benefi t from it.
- This refrigerator is intended for making ice cubes, refrigerating and freezing food.
- This refrigerator is for household use only, with ambient temperature indicated in the table. The climate class is specifi ed on the rating plate.
If the refrigerator operates out of range (ambient temperature range) of the climate class which is rated for that model, it may not be able to maintain satisfactory internal temperatures. If the refrigerator is used at colder temperatures, the refrigerator will not be damaged up to a temperature of +5°C. - The refrigerator should not be subjected to temperatures of -10°C or below for a long period of time.
Household use only
| Climate class | The acceptable range of ambient temperature |
| SN | +10°C to 32°C |
| N | +16°C to 32°C |
| ST | +16°C to 38°C |
| T | +16°C to 43°C |
Safety information
WARNING This means that there are high risks of death or serious injury.
CAUTION This means that there are high risks of material damage or personal injury.
WARNING
Refrigerant
This refrigerator contains flammable refrigerant (R600a: isobutane) and insulation blowing gas (cyclopentane).
Observe the following rules to prevent ignition and explosion.
- Do not allow any pointed objects to have contact with the refrigeration system. The refrigeration system behind and inside the refrigerator contains refrigerant.
- Do not use mechanical devices or other means to accelerate the defrosting process. (This refrigerator has adopted an automatic defrosting system.)
- Do not use electrical appliances inside the refrigerator.
- Do not block the space around the refrigerator.
- Do not use flammable sprays, such as spray paint near the refrigerator.
- Do not store flammable sprays, such as spray paint in the refrigerator.
- In the case of failure of the refrigeration system, do not touch the wall socket and use open fl names.
Open the window and let out the air from the room.
Then ask a service agent approved by SHARP for service.
Installation
- Do not install the refrigerator in a damp or wet location. It may cause damage to the insulation or electrical leak. Dew may also appear on the outer cabinet and it causes rust.
- The refrigerator should be installed flatly and firmly on the fl oor.
Power cord, Plug, Socket
Read carefully the following rules to prevent electric shock or fi re.
- Connect the power plug into the wall socket firmly and directly. Do not use an extension cord or adapter plug.
- Connect the power plug to the socket with the required rated voltage.
- Connect the earth pin to the earth terminal properly.
- Make sure to protect the power cord from being damaged during installation or moving. If the power plug or cord is loose, do not insert the power plug.
- Do not touch the power plug with wet hands.
- Disconnect from the main electricity supply by removing the main plug from the socket.
Do not remove by pulling the power cord. - Dust deposited on the power plug may cause fire. Wipe it off carefully.
- Pull out the plug if the refrigerator is not used for a long time.
- If the flexible supply cord is damaged, it must be replaced by a service agent approved by SHARP because special cord is required.
In use
- Do not store volatile and flammable materials such as ether, petrol, propane gas, aerosol cans, adhesive agents and pure alcohol etc. These materials are easy to explode.
- Do not store temperature-sensitive products such as pharmaceutical products in the refrigerator.
There are high risks of changes in product quality. - Do not attempt to change or modify this refrigerator.
This may result in fi re, electric shock or injury. - Do not place any object on the top of refrigerator.
If the object falls down from the top, it may cause injury. - Do not hit the glass doors hard. Otherwise, they may break and cause physical injury.
<Only for SJ-X380GP, SJ-X410GP> - This appliance can be used by children aged 8 years or above and persons with reduced physical, sensory or mental capabilities or lack of experience and knowledge if they have been given supervision or instruction concerning use of the appliance in a safe way or understanding the hazards involved. Children shall not play with the appliance. Cleaning and user
maintenance shall not be done by children without supervision.
Care and Cleaning
- Unplug the refrigerator fi rst to prevent electric shock.
- Do not splash water directly on the outer cabinet or the interior. This may lead to rusting and deterioration of the electrical insulation.
Trouble
- If you smell something burning, pull out the power plug immediately. Then ask a service agent approved by SHARP for service.
- In case of gas leak, ventilate the area by opening the window. Do not touch the refrigerator or the power socket.
Disposal
- Ensure that the refrigerator presents no danger to children while being stored until disposal. (e.g. remove the door to prevent child entrapment.)
- This refrigerator should be disposed of appropriately. Take the refrigerator to a professional recycling plant for flammable refrigerant and insulation blowing gases.
CAUTION
Transportation
- When you install or move your refrigerator, use a curing mat to protect the floor from being damaged.
- Carry the refrigerator by holding the handles located on the rear and the feet of the bottom. If you lift up the refrigerator improperly, it may cause injury.

In use
- Do not touch the compressor unit or its peripheral parts, as they become extremely hot during operation and the metal edges may cause injury.
- Do not touch foods or metal containers in the freezer compartment with wet hands. This may cause frostbite.
- Do not place bottled drinks and cans in the freezer compartment.
Especially “Express cool” is in operation, there is a high risk that glass bottles may burst. - Do not use other than potable water to make ice cubes.
- Do not open or close the door when somebody put a hand near the door. There is a risk that the other people may catch their fi ngers in the door.
- Do not put an oversized object in the pockets of the door. If the object falls down from the pockets, it may cause injury.
- Make sure to handle the glass shelves with care to install or uninstall. If you drop the glass shelves, it may break or cause injury.
Installation
- Keep adequate ventilation space around the refrigerator.
• The picture shows the minimum required space for installing the refrigerator. The measurement condition of energy consumption is conducted under a different space dimension.
• By keeping greater space, the refrigerator may consume less amount of power consumption.
• If use the refrigerator in a smaller space dimension than pictured below, it may cause a temperature rise in the unit, loud noise, and failure.
• The space between the rear of the refrigerator and the wall should be 50mm or more, and less than 75mm. If the space is wider than 75mm, you may get injured by touching the compressor and its peripheral parts which are extremely hot during the operation.
- Use the two front adjustable feet to place the refrigerator flatly and firmly on the floor.

- Remove the 2 screws of the lower part of the cabinet and use these screws to set the foot cover. (The foot cover is packed inside the refrigerator compartment.)

- Connect the appliance via a correctly installed socket.
Note
- Place your refrigerator to access the plug.
- Keep your refrigerator out of direct sunlight and do not place next to the heat-generating appliances.
- Do not place your refrigerator directly on the ground. Insert suitable stand such as wooden board under the refrigerator.
- When you insert the power plug with the door opened, the door alarm sounds but it is normal. This sound stops after closing the door.
Casters are located on the bottom of the refrigerator
- The casters allow the refrigerator to move back and forth.
Casters
SJ-X380GP, SJ-X380T : 2pcs.
SJ-X410GP, SJ-X410T : 4pcs.
Before using your refrigerator
- Clean the inside parts with a cloth soaked in warm water.
- If you use soapy water to clean, wipe it off thoroughly with water.
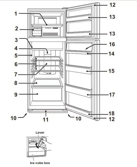
Description

- Freezer shelf
- Movable ice maker
It is highly recommended to use this ice maker as shown in the above picture.
You can put the ice maker anywhere in the freezer compartment.
1) Do not overfi ll the tray with water. Otherwise, the ice cubes will join together when frozen.
2) When ice cubes are made, turn the lever clockwise to put the ice into the ice cube box.
Note
• Make sure to place the ice maker flatly not to spill out the water from the ice tray.
• To prevent the ice cube box from being damaged, do not pour oil into it or make ice in it. - Fresh case & door
- Refrigerator light
- Control panel
- Refrigerator shelves(2 pcs)
- Hybrid cooling panel
The panel cools the refrigerator compartment indirectly from the rear. In this way, food is cooled gently without being exposed to cold air flow. - Fruit and vegetable shelf
- Fruit and vegetable crisper
- Adjustable foot (2 pcs)
- Foot cover
- Magnetic door seal (2 pcs)
- Freezer door pocket (2 pcs)
- Egg pocket
SJ-X410GP, SJ-X410T : 1 pc
SJ-X380GP, SJ-X380T : 2 pcs
SJ-X380GP, SJ-X380T
- Refrigerator pocket (Upper)
(Only for SJ-X410GP, SJ-X410T) - Egg holder
- Bottle pocket
- Refrigerator pocket (Bottom)
If you wish to store large items within your refrigerator
- You may remove any shelves or any pockets numbered1,2,3,6,9 in the picture above.
- Cooling performance is not influenced even if you use the refrigerator in the above situation.
Deodorizing unit
Deodorizing catalyst is installed on the routes of cold air.
There is no need to operate and clean.
Useful modes
Extra cool
Express freezing
Express cool

| Extra cool | Express freezing | Express cool | |
| Feature | This mode is to cool beverages or foods to ice-cold. Note: Food with high moisture may freeze. | This mode speeds up the time to freeze food. | This mode is to cool beverages or foods quickly. |
| Point of use | Fresh case | Freezer compartment | Freezer compartment CAUTION: Do not place glass bottles. There is a high risk that they may burst. |
| Operating time | 6 hours *1 | 2 hours *1 | 30 minutes |
| •This mode ends automatically. •The alarm does not sound. | •This mode ends automatically. •The alarm sounds. To stop the alarm *2 ![]() Press “Express freezing” button. | ||
| After the operation completed | •There is no need for taking beverages or foods out. | •Be sure to take the beverages and foods out when the alarm sounds. •If the beverages and foods are left in the freezer compartment over approximately 30 minutes, they may freeze. | |
| At the time of power failure during the operation | •This mode is automatically canceled. | •This mode is automatically restarted from the previous state at the time of re-power. | |
*1 It may take more time to complete if the operation overlaps with defrosting. This mode starts after defrosting is completed.
*2 If you do not stop the alarm, it sounds 30 minutes continuously.
Note
- Extra cool, Express freezing and Express cool are not available at the same time while one of the modes is in operation.
- Avoid opening the door as much as possible during the operations of these modes.
Plasmacluster
(Only for SJ-X380GP, SJ-X410GP)
The Plasmacluster automatically starts operating when the refrigerator is powered on.
The ionizer inside your refrigerator releases clusters of ions, which are collective masses of positive and negative ions, into the refrigerator compartment. These ion clusters inactivate airborne mold fungus.
Note
- There may be a slight odor in the refrigerator. This is the smell of ozone generated by the ionizer. The amount of ozone is minimum and quickly disappears in the refrigerator.
Control panel

Note
- If you want to light up the indicator, press “F” or “R” button.
Operations of useful modes
| Start operation | Cancel operation | |
| Extra cool | Press the mode button. (Beep)![]() | Press the mode button. (Beep)![]() |
| Express freezing | Press the mode button. (Beep)![]() | Press the mode button. (Beep)![]() |
| Express cool | Press the mode button for 3 seconds or more. (Beep, beep, beep)![]() | Press the mode button. (Beep)![]() |
Door Alarm
- When the refrigerator door is left open for over 1 minute, the door alarm sounds once, and again after 1 minute.
- If the door is left open for approx. 3 minutes, the alarm sounds continuous.
- The alarm stops after closing the door.
If the door alarm does not stop
If the door alarm does not stop after closing all doors, it is a defect.
Contact the SHARP service center for service.
Method of stopping the door alarm temporarily
- Press the “R” button and “F” button simultaneously and continuously for 3 seconds or more.
- The door alarm sounds again after approximately 2 days.

Controlling temperature
The refrigerator controls its temperature automatically. However, you can adjust the temperature as below.
How to check the current temperature setting
The indicator lights up to show the current temperature level by pressing “F” or “R” button.
Freezer compartment: Press “F” button.
Refrigerator compartment: Press “R” button.
The setting of Freezer/Refrigerator compartment
Freezer compartment
- Press “F” button.
- Press “F” button to change the temperature level.
Refrigerator compartment
- Press “R” button.
- Press “R” button to change the temperature level.
- Temperature indicator changes as the picture below (3→4→5→1→2→3) by pressing “F” or “R” button.

Note
- After adjusting the temperature level, the indicator turns off approximately 5 seconds later.
- The temperature setting remains the same even after power failure.
Advanced Setting of Freezer/Refrigerator compartment
The temperature of the refrigerator compartment and freezer compartment can be adjusted in 9 levels (level 1 ~ 9) by following steps a to b.
Freezer compartment
a. Press “F” button first. Hold down “F” button and then press “Express freezing” button for 3 seconds or more.
The indicator returns to “Default setting”.
b. Press “F” button to change the temperature level. Follow the steps a to b if you want to adjust the temperature in 5 levels.
Refrigerator compartment
a. Press “R” button first. Hold down “R” button and then press the “Express freezing” button for 3 seconds or more.
The indicator returns to “Default setting”.
b. Press “R” button to change the temperature level.
Follow the steps a to b if you want to adjust the temperature in 5 levels.
Temperature indicator changes as the picture
below (5 →6 →7 →8 →9 →1 →2 →3 →4 →5) by pressing “F” or “R” button.

Storing food
- Ensure that the food is of the freshest possible quality to maximize the storage life of perishable food. The following is a general guide to help promote longer food storage.
- Food has a limited storage life. Make sure not to exceed the use-by date indicated by the manufacturer.
Freezer
- Freeze small quantities of food at a time in order to freeze them quickly.
- Food should be properly sealed tightly or covered .
- Place food in the freezer evenly.
- Label bags or containers to keep an inventory of freezing food.
Refrigerator
Fruit / Vegetables
- Fruit and vegetables should be loosely enclosed in a plastic material e.g. wrap, bags (do not seal) and placed in the fruit and vegetable crisper to minimize moisture loss.
- Fruits and vegetables which are easily effected by low temperature should be stored in a cool place except for the refrigerator.
Dairy Products & Eggs
- Most dairy products have their best-before date on the outer packaging which informs the recommended temperature and shelf life of the food.
- Eggs should be stored in the egg holder.
Meats / Fish / Poultry
- Place on a plate or a dish and cover with paper or plastic wrap.
- For larger cuts of meat, fish, or poultry, placed to the rear of the shelves.
- Ensure all cooked food is wrapped securely or placed in an airtight container.
Advice for preventing dew or frost inside the refrigerator
- Keep the door securely closed. If the food falls down, it may cause a gap between the cabinet and the door. Move it back to the shelf or the pocket.
- Open and close the door quickly as much as possible. Dew or frost may appear if the door is left open for a long period of time or opening and closing of the door is very often.
- Stored items should be packed or sealed with such as food containers or plastic wraps. (Especially food with high-moisture)
Advice for storing food
- Evenly place the food on the shelves to allow the cooling air to circulate efficiently.
- Hot food should be cooled before storing. Storing hot food increases the temperature in the unit and the risk of food spoilage.
- Do not block the outlet and inlet of the cool air circulating circuit with food or containers; otherwise, the food is not be
- Do not place food directly in front of cold air outlet. This may lead to food freezing.

Tips for saving energy
- Install the refrigerator in a well-ventilated area and keep the space to ventilate.
- Keep your refrigerator out of direct sunlight and do not place it next to a heat-generating appliance.
- Avoid opening the door as much as possible.
- Hot food should be cooled before storing.
- Place the food evenly on the shelves to allow the cool air to circulate effi ciently.
- The amount of energy consumption of this model is measured as shown in the picture below.

Care and cleaning
Important
Follow the tips below to prevent cracks on the inner surfaces and plastic components
- Wipeout food oil adhered to plastic parts.
- Some household chemicals may cause damage, so use only diluted washing-up liquid (soapy water).
- If undiluted detergent is used or soapy water is not wiped off thoroughly, it may result in cracks of plastic parts.
Cleaning
- Remove the accessories (e.g. shelves) from the cabinet and the door. Wash them by warm soapy dishwashing water. After that, rinse them in clean water and dry. (Only fruit and vegetable shelf is not removable)
- Clean the inside with a cloth soaked in warm soapy dishwashing water. Then, use cold water to wipe off soapy water thoroughly.
- Wipe the exterior with a soft cloth each time it gets dirty.
- Clean the magnetic door seal with a toothbrush and warm soapy dishwashing water.
- Wipe the control panel with a dry cloth.
Note
- Do not use heavy-duty cleaners or solvents (lacquer, paint, polishing powder, benzine, boiled water, etc.) which may cause damages.
- If you pull out the power plug once, wait 5 minutes at least before connecting the power plug again.
- The glass shelves weigh approximately 2 kg each. Hold them firmly when remove from the cabinet and carry.
- Do not drop objects inside the refrigerator or strike the inner wall. This may cause cracks to the inner surface.
Before transporting
- Wipe up water in the evaporating pan. Before wiping up the water, wait more than 1 hour after pulling out the plug because refrigeration cycle equipment is extremely hot. (The evaporating pan is located on the rear of the product.)

Defrosting of the cooling unit
- Defrosting is automatically operated by a unique energy-saving system. (Approx. once a day.) Ice making takes time because the temperature inside becomes slightly higher than usual during the defrosting.
When the compartment light is blown
- Contact the service agent approved by SHARP to replace the light. The light is not to be replaced other than by qualified service personnel.
Switching off your refrigerator
If the refrigerator needs to be switched off for an extended period, the following steps should be taken to reduce the growth of mold
- Remove all food.
- Remove the power plug from the socket.
- Clean and dry the interior thoroughly.
- Keep all the doors open slightly for a few days to dry.
Before you call for service
Before calling for service, check the following points.
| Problem | Solution |
| The outside of the cabinet is hot when touched. | It is normal. This is because of the hot pipe in the cabinet in order to prevent dew generation. |
| The refrigerator makes loud noise. | Following sounds are normal. •The compressor makes loud noise when its operation starts — Sound becomes quieter after a while. •The compressor makes loud noise once a day. — Operating sound is made immediately after the automatic defrost operation of the cooling unit. •Sound of flowing fluid (gurgling sound, fizzing sound) –It is caused by refrigerant flowing in pipes(sound may become louder from time to time). •Cracking or crunching sound, squeaking sound — It is caused by the expansion and construction of inner walls and internal parts during cooling. |
| Frost or dew appears inside or outside the refrigerator. | This may occur in one of the following cases. Use a wet cloth for wiping frost and a dry cloth for wiping dew. •When the ambient humidity is high. •When the door is frequently opened and dosed. •When food containing plenty of moisture are stored. (Wrapping is required.) •This phenomenon will appear more or less depending on the season (rainy season, season), habits of usage and environmental conditions of each house. |
| The food in the refrigerator compartment is frozen. | •Is the refrigerator operated for a long time with refrigerator temperature control set MAX COLDEST? — Change the temperature control to the other setting. •Is the refrigerator operated for a long time with freezer temperature control set MAX COLDEST? — Change the temperature control to the other setting. •If the ambient temperature is low, food may freeze even if the refrigerator compartment is set MIN. |
| Odors in the compartment. | •Wrapping is required for foods with strong odors. •Deodorizing unit cannot remove all odors. •Clean the inside periodically. |
If you still require service
Refer to your nearest service agent approved by SHARP.
SPECIFICATION
| MODEL | SJ-X380GP | SJ-X380T | I SJ-X410GP | SJ-X410T | |
| Rated Voltage (V-) | 220 | ||||
| Rate Frequency (Hz) | 50 | ||||
| Power Input (W) | 220 | ||||
| Flammable Insulation Blowing Gas | CYCLO PENTANE (NON-CFC 100%) | ||||
| Refrigerant | R600a | ||||
| Mass of the Refrigerant (g) | 50 | ||||
| Actual storage volume (Ucu.ft.) | 375 / 13.3 | 407 / 14.4 | |||
| Dimension (mm) | Width | 645 | 645 | 645 | 645 |
| Depth | 685 | 685 | 685 | 685 | |
| Height | 1672 | 1672 | 1772 | 1772 | |
| Weight (kg) | 65 | 61 | 67 | 62 | |
NOTE
Specification and equipment are subject to change without any obligation on the part of the manufacture with today’s progressive manufacturing.
Printed in Thailand
TINS-B885CBRZ 18BF



































