Midea MDRT489MTE46 Double Door Refrigerator

Safety Warnings
Warning
- This appliance is intended to be used in household and similar applications such as staff kitchen areas in shops, offices and other
working environments; farm houses and by clients in hotels, motels and other residential type environments; bed and breakfast type environments; catering and similar non-retail applications. - If the supply cord is damaged, it must be replaced by the manufacturer, its service agent or similarly qualified persons in order to
avoid a hazard. - Do not store explosive substances such as aerosol cans with a flammable propellant in this appliance.
- The appliance has to be unplugged after use and before carrying out user maintenance on the appliance.
WARNING:
- Keep ventilation openings, in the appliance enclosure or in the built-in structure, clear of obstruction. WARNING: Do not use mechanical devices or other means to accelerate the defrosting process, other than those recommended by the manufacturer.
- Do not damage the refrigerant circuit.
- Do not use electrical appliances inside the food storage compartments of the appliance, unless they are of the type recommended by the manufacturer.
- Please abandon the refrigerator according to local regulators for it use flammable blowing gas and refrigerant.
- When positioning the appliance, ensure the supply cord is not trapped or damaged.
- Do not locate multiple portable socket-outlets or portable power supplies at the rear of the appliance. Do not use extension cords or ungrounded two prong adapters.
DANGER:
- Risk of child entrapment. Before you throw away your old refrigerator or freezer:
- Take off the doors.
- Leave the shelves in place so that children may not easily climb inside.
The refrigerator must be disconnected from the source of electrical supply before attempting the installation of accessory.
Refrigerant and cyclopentane foaming material used for the refrigerator are flammable. Therefore, when the refrigerator is scrapped, it shall be kept away from any fire source and be recovered by a special recovering company with corresponding qualification other than be disposed by combustion, so as to prevent damage to the environment or any other harm.
For EN standard:
This appliance can be used by children aged from 8 years and above and persons with reduce physical sensory or mental capabilities or lack of experience and knowledge if they have been given supervision or instruction concerning use of the appliance in a safe way and understand the hazards involved. Children shall not play with the appliance. Cleaning and user maintenance shall not be made by children without supervision. Children aged from 3 to 8 years are allowed to load and unload refrigerating appliances
For IEC standard:
This appliance is not intended for use by persons (including children) with reduced physical, sensory or mental
capabilities, or lack of experience and knowledge, unless they have been given supervision or instruction concerning use of the appliance by a person responsible for their safety.)
Children should be supervised to ensure that they do not play with the appliance.
The instructions shall include the substance of the following To avoid contamination of food please respect the following instructions
- Opening the door for long periods can cause a significant increase of the temperature in the compartments of the appliance
- Clean regularly surfaces that can come in contact with food and accessible drainage systems
- Clean water tanks if they have not been used for 48 h; flush the water system connected to a water supply if water has not been drawn for 5 days note
- Store raw meat and fish in suitable containers in the refrigerator so that it is not in contact with or drip onto other food note 2
- Two star frozen food compartments are suitable for storing pre frozen food storing or making ice ream and making ice cubes
- One ,two and three star compartments are not suitable for the freezing of fresh food note 3
- If the refrigerating appliance is left empty for long periods switch off defrost clean dry and leave the door open to prevent mould developing within the appliance
Note 1,2,3 Please confirm whether it is applicable according to you product compartment type
Meaning of safety warning symbols
- Prohibition symbol
This is a prohibition symbol.
Any incompliance with instructions marked with this symbol may result in damage to the product or endanger the personal safety of the user.
- Warning symbol
This is a warning symbol.
It is required to operate in strict observance of instructions marked with this symbol; or otherwise damage to the product or personal injury may be caused.
- Note symbol
This is a cautioning symbol.
Instructions marked with this symbol require special caution. Insufficient caution may result in slight or moderate injury, or damage to the product.
- Do not pull the power cord when pulling the power plug of the refrigerator. Please firmly grasp the plug and pull out it from the socket directly.
- To ensure safe use, do not damage the power cord or use the power cord when it is damaged or worn.

- Please use a dedicated power socket and the power socket shall not be shared with other electrical appliances. The power plug should be firmly contacted with the socket or else fires might be caused.
- Please ensure that the grounding electrode of the power socket is equipped with a reliable grounding line.

- Please turn off the valve of the leaking gas and then open the doors and windows in case of leakage of gas and other flammable gases. Do not unplug the refrigerator and other electrical appliances considering that spark may cause a fire.

- Do not use electrical appliances on the top of the appliance, unless they are of the type recommended by the manufacturer.

Warnings for using
- Do not arbitrarily disassemble or reconstruct the refrigerator, nor damage the refrigerant circuit; maintenance of the appliance must be conducted by a specialist
- Damaged power cord must be replaced by the manufacturer, its maintenance department or related professionals in order to avoid danger.

- The gaps between refrigerator doors and between doors and refrigerator body are small, be noted not to put your hand in these areas to prevent from squeezing the finger. Please be gentle when close the refrigerator door to avoid falling articles.
- Do not pick foods or containers with wet hands in the freezing chamber when the refrigerator is running, especially metal containers in order to avoid frostbite.

- Do not allow any child to get into or climb the refrigerator; otherwise suffocation or falling injury of the child may be caused.

- Do not place heavy objects on the top of the refrigerator considering that objects may fall when close or open the door, and accidental injuries might be caused.
- Please pull out the plug in case of power failure or cleaning. Do not connect the refrigerator to power supply within five minutes to prevent damages to the compressor due to successive starts.

Warnings for placement
- Do not put flammable, explosive, volatile and highly corrosive items in the refrigerator to prevent damages to the product or fire accidents.
- Do not place flammable items near the refrigerator to avoid fires.

- The refrigerator is intended for household use, such as storage of foods; it shall not be used for other purposes, such as storage of blood, drugs or biological products, etc.

- Do not store beer, beverage or other fluid contained in bottles or enclosed containers in the freezing chamber of the refrigerator; or otherwise the bottles or enclosed containers may crack due to freezing to cause damages.

Warnings for energy
- Refrigerating appliances might not operate consistently (possibility of defrosting of contents or temperature becoming too warm in the frozen food compartment) when sited for an extended period of time below the cold end of the range of temperatures for which the refrigerating appliance is designed.
- The fact that effervescent drinks should not be stored in food freezer compartments or cabinets or in low-temperature compartments or cabinets, and that some products such as water ices should not be consumed too cold;
- The need to not exceed the storage time(s) recommended by the food manufacturers for any kind of food and particularly for commercially quick-frozen food in food-freezer and frozen-food storage compartments or cabinets;
- The precautions necessary to prevent an undue rise in the temperature of the frozen food while defrosting the refrigerating appliance, such as wrapping the frozen food in several layers of newspaper.
- The fact that a rise in temperature of the frozen food during manual defrosting, maintenance or cleaning could shorten the storage life.
- The necessity that, for doors or lids fitted with locks and keys, the keys be kept out of the reach of children and not in the vicinity of the refrigerating appliance, in order to prevent children from being locked inside.
Warnings for Disposal
- Refrigerant and cyclopentane foaming material used for the refrigerator are flammable. Therefore, when the refrigerator is scrapped, it shall be kept away from any fire source and be recovered by a special recovering company with corresponding qualification other than be disposed by combustion, so as to prevent damage to the environment or any other harm.
- When the refrigerator is scrapped, disassemble the doors, and remove gasket of door and shelves; put the doors and shelves in a proper place, so as to prevent trapping of any child.
Correct Disposal of this product:
This marking indicates that this product should not be disposed with other household wastes. To prevent possible harm to the environment or human health from uncontrolled waste disposal, recycle it responsibly to promote the sustainable reuse of material resources. To return your used device, please use the return and collection systems or contact the retailer where the product was purchased. They can take this product for environmental safe recycling.
Proper Use of Refrigerators
Placement
- Before use, remove all packing materials, including bottom cushions, foam pads and tapes inside of the refrigerator; tear off the protective film on the doors and the refrigerator body.

- Keep away from heat and avoid direct sunlight. Do not place the freezer in moist or watery places to prevent rust or reduction of insulating effect.
- Do not spray or wash the refrigerator; do not put the refrigerator in moist places easy to be splashed with water so as not to affect the electrical insulation properties of the refrigerator.

- The refrigerator is placed in a well-ventilated indoor place; the ground shall be flat, and sturdy (rotate left or right to adjust the wheel for levelling if unstable).

- The top space of the refrigerator shall be greater than 30cm, and the refrigerator should be placed against a wall with a free distance more than 10cm to facilitate heat dissipation.

Precautions before installation:
Before installation or adjusting of accessories, it shall be ensured that the refrigerator is disconnected from power.
Precautions shall be taken to prevent fall of the handle from causing any personal injury.
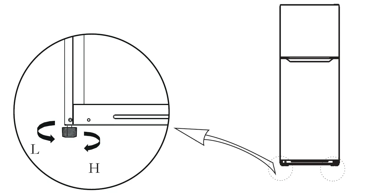
Leveling Feet
Schematic diagram of the leveling feet
(The picture above is only for reference. The actual configuration will depend on the physical product or statement by the distributor)
Adjusting procedures:
- Turn the feet clockwise to raise the refrigerator.
- Turn the feet counterclockwise to lower the refrigerator;
- Adjust the right and left feet based on the procedures above to a horizontal level.
Door Right-Left Change
List of tools to be provided by the user | |||
![]() | Cross screwdriver | ![]() | Putty knife thin-blade screwdriver |
![]() | 5/16 socket and ratchet | ![]() | Masking tape |
Parts to be used for door reverse | |||
Number | Name | Number | Note |
1 | Right upper hinge | 1 | Pre-installed on the refrigerator, removed when the door is reversed, and kept for future use |
2 | Upper right hinge cover | 1 | Pre-installed on the refrigerator, removed when the door is reversed, and kept for future use |
3 | Hole cover | 1 | Pre-installed on the refrigerator, still used when door is reversed |
4 | Stopper | 1 | Pre-installed on the refrigerator, still used when door is reversed |
5 | Stopper Lower hinge | 1 | Pre-installed on the refrigerator, still used when door is reversed |
6 | Leveling feet | 1 | Pre-installed on the refrigerator, still used when door is reversed |
7 | Cap of Left cover | 1 | Pre-installed on the freezer, still used when door is reversed |
8 | Left upper hinge | 1 | In the attached plastic bag, take them out for use when door is reversed |
9 | Upper left hinge cover | 1 | In the attached plastic bag, take them out for use when door is reversed |
10 | Cap of Right cover | 1 | In the attached plastic bag, take them out for use when door is reversed |
- Please power off this appliance before conduct this operation. Remove all food from door shelves.
- Remove hole cap, the upper hinge cover, fitting screws of upper hinge, upper hinge and sleeve pipe ,then uplift the freezer door until it is separated from cabinet completely.

- Remove the hole caps, fitting screws of middle hinge and middle hinge, then uplift the refrigerator door until it is separated from cabinet completely.

- Remove the lower hinge assembly from lower right corner and remove the hole cap, screw cap from lower left corner; Dismantle the hinge shaft and adjustable foot and install them on other side of lower hinge; then install the lower hinge assembly on lower left corner by fitting screws, and install the hole cap and screw cap on lower right corner.

- Dismantle the stoppers, sleeve pipes of both refrigerator door and freezer door, install them on the other side of both doors; exchange the installation position of sleeve pipe and hole cap on upper end cap of refrigerator door; remove the left decorative cover of freezer door, and move the sleeve pipe

- Install the Refrigerator compartment door on the lower hinge and then install the middle hinge and hole caps.

- Take out the left upper hinge, left upper hinge cover, and right decorative cover from the accessory bag, install the freezer door on the middle hinge, and install the left upper hinge, left hinge cover and hole cap. Finally, install the right decorative cover on right side of end cap of freezer door..

(The picture above is only for reference. The actual configuration will depend on the physical product or statement by the distributor)
Changing the Light
Any replacement or maintenance of the LED lamps is intended to be made by the manufacturer, its service agent or similar qualified person.
Starting
- Before initial start, keep the refrigerator still for t hour before connecting it to power supply.
- Before putting any fresh or frozen foods, the refrigerator shall have run for 2-3 hours, or for above 4 hours in summer when the ambient temperature is high.

- Spare enough space for convenient opening of the doors and drawers or statement by the distributor.

Energy Saving Tips
- The appliance should be located in the coolest area of the room, away from heat producing appliances or heating ducts, and out of the direct sunlight.
- Let hot foods cool to room temperature before placing in the appliance. Overloading the appliance forces the compressor to run longer. Foods that freeze too slowly may lose quality, or spoil.
- Be sure to wrap foods properly, and wipe containers dry before placing them in the appliance. This cuts down on frost build-up inside the appliance.
- Appliance storage bin should not be lined with aluminum foil, wax paper, or paper toweling. Liners interfere with cold air circulation, making the appliance less efficient.
- Organize and label food to reduce door openings and extended searches. Remove as many items as needed at one time, and close the door as 10as possible.
Structure and Functions
Key Somponents


(The picture above is only for reference. The actual configuration will depend on the physical product or statement by the distributor)
Refrigerating chamber
- The Refrigerating Chamber is suitable for storage of a variety of fruits, vegetables, beverages and other food consumed in the short term.
- Cooking foods shall not be put in the refrigerating chamber until cooled to room temperature.
- Foods are recommended to be sealed up before putting into the refrigerator.
- The glass shelves can be adjusted up or down for a reasonable amount of storage space and easy use.
- For better use of the refrigerator, it is recommended to push the slider of manual air damper to top position; if it is not enough cool in refrigerator room, please check this slider and try to push it to top position if not .
Freezing chamber
- The low temperature freezing chamber may keep food fresh for a long time and it is mainly used to store frozen foods and making ice.
- The freezing chamber is suitable for storage of meat, fish, rice balls and other foods not to be consumed in short term.
- Chunks of meat are preferably to be divided into small pieces for quick freezing and easy access.
Please be noted food shall be consumed within the shelf time.
Functions
(The picture above is only for reference. The actual configuration will depend on the physical product or statement by the distributor)
- 1 Key
- A Temperature setting button of refrigerator compartment
- 2 Display screen
- Setting 1
- Setting 2
- Setting 3
- Setting 4
- Display
When electrify the refrigerator for first time, the display screen shines fully for 3 seconds, and then the refrigerator runs according to setting 3. In case of a failure, the corresponding LED blinks. In case of no failures, it shows the temperature setting of refrigerator.
Fault Code | Fault Description |
| Indicator setting 1 and setting 2 | Refrigerator temperature sensor |
| Indicator setting 1 and setting 3 | Freezer defrost sensor |
| Indicator setting 1 and setting 4 | Ambient temperature sensor |
- Temperature setting
Each time the temperature setting button A is pressed once, the temperature setting changes one time. After the temperature setting has been completed, the refrigerator will run according to the set value after 15s.
The shift regulation is:
- Lock/Unlock
When the temperature control panel is in lock state, it needs to long press temperature setting key for 3 seconds for unlocking the panel, all LEDs will blink for 2 seconds when panel is unlocked. When the temperature control panel is in unlock state, if there is no operation on control panel within 15 seconds, it will enter into lock state automatically. - Damper adjusting slider

The initial position of the damper adjusting slider is on the far right side. It is recommended to keep it still. If you move to the left, the temperature of the refrigerator will rise.
Maintenance and care of the appliance
Overall cleaning
- Dusts behind the refrigerator and on the ground shall be timely cleaned to improve the cooling effect and energy saving.
- Check the door gasket regularly to make sure there are no debris. Clean the door gasket with a soft cloth dampened with soapy water or diluted detergent.
- The interior of the refrigerator should be cleaned regularly to avoid odor.
- Please turn off the power before cleaning interior, remove all foods, drinks ,shelves, drawers, etc.
- Use a soft cloth or sponge to clean the inside of the refrigerator, with two tablespoons of baking soda and a quart of warm water. Then rinse with water and wipe clean.
- After cleaning, open the door and let it dry naturally before turning on the power.
- For areas that are difficult to clean in the refrigerator (such as narrow sandwiches, gaps or corners), it is recommended to wipe them regularly with a soft rag, soft brush, etc. and when necessary, combined with some auxiliary tools (such as thin sticks) to ensure no contaminants or bacterial accumulation in these areas.
- Do not use soap, detergent, scrub powder, spray cleaner, etc., as these may cause odors in the interior of the refrigerator or contaminated food.
- Clean the bottle frame, shelves and drawers with a soft cloth dampened with soapy water or diluted detergent. Dry with a soft cloth or dry naturally.
- Wipe the outer surface of the refrigerator with a soft cloth dampened with soapy water, detergent, etc., and then wipe dry.
- Do not use hard brushes, clean steel balls, wire brushes, abrasives (such as toothpastes), organic solvents (such as alcohol, acetone, banana oil, etc.), boiling water, acid or alkaline items, which may damage the fridge surface and interior. Boiling water and organic solvents such as benzene may deform or damage plastic parts.
- Do not rinse directly with water or other liquids during cleaning to avoid short circuits or affect electrical insulation after immersion.
WARNING:
Please unplug the refrigerator for defrost and cleaning.
Cleaning the glass shelf
- Lift up the front of glass shelf, and then pull out;
- Remove the glass shelf and clean as needed;
- The reverse operation is for installation of glass shelf.

Defrosting
- The refrigerator is made based on the air-cooling principle and thus has automatic defrosting function. Frost formed due to change of season or temperature may also be manually removed by disconnection of the appliance from power supply or by wiping with a dry towel.
Out of operation
- Power failure: In case of power failure, even if it is in summer, foods inside the appliance can be kept for several hours; during the power failure, the times of door opening shall be reduced, and no more fresh food shall be put into the appliance.
- Long-time nonuse: The appliance shall be unplugged and then cleaned; then the doors are left open to prevent odor.
- Moving: Before the refrigerator is moved, take all objects inside out, fix the glass partitions, vegetable holder, freezing chamber drawers and etc. with tape, and tighten the leveling feet; close the doors and fix them with tape. During moving, the appliance shall not be laid upside down or horizontally, or be vibrated; the inclination during movement shall be no more than 45°.
The appliance shall run continuously once it is started. Generally, the operation of the appliance shall not be interrupted; otherwise the service life may be impaired.
Trouble shooting
You may try to solve the following simple problems by yourself. If them cannot be solved, please contact the after-sales department.
| Failed operation | Check whether the appliance is connected to power or whether the plug is in well contact . Check whether the voltage is too low. Check whether there is a power failure or partial circuits have tripped. |
| Odor | Odorous foods shall be tightly wrapped. Check whether there is any rotten food. Clean the inside of the refrigerator. |
| Long-time operation of the compressor | Long operation of the refrigerator is normal in summer when the ambient temperature is high. It is not recommended having too much food in the appliance at the same time. Food shall get cool before being put into the appliance. The doors are opened too frequently. |
| Light fails to get lit | Check whether the refrigerator is connected to power supply and whether the illuminating light is damaged. |
| Doors cannot be properly closed | The door is stuck by food packages. The refrigerator is tilted. |
| Loud noise | Check whether the floor is level and whether the refrigerator is placed stably. Check whether accessories are placed at proper locations. |
| Door seal fails to be tight | Remove foreign matters on the door seal. Heat the door seal and then cool it for restoration (or blow it with an electrical drier or use a hot towel for heating). |
| Water pan overflows | There is too much food in the chamber or food stored contains too much water, resulting in heavy defrosting. The doors are not closed properly, resulting in frosting due to entry of air and increased water due to defrosting. |
| Hot housing | Heat dissipation of the built-in condenser via the housing, which is normal. When housing becomes hot due to high ambient temperature and storage of too much food, it is recommended to provide sound ventilation to facilitate heat dissipation. |
| Surface condensation | Condensation on the exterior surface and door seals of the refrigerator is normal when the ambient humidity is too high. Just wipe the condensate with a clean towel. |
| Abnormal noise | Buzz: The compressor may produce buzzes during operation, and the buzzes are loud particularly upon start or stop. This is normal. Creak: Refrigerant flowing inside of the appliance may produce creak, which is normal. |




















































