TESLA RD2101EH Double Door Refrigerators

Product images are for illustrative purposes only and may differ from the actual product.
SAFETY INFORMATION
In the interest of your safety and to ensure the correct use, before installing and first using the appliance, read this user manual carefully, including its hints and warnings. To avoid unnecessary mistakes and accidents, it is important to ensure that all people using the appliance are thoroughly familiar with its operation and safety features. Save these instructions and make sure that they remain with the appliance if it is moved or sold, so that everyone using it through its life will be properly informed on appliance use and safety. For the safety of life and property keep to the precautions of these user instructions as the manufacturer is not responsible for damages caused by omission.
Children and vulnerable people safety
- • This appliance can be used by children aged of 8 years and above and persons with reduced physical, sensory or mental capabilities, or lack of experience and knowledge if they have supervision or have been given instructions concerning the use of the appliance in a safe way and understand the hazards involved.
- Children aged from 3 to 8 years are allowed to load and unload this appliance.
- Children should be supervised to ensure that they do not play with the appliance.
- Cleaning and user maintenance should not be done by children unless they are aged from 8 years and above and supervised.
- Keep all packaging well away from children. There is risk of suffocation.
- If you are discarding the appliance pull the plug out of the socket, cut the connection cable (as close to the appliance as you can) and remove the door to prevent playing children from suffering electric shock or closing themselves in.
- If this appliance features a magnetic door seal to replace an older appliance having a spring lock (latch) on the door or lid, be sure to make that spring lack unusable before you discard the old appliance. This will prevent it from becoming a death trap for a child.
General safety
WARNING
- Keep ventilation openings, in the appliance enclosure or in the built-in structure, clear of obstruction.
- Do not use mechanical devices or other means to accelerate the defrosting process, other than those recommended by the manufacturer.
- Do not damage the refrigerant circuit.
- Do not use other electrical appliances (such as ice cream makers) inside of refrigerating appliances, unless they are approved for this purpose by the manufacture.
- Do not touch the light bulb if it has been on for a long period of time because it could be very hot.1
- When positioning the appliance, ensure the supply cord is not trapped or damaged.
- WARNING: Do not locate multiple portable socket-outlets or portable power suppliers at the rear of the appliance.
- Do not store explosive substances such as aerosol cans with a flammable propellant in this appliance.
- The refrigerant isobutene (R600a) is contained within the refrigerant circuit of the appliance, a natural gas with a high level of environmental compatibility, which is nevertheless flammable.
- During transportation and installation of the appliance, be certain that none of the components of the refrigerant circuit become damaged.
- avoid open flames and sources of ignition
- thoroughly ventilate the room in which the appliance is situated
- It is dangerous to alter the specifications or modify this product in any way. Any damage to the cord may cause a short circuit, fire and/or electric shock.
- This appliance is intended to be used in a household and similar applications such as
- staff kitchen areas in shops, offices and other working environments;
- farm houses and by clients in hotels, motels and other residential type environments;
- bed and breakfast type environments;
- catering and similar non-retail applications.
WARNING
Any electrical components (plug, power cord, compressor and etc.) must be replaced by a certified service agent or qualified service personnel. The light bulb supplied with this appliance is a “special use light bulb” usable only with the appliance supplied. This “special use lamp” is not usable for domestic lighting.1
- Power cord must not be lengthened.
- Make sure that the power plug is not squashed or damaged by the back of the appliance. A squashed or damaged power plug may overheat and cause a fire.
- Make sure that you can come to the main plug of the appliance.
- Do not pull the main cable.
- If the power plug socket is loose, do not insert the power plug. There is a risk of electric shock or fire.
- You must not operate the appliance without the lamp.
- This appliance is heavy. Care should be taken when moving it.
- Do not remove nor touch items from the freezer compartment if your hands are damp/wet, as this could cause skin abrasions or frost/freezer burns.
- Avoid prolonged exposure of the appliance to direct sunlight.
Daily use
- Do not put hot things on the plastic parts in the appliance.
- Do not place food products directly against the rear wall.
- Frozen food must not be re-frozen once it has been thawed out. 2
- Store pre-packed frozen food in accordance with the frozen food manufacture, s instructions. 2
- Appliance, s manufactures storage recommendations should be strictly adhered to. Refer to relevant instructions.
- Do not place carbonated of fizzy drinks in the freezer compartment as it creates pressure on the container, which may cause it to explode, resulting in damage to the appliance.2
- Ice lollies can cause frost burns if consumed straight from the appliance.2
To avoid contamination of food, please respect the following instructions
- Opening the door for long periods can cause a significant increase of the temperature in the compartments of the appliance.
- Clean regularly surfaces that can come in contact with food and accessible drainage systems.
- Clean water tanks if they have not been used for 48h; flush the water system connected to a water supply if water has not been drawn for 5 days.
- Store raw meat and fish in suitable containers in the refrigerator, so that it is not in contact with or drip onto other food.
- Two-star frozen-food compartments (if they are presented in the appliance) are suitable for storing pre-frozen food, storing or making ice-cream and making ice cubes.
- One-, two- and three -star compartments (if they are presented in the appliance) are not suitable for the freezing of fresh food.
- If the appliance is left empty for long periods, switch off, defrost, clean, dry and leave the door open to prevent mount developing within the appliance.
Care and cleaning
- Before maintenance, switch off the appliance and disconnect the main plug from the power socket.
- Do not clean the appliance with metal objects.
- Do not use sharp objects to remove frost from the appliance. Use a plastic scraper. 2
- Regularly examine the drain in the refrigerator for defrosted water. If necessary, clean the drain. If the drain is blocked, water will collect at the bottom of the appliance. 3
Installation
- IMPORTANT: For electrical connection carefully follow the instructions given in specific paragraphs.
- Unpack the appliance and check if there are damages on it. Do not connect the appliance if it is damaged. Report possible damages immediately to the place you bought it. In that case retain packing.
- It is advisable to wait at least four hours before connecting the appliance to allow the oil to flow back in the compressor.
- Adequate air circulation should be provided around the appliance, lacking this leads to overheating. To achieve sufficient ventilation, follow the instructions relevant to installation.
- Wherever possible the spacers of the product should be against a wall to avoid touching or catching warm parts (compressor, con- denser) to prevent possible burn.
- The appliance must not be located close to radiators or cookers.
- Make sure that the main plug is accessible after the installation of the appliance.
Service
- Any electrical work required to do the servicing of the appliance should be carried out by a qualified electrician or competent person.
- This product must be serviced by an authorized Service Center, and only genuine spare parts must be used.
Energy saving
- Do not put hot food in the appliance;
- Do not pack food close together as this prevents air circulating;
- Make sure food does not touch the back of the compartment(s);
- If electricity goes off, do not open the door(s);
- Do not open the door(s) frequently;
- Do not keep the door(s) open for a long time;
- Do not set the thermostat on exceeding cold temperatures;
- All accessories, such as drawers, shelves balconies, should be kept there for lower energy consumption.
Environment Protection
This appliance does not contain gasses which could damage the ozone layer, in either its refrigerant circuit or insulation materials. The appliance shall not be discarded together with the urban refuse and rubbish. The insulation foam contains flammable gases: the appliance shall be disposed according to the appliance regulations which can be obtained from your local authorities. Avoid damaging the cooling unit, especially the heat exchanger. The materials used on this appliance marked by the symbol are recyclable.
The symbol on the product or on its packaging indicates that this product may not be treated as household waste. Instead it should be taken to the appropriate collection point for the recycling of electrical and electronic equipment. By ensuring this product is disposed of correctly, you will help prevent potential negative consequences to the environment and human health, which could otherwise be caused by inappropriate waste handling of this product. For more detailed information about recycling of this product, please contact your local council, your household waste disposal service or the shop where you purchased the product.
Packaging materials
- The materials with the symbol are recyclable.
- Dispose the packaging in a suitable collection container to recycle it.
Disposal of the appliance
- Disconnect the mains plug from the mains socket.
- Cut off the mains cable and discard it.
WARNING
- During using, service and disposal the appliance, please pay attention to symbol similar as left side, which is located on rear of appliance (rear panel or compressor) and with yellow or orange color.
- It’s risk of fire warning symbol. There are flammable materials in refrigerant pipes and compressor.
- Please be far away fire source during using, service and disposal.
OVERVIEW

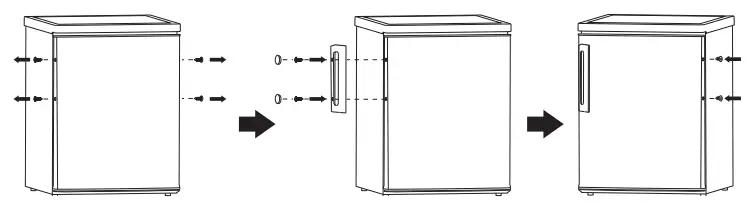
REVERSE DOOR
Tools required: Philips screwdriver, Flat bladed screwdriver, Hexagonal spanner.
- Ensure the unit is unplugged and empty.
- To take the door off, it is necessary to tilt the unit backwards. You should rest the unit on something solid so that it will not slip during the door reversing process.
- All parts removed must be saved to do the reinstallation of the door.
- Do not lay the unit flat as this may damage the coolant system.
- It’s better that 2 people handle the unit during assembly.

- Carefully remove the top hinge coverwith a flat screw driver.
- Unscrew the top hinge with a philiphs screw driver.

- Remove the hole coverwith a flat screw driver.
- Move the core cover from left side to right side. And then lift the upper door and place it on a padded surface to prevent it from scratching.

- Unscrew the middle hinge and then lift the bottom door and put it on a soft pad to avoid scratch.
- Move two middle hole covers from left to right.

- Lie down the rear of cabinet on a soft pad. And unscrew the bottom hinge and leveling foot.

- Unscrew and remove the bottom hinge pin, turn the bracket over and replace it.

- lnstall the hinge at left side and foot base at right side. Then screw two leveling feet with their original parts.
- Move two middle hole covers from left to right.

- Lie down the rear of cabinet on a soft pad. And unscrew the bottom hinge and leveling foot.
- Stand up the unit and put the door on the bottom hinge. Make sure the bottom hinge core is inserted in the door hole. Then move the hinge hole cover of bottom door from left side to right side.

- Install the middle hinge.
- Install the upper door with the upper hinge.

- Clap in the hinge cover and hole cover on the top of unit.
- Detach the Fridge and the Freezer door gaskets and then attach them after rotating.
INSTALLATION
Install door external handle (if external handle is present)

Space Requirement
- Keep enough space for the opening of doors.

| A | 555 |
| B | 555 |
| C | 1430 |
| D | min=50 |
| E | min=50 |
| F | min=50 |
| G | 1110 |
| H | 1110 |
| I | 135° |
Leveling the unit


- To do this adjust the two levelling feet at front of the unit.
- If the unit is not level, the doors and magnetic seal alignments will not be covered properly.
Positioning
Install this appliance at a location where the ambient temperature corresponds to the climate class indicated on the rating plate of the appliance:
| Climate class | Ambient temperature |
| SN | +10ºC to +32ºC |
| N | +16ºC to +32ºC |
| ST | +16ºC to +38ºC |
| T | +16ºC to +43ºC |
Location
The appliance should be installed well away from sources of heat such as radiators, boilers, direct sunlight etc. Ensure that air can circulate freely around the back of the cabinet to ensure best performance. If the appliance is positioned below an overhanging wall unit, the minimum distance between the top of the cabinet and the wall unit must be at least 50 mm. Ideally, however, the appliance should not be positioned below overhanging wall units. Accurate leveling is ensured by one or more adjustable feet at the base of the cabinet.
WARNING
It must be possible to disconnect the appliance from the mains power supply; the plug must therefore be easily accessible after installation.
Electrical connection
Before plugging in, ensure that the voltage and frequency shown on the rating plate correspond to your domestic power supply. The appliance must be grounded. The power supply cable plug is provided with a contact for this purpose. If the domestic power supply socket is not grounded, connect the appliance to a separate grounder in compliance with current regulations, consulting a qualified electrician. The manufacturer declines all responsibility if the above safety precautions are not observed. This appliance complies with the E.E.C. Directives.
DAILY USE
First use
Cleaning the interior
Before using the appliance for the first time, wash the interior and all internal accessories with lukewarm water and some neutral soap so as to remove the typical smell of a brand new product, then dry thoroughly.
IMPORTANT: Do not use detergents or abrasive powders, as these will damage the finish.
Temperature Setting

- Plug in your appliance. The internal temperature is controlled by a thermostat. There are 8 setting levels 1 is warmest setting, 7 is coldest setting and 0 is off.
- The appliance may not operate at the correct temperature if it is in a particularly hot environment or if you open the door often.
Position different food in different compartments according to be below table

Temperature setting recommendation

- Information above give users recommendation of temperature setting.
Impact on Food Storage
- Under Recommended setting, the best storage time of fridge is no more than 3 days.
- Under Recommended setting, the best storage time of freezer is no more than 1 month.
- The best storage time may reduce under other settings.
Freezing fresh food
- The freezer compartment is suitable for freezing fresh food and storing frozen and deep-frozen food for a long time.
- Place the fresh food to be frozen in the freezer compartment.
- The maximum amount of food that can be frozen in 24 hours is specified on the rating plate.
- The freezing process lasts 24 hours: during this period do not add other food to be frozen.
Storing frozen food
When first starting-up or after a period out of use, before putting food in the compartment let the appliance run at least 2 hours on a higher setting.
IMPORTANT: In the event of accidental defrosting, for example the power has been off for longer than the value shown in the technical characteristics chart under “rising time”, the defrosted food must be consumed quickly or cooked immediately and then re-frozen (after cooked).
Thawing
- Deep-frozen or frozen food, prior to being used, can be thawed in the fridge compartment or at room temperature, depending on the time available for this operation.
- Small pieces may even be cooked still frozen, directly from the freezer. In this case, cooking will take longer.
Ice-cube
- This appliance may be equipped with one or more ice-cube trays to produce ice.
Accessories
Movable shelves

- The walls of the refrigerator are equipped with a series of runners so that the shelves can be positioned as desired.
Positioning the door balconies

To permit storage of food packages of various sizes, the door balconies can be placed at different heights. To make these adjustments proceed as follows: gradually pull the balcony in the direction of the arrows until it comes free, then reposition as required.
Helpful hints and tips
To help you make the most of the freezing process, here are some important hints:
- the maximum quantity of food which can be frozen in 24 hrs. is shown on the rating plate;
- the freezing process takes 24 hours. No further food to be frozen should be added during this period;
- only freeze top quality, fresh and thoroughly cleaned, foodstuffs;
- prepare food in small portions to enable it to be rapidly and completely frozen and to make it possible subsequently to thaw only the quantity required;
- wrap up the food in alumi num foil or polythene and make sure that the packages are airtight;
- do not allow fresh, unfrozen food to touch food which is already frozen, thus avoiding a rise in temperature of the latter;
- lean foods store better and longer than fatty ones; salt reduces the storage life of food;
- water ices, if consumed immediately after removal from the freezer compartment, can possibly cause the skin to be freeze burnt;
- removal from the freezer compartment, can possibly cause the skin to be freeze burnt; it is advisable to show the freezing in date on each individual pack to enable you to keep tab of the storage time.
- it is advisable to show the freezing in date on each individual pack to enable you removal from the freezer compartment, can possibly cause the skin to be freeze burnt;
- it is advisable to show the freezing in date on each individual pack to enable you to keep tab of the storage time.
Hints for storage of frozen food
To oain the best performance from this appliance, you should:
- make sure that the commercially frozen foodstuffs were adequately stored by the retailer;
- be sure that frozen foodstuffs are transferred from the food store to the freezer in the shortest possible time;
- do not open the door frequently or leave it open longer than absolutely necessary.
- once defrosted, food deteriorates rapidly and cannot be re-frozen;
- do not exceed the storage period indicated by the food manufacture.
Hints for fresh food refrigeration
To obtain the best performance:
- Do not store warm food or evaporating liquids in the refrigerator
- Do cover or wrap the food, particularly if it has a strong flavor
- Meat (all types): wrap in polythene bags and place on the glass shelves above the vegetable drawer.
- For safety, store in this way only one or two days at the most.
- Cooked foods, cold dishes, etc…: these should be covered and may be placed on any shelf.
- If the condenser is at the back of appliance.
- Fruit and vegetables: these should be thoroughly cleaned and placed in the special drawer(s) provided.
- Butter and cheese: these should be placed in special airtight containers or wrapped in aluminum foil or polythene bags to exclude as much air as possible.
- Milk bottle: these should have a cap and should be stored in the balconies on the door.
- Bananas, potatoes, onions and garlic, if not packed, must not be kept in the fridge.
Cleaning
For hygienic reasons the appliance interior, including interior accessories, should be cleaned regularly.
CAUTION
The appliance may not be connected to the mains during cleaning. Danger of electrical shock! Before cleaning switch the appliance off and remove the plug from the mains, or switch off or turn out the circuit breaker or fuse. Never clean the appliance with a steam cleaner. Moisture could accumulate in electrical components, danger of electrical shock! Hot vapors can lead to the damage of plastic parts. The appliance must be dry before it is placed back into service.
IMPORTANT: Ethereal oils and organic solvents can attack plastic parts, e.g. lemon juice or the juice form orange peel, butyric acid, cleanser that contain acetic acid.
Clean drain hole
To avoid defrost water overflowing into the fridge, periodically clean the drain hole at back of fridge compartment. Use a cleaner to clean the hole as showed in the picture.

- Do not allow such substances to come into contact the appliance parts.
- Do not use any abrasive cleaners
- Remove the food from the freezer. Store them in a cool place, well covered.
- Switch the appliance off and remove the plug from the socket, or switch off the circuit breaker or fuse.
- Clean the appliance and the interior accessories with a cloth and lukewarm water. After cleaning wipe with fresh water and rub dry.
- After everything is dry place appliance back into service.
Defrosting of the freezer
The freezer compartment, however, will become progressively covered with frost. This should be removed. Never use sharp metal tools to scrape off frost from the evaporator as you could damage it. However, when the ice becomes very thick on the inner liner, complete defrosting should be carried out as follows:
- pull out the plug from the socket;
- remove all stored food, wrap it in several layers of newspaper and put it in a cool place;
- keep the door open, and placing a basin underneath of the appliance to collect the defrost water;
- when defrosting is completed, dry the interior thoroughly
- replace the plug in the power socket to run the appliance again.
Replace the lamp

CAUTION: The product is equipped with LED light, please contact after sales service in case of replacement.
TROUBLESHOOTING
CAUTION!
Before troubleshooting, disconnect the power supply. Only a qualified electrician of competent person must do the troubleshooting that is not in this manual.
IMPORTANT: There are some sounds during normal use (compressor, refrigerant circulation).
Problem /Possible cause /Solution
|
Appliance does not work | Temperature regulation knob is set at number “0”. | Set the knob at other number to switch on the appliance. |
| Power plug is not plugged in or is loose | Insert power plug. | |
| Fuse has blown or is defective | Check fuse, replace if necessary. | |
| Socket is defective | Socket malfunctions are to be corrected by an electrician. | |
|
The food is too warm. | Temperature is not properly adjusted. | Please look in the initial Temperature Setting section. |
| Door was open for an extended period. | Open the door only as long as necessary. | |
| A large quantity of warm food was placed in the appliance within the last 24 hours. | Turn the temperature regulation to a colder setting temporarily. | |
| The appliance is near a heat source. | Please look in the installation location section. | |
| Appliance cools too much | Temperature is set too cold. | Turn the temperature regulation knob to a warmer setting temporarily. |
|
Unusual noises | Appliance is not level. | Re-adjust the feet. |
| The appliance is touching the wall or other objects. | Move the appliance slightly. | |
| A component, e.g. a pipe, on the rear of the appliance is touching another part of the appliance or the wall. | If necessary, carefully bend the component out of the way. | |
| Water on the floor | Water drain hole is blocked. | See the Cleaning section. |
| Side panel is hot | Condenser is inside the panel. | It’s normal. |
- If the malfunction shows again, contact the Service Center.
Product Information Sheet
| COMMISSION DELEGATED REGULATION (EU) 2019/2016 with regard to energy labelling of refrigerating appliances | |||||
| Supplier’s name or trade mark: Tesla | |||||
| Supplier’s address: Tesla Electronics, Litijska 47, 1000 Ljubljana, SI | |||||
| Model identifier: RD2101EH | |||||
| Type of refrigerating appliance: | |||||
| Low-noise appliance: | No | Design type: | freestanding | ||
| Wine storage appliance: | No | Other refrigerating appli- ance: | Yes | ||
| General product parameters: | |||||
| Parameter | Value | Parameter | Value | ||
| Overal dimensions (millimetre) | Height | 1 430 | Total volume (dm³ or l) | 206 | |
| Width | 545 | ||||
| Depth | 555 | ||||
| EEI | 100 | Energy efficiency class | E | ||
| Airborne acoustical noise emis- sions (dB(A) re 1 pW) | 40 | Airborne acoustical noise emission class | C | ||
| Annual energy consumption (kWh/a) | 172 | Climate class: | temperate, subtropi- cal | ||
| Minimum ambient tempera- ture (ºC), for which the refrig- erating appliance is suitable | 16 | Maximum ambient tem- perature (ºC), for which the refrigerating appliance is suitable | 38 | ||
| Winter setting | No | ||||
| Compartment Parameters: | |||||
|
Compartment type | Compartment parameters and values | ||||
|
Compartment Vol- ume (dm³ or l) | Recom- mended tempera- ture setting for opti- mised food storage (ºC) These set- tings shall not con- tradict the storage conditions set out in Annex IV, Table 3 |
Freezing capacity (kg/24h) |
Defrosting type (auto-defrost=A, manual defrost=M) | ||
| Pantry | No | – | – | – | – |
| Wine storage | No | – | – | – | – |
| Cellar | No | – | – | – | – |
| Fresh food | Yes | 169,0 | – | – | M |
| Chill | No | – | – | – | – |
| 0-star or ice-making | No | – | – | – | – |
| 1-star | No | – | – | – | – |
| 2-star | No | – | – | – | – |
| 3-star | No | – | – | – | – |
| 4-star | Yes | 37,0 | -18 | 2,4 | M |
| 2-star section | No | – | – | – | – |
| Variable temperature compartment | – | – | – | – | – |
| For 4-star compartments | |||||
| Fast freeze facility | No | ||||
| Light source parameters: | |||||
| Type of light source | LED | ||||
| Energy efficiency class | – | ||||
| Minimum duration of the guarantee offered by the manufacturer: 24 months | |||||
| Additional information: | |||||
| Weblink to the manufacturer’s website, where the information in point4(a) Annex of Commission Regulation (EU) 2019/2019 is found: tesla.info | |||||
Link to the EU EPREL database
The QR code on the energy label supplied with the appliance provides a web link to the registration of this appliance in the EU EPREL database. Keep the energy label for reference together with the user manual and all other documents provided with this appliance. It is possible to find information related to the performance of the product in the EU EPREL database using the link https://eprel.ec.europa.eu and the model name and product number that you can find on the rating plate of the appliance.
For more detailed information about the energy label, visit www.theenergylabel.eu.
EU DECLARATION OF CONFORMITY

Comtrade Distribution d.o.o. Beograd
- Address: Bulevar Zorana Dindića 125i 11000 Belgrade, Serbia
- Phone: +381 11 201 55 55
- E mail: [email protected]
- www.comtradedistribution.com




























