
Virtuoso 2000 Fresnel RGBAL
User Manual
Order codes: ELUM135
WARNING
FOR YOUR OWN SAFETY, PLEASE READ THIS USER MANUAL CAREFULLY BEFORE YOUR INITIAL START-UP!
- Before your initial start-up, please make sure that there is no damage caused during transportation.
- Should there be any damage, consult your dealer and do not use the equipment?
- To maintain the equipment in good working condition and to ensure safe operation, it is necessary for the user to follow the safety instructions and warning notes written in this manual.
- Please note that damages caused by user modifications to this equipment are not subject to a warranty.
CAUTION!
KEEP THIS EQUIPMENT AWAY FROM RAIN, MOISTURE, AND LIQUIDS
CAUTION!
TAKE CARE USING THIS EQUIPMENT! HIGH VOLTAGE RISK OF ELECTRIC SHOCK!!
IMPORTANT:
The manufacturer will not accept liability for any resulting damages caused by the non-observance of this manual or any unauthorized modification to the equipment.
- Never let the power cable come into contact with other cables. Handle the power cable and all mains voltage connections with particular caution!
- Never remove a warning or informative labels from the unit.
- Do not open the equipment and do not modify the unit.
- Do not connect this equipment to a dimmer pack.
- Do not switch the equipment on and off in short intervals, as this will reduce the system’s life.
- Only use the equipment indoors.
- Do not expose to flammable sources, liquids, or gases.
- Always disconnect the power from the mains when equipment is not in use or before cleaning! Only handle the power cable by the plug. Never pull out the plug by pulling the power cable.
- Make sure that the available mains supply voltage is between 100~240V AC, 50/60Hz.
- Make sure that the power cable is never crimped or damaged. Check the equipment and the power cable periodically.
- If the equipment has been exposed to drastic temperature fluctuation (e.g. after transportation), do not connect power or switch it on immediately.
The arising condensation might damage the equipment.
Leave the equipment switched off until it has reached room temperature. - Never touch the fixture during operation as it may be hot.
- If the equipment is dropped or damaged, disconnect the mains power supply immediately and have a qualified engineer inspect the equipment before operating again.
- If your product fails to function correctly, stop use immediately. Pack the unit securely (preferably in the original packing material), and return it to your Pro Light dealer for service.
- Only use fuses of the same type and rating.
- Repairs, servicing, and power connections must only be carried out by a qualified technician. THIS UNIT CONTAINS NO USER-SERVICEABLE PARTS.
- This lighting fixture is for professional use only – it is not designed for or suitable for household use. The product must be installed by a qualified technician in accordance with local territory regulations. The safety of the installation is the responsibility of the installer. The fixture presents risks of severe injury or death due to fire hazards, electric shock, and falls.
- Warning! Risk Group 2 LED product according to EN 62471. Do not view the light output with optical instruments or any device that may concentrate the beam.
- WARRANTY: Two years from the date of purchase.
OPERATING DETERMINATIONS
If this equipment is operated in any other way, than those described in this manual, the product may suffer damage and the warranty becomes void. Incorrect operation may lead to danger e.g: short-circuit, burns and electric shocks, etc.
Do not endanger your own safety and the safety of others!
Incorrect installation or use can cause serious damage to people and/or property.
Product overview & technical specifications
Virtuoso 2000 Fresnel RGBAL
The Virtuoso 2000 Fresnel is a bright and compact lighting fixture featuring an advanced RGBAL LED system that is suitable for many applications. HSIC colour management allows you to create almost any colour whilst the virtual colour wheel provides direct access to multiple colours along with a 2700K to 8000K colour temperature control. A motorised zoom with a 15° – 45° beam angle allows you to alter the beam providing designers with a very flexible fixture.
- 1 x 220W five-colour COB LED (RGB)
- Adjustable beam angle: 15°- 45°
- 15° – 6,151 Lux @ 2m (full on) 45° – 887 Lux @ 2m (full on)
- CRI ≥ 90
- Colour temperature: 2700K-8000K
- Refresh rate: 1.2kHz, 2kHz, 4kHz, 6kHz or 25kHz selectable
- DMX channels: 8/9/10/13 or 19 selectable
- RDM (Remote Device Management)
- 0 – 100% 8 or 16-bit dimming and variable strobe
- 4 dimming curves: Linear, square law, inverse square law and S-curve
- 4 push button menu with LCD display
- PowerCON input/output
- 5-Pin XLR input/output
- 3-Pin XLR input/output
- Temperature controlled fan for whisper-quiet operation
- Handle on the rear panel
- Filter frame included
| Specifications | Virtuoso 2000 Fresnel RGBAL |
| Power consumption | 235W |
| Fuse | T5A 250V |
| Power supply | 100~240V, 50/60Hz |
| Dimensions | 440 x 290 x 445mm |
| Weight | 7.6kg |
| Order code | ELUM135 |

| 15° – Lux FULL ON | 51848 | 12871 | 5720 | 3217 | 2059 |
| R | 13204 | 3301 | 1467 | 825 | 528 |
| G | 14280 | 3570 | 1586 | 892 | 571 |
| B | 2544 | 636 | 282 | 159 | 101 |
| A | 14644 | 3661 | 1627 | 915 | 585 |
| L | 26400 | 6600 | 2933 | 1650 | 1056 |
| 45° – Lux FULL ON | 6588 | 1647 | 732 | 411 | 263 |
| R | 1536 | 384 | 170 | 96 | 61.4 |
| G | 1676 | 419 | 186 | 104 | 67 |
| B | 267 | 66.9 | 29.7 | 16.7 | 10.7 |
| A | 1752 | 438 | 194 | 109 | 70 |
| L | 2980 | 745 | 331 | 186 | 119 |

Technical specifications


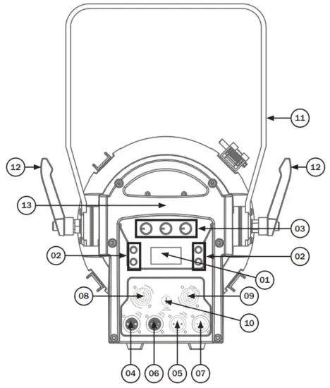
| 01 – LCD display 02 – Function buttons 03 – Rotary controls 04 – 3-Pin DMX input 05 – 3-Pin DMX output 06 – 5-Pin DMX input 07 – 5-Pin DMX output | 08 – PowerCON input 09 – PowerCON output 10 – Fuse F5A 250V 11 – Hanging bracket 12 – Hanging bracket adjustment knobs 13 – Carry handle |
In the box: 1 x fixture,
1 x filter frame,
1 x power cable
& 1 x user manual
Installation
Before installing the fixture, the supporting structure (ie. truss) must be able to hold a minimum of 10 times the fixture’s weight without any deformation (eg. 15kg – 150kg point load). The fixture must be secured with a secondary safety attachment when being installed (ie. an appropriate safety cable).
Never stand directly below the fixture when mounting, removing, and/or servicing.
Overhead installation requires experience and qualifications to calculate working load limits, the material being used at the installation area, and periodic safety inspections of the fixture and installation material. If you do not have the relevant experience and/or qualifications please do not attempt the installation yourself. The installation should be checked annually by a qualified person.
The eLumen8 Virtuoso 2000 Fresnel RGBAL can be operated in a number of mounting positions as shown in the diagram above, hanging upside-down from the ceiling or Russ, mounting sideways on a truss, or standing upright on a flat level surface. Always use a safety wire as an extra safety precaution to prevent damage/injury in the event a clamp fails (see the next page for clamp installation). Never use the carry handles for secondary attachments.
Installation:
- Fasten the clamp to the fixtures bracket with a bolt and lock nut through one of the mounting holes.
- Mount the fixture onto your truss system via the clamp and tighten it to ensure security.
- Pull the safety cable through the fixture bracket and around the truss.

Operating instructions
Control Panel Menu:
The LCD control panel situated on the rear of the fixture allows the user to access the menu system to adjust the fixtures settings.
When the unit has been powered on the display will show “eLumen8 Virtuoso 2000 Fresnel”. 
The fixture will then return to its home screen.
Please note: when the DMX signal is being received the display will show a small ‘ ’ icon on the top right.
Pressing the “ENTER” button once will take the user to the fixture’s main menu. Using the “UP” and “DOWN” buttons you can then navigate between the different options in the main menu. Pressing the “ENTER” button on one of these options allows you to access the sub-menu where you can use the “UP” and “DOWN” buttons to select the option/value required. Once the option/value has been selected press the “ENTER” button once more to confirm the setting. To exit out of any of the above options, press the “MENU” button.
Manual mode:
To access the DMX address mode, press the “ENTER” button and use the “UP” and “DOWN” buttons until “MANUAL MODE” is highlighted on the LCD display. Now press the “ENTER” button and use the “UP” and “DOWN” buttons to select the required mode.
Press the “ENTER” button to confirm the setting.
MODE 1 – Rotary controls will allow the adjustment of Dimmer, Zoom, and CCT.
MODE 2 – Rotary controls will allow the adjustment of Dimmer, Zoom, and Colour Preset.
MODE 3 – Rotary controls will allow the adjustment of Hue, Saturation, and Intensity.
MODE 4 – Rotary controls will allow the adjustment of Dimmer, CCT, and Tint.

Static color mode:
To access static color mode, press the “ENTER” button and use the “UP” and “DOWN” buttons until “STATIC” is highlighted on the LCD display. Press the “ENTER” button and use the “UP” and “DOWN” buttons to select the various options. Press the “ENTER” button and use the “UP” and “DOWN” buttons to select between “0” – “255” (Red, Green, Blue, Amber, Lime, and Zoom) or “0” – “25” (Strobe). Press the “ENTER” button to confirm the setting.
Preset color mode:
To access preset color mode, press the “MENU” button and use the “UP” and “DOWN” buttons until “PRESET COLOUR” is highlighted on the LCD display. Press the “ENTER” button and use the “UP” and “DOWN” buttons to select the various colors. Press the “ENTER” button to confirm the setting.
| L106 – Primary Red R05 – Rose Tint L194 – Surprise Pink R54 – Special Lavender L019 – Fire R08 – Pale Gold R89 – Moss Green R86 – Pea Green | L213 – White Flame Green R377 – Iris Purple R80 – Primary Blue L202 – Half C.T. Blue L328 – Follies Pink R3314 – Tough 1/4 Minusgreen L101 – Yellow L768 – Egg Yolk Yellow |

DMX address setting:
To access the fixture’s DMX address setting, press the “MENU” button and use the “UP” and “DOWN” buttons until “ADDRESS” is highlighted on the LCD display. Press the “ENTER” button and use the “UP” and “DOWN” buttons to select between “001” – “512”. Press the “ENTER” button to confirm the setting. 
Run mode setting:
To access the fixtures run mode setting, press the “MENU” button and use the “UP” and “DOWN” buttons until “RUN MODE” is highlighted on the LCD display. Press the “ENTER” button and use the “UP” and “DOWN” buttons to select between “DMX” or “SLAVE”. Press the “ENTER” button to confirm the setting. DMX – Use this setting when using via a DMX controller. SLAVE – Use this setting when using the fixture via master/slave.
Channel mode (personality) setting:
To access the fixtures channel mode (personality)setting, press the “MENU” button and use the “UP” and “DOWN” buttons until “PERSONALITY” is highlighted on the LCD display. Press the “ENTER” button and use the “UP” and “DOWN” buttons to select between “HSIC” (8 channels), “THEATRE” (9 channels), “SSP” (10 channels), “TOUR” (13 channel) or “TR16” (19 channel). Press the “ENTER” button to confirm the setting.
Settings menu:
To access the fixtures settings menu, press the “MENU” button and use the “UP” and “DOWN” buttons until “SETTING” is highlighted on the LCD display. Press the “ENTER” button. “Passcode” will now be displayed and a button press combination will need to be entered. To do this press the buttons in the following order; “UP”, “DOWN”, “UP”, “DOWN”, “ENTER”. You can now access the sub-menus as described below.
Upload setting:
This setting allows custom programs to be sent to Slave fixtures.
To access the fixtures upload setting, use the “UP” and “DOWN” buttons to select “UPLOAD”. Press the “ENTER” button. “Passcode” will now be displayed and a button press combination will need to be entered. To do this press the buttons in the following order; “UP”, “DOWN”, “UP”, “DOWN”, “ENTER”. The unit will display “SEND. . . ” and the front lens will illuminate yellow whilst exporting to the slave units. The front lens will turn green if the export has been completed successfully. If there are any problems whilst exporting the front lens will turn red.
Reset setting:
To access the fixtures reset setting, use the “UP” and “DOWN” buttons to select “RESET”. Press the “ENTER” button. “Passcode” will now be displayed and a button press combination will need to be entered. To do this press the buttons in the following order; “UP”, “DOWN”, “UP”, “DOWN”, “ENTER”. The unit will display “RESET. . . ” and the fixtures settings will return to the factory settings.
Dimming speed setting:
To access the dimming speed setting, use the “UP” and “DOWN” buttons to select “DIMMER”. Press the “ENTER” button and use the “UP” and “DOWN” buttons to select between “DIM4”, “DIM3”, “DIM2”, “DIM1”, and “OFF”. Press the “ENTER” button to confirm the setting. DIM1-DIM4 – Dimmer speed fast-slow. OFF – Dimmer speed off.
DMX fails to set:
To access the DMX fail setting, use the “UP” and “DOWN” buttons to select “DMX FAIL”. Press the “ENTER” button and use the “UP” and “DOWN” buttons to select between “SAVE” and “BLACK”. Press the “ENTER” button to confirm the setting. SAVE – The fixture will remember the last DMX signal. BLACK – The fixture will blackout when the DMX signal is lost.
Fan control setting:
This setting allows the performance of the cooling fan to be adjusted.
To access the fan control setting, use the “UP” and “DOWN” buttons to select “PERFORMANCE”. Press the “ENTER” button and use the “UP” and “DOWN” buttons to select between “LIVE”, “STUDIO” and “POWER”. Press the “ENTER” button to confirm the setting.
LIVE – This is the default performance mode. This provides a compromise between both output quality and noise level.
STUDIO – This is a noise-level performance model designed to operate at the lowest noise possible but with moderate output. POWER – This is an output performance mode designed to operate at full power with no consideration for the noise level.
MCON setting:
This setting allows the DMX data transfer to be set.
To access the MCON setting, use the “UP” and “DOWN” buttons to select “MCON”. Press the “ENTER” button and use the “UP” and “DOWN” buttons to select between “SELF”, and “MASTER”. Press the “ENTER” button to confirm the setting. SELF – DMX data transfer OFF. MASTER – DMX data transfer ON.

PWM rate setting (refresh rate):
This setting allows the refresh rate to be adjusted.
To access the PWM rate setting, use the “UP” and “DOWN” buttons to select “PWM RATE”. Press the “ENTER” button and use the “UP” and “DOWN” buttons to select between “1200Hz”, “2400Hz”, “4000Hz”, “6000Hz”, and “25000Hz”. Press the “ENTER” button to confirm the setting.
Power CCT setting (correlated color temperature):
This setting allows the color temperature to be adjusted.
To access the CCT setting, use the “UP” and “DOWN” buttons to select “POWER CCT”. Press the “ENTER” button and use the “UP” and “DOWN” buttons to select between “3200K”, “4200K”, “5600K”, “10000K”, and “NORMAL”. Press the “ENTER” button to confirm the setting.
XY Offset:
There is also an “XY OFFSET”, sub-menu within the settings menu this can be set between “HIDE” (default) and “SHOW”. When set to show this will display the XY OFFSET calibrations in some menus. These calibrations have been set when the fixture was being manufactured to ensure the color consistency throughout fixtures from different batches. These settings should NOT be changed. If these settings are accidentally changed then the “RESET” function can be used to reset them to the defaults (see page 11).
Safety lock setting:
To access the safety lock setting, press the “ENTER” button and use the “UP” and “DOWN” buttons until “KEY” is highlighted on the LCD display. Press the “ENTER” button and use the “UP” and “DOWN” buttons between “ON” and “OFF”. Press the “ENTER” button to confirm the setting. When this is set to ON, the passcode will need to be entered each time the display goes off. The passcode sequence is; “UP”, “DOWN”, “UP”, “DOWN”, “ENTER”.
Colour calibration setting:
To access the color calibration setting, press the “ENTER” button and use the “UP” and “DOWN” buttons until “CALIB.CCT” is highlighted on the LCD display. Press the “ENTER” button. “Passcode” will now be displayed and a button press combination will need to be entered. To do this press the buttons in the following order; “UP”, DOWN”, “UP”, “DOWN”, “ENTER”. Use the “UP” and “DOWN” buttons to select between “1800K”, “2200K”, “2700K”, “3000K”, “3200K”, “3500K”, “4000K”, “4200K”, “4500K”, “5600K”, “6000K”, “6500K”, “7200K” and “8000K”. Press the “ENTER” button to enter the selected menu. Now use the “UP” and “DOWN” buttons o select between “X FINE”, and “Y FINE” (these settings will adjust the tint of the CCT). Press the “ENTER” button and use the “UP” and “DOWN” buttons to adjust between “-200”, and “+200”. Press the “ENTER” button to confirm the setting. Please note: XY Offset must be set to show to adjust color calibration (see page 14).

Fixture information:
To access the fixture information press the “ENTER” button and use the “UP” and “DOWN” buttons until “INFO” is highlighted on the LCD display. Press the “ENTER” button and use the “UP” and “DOWN” buttons to select between “VERSION” and “RDM”. If VERSION is highlighted press the “ENTER” button and the version number and manufacture date will be displayed. If RDM is highlighted, press the “ENTER” button and use the “UP” and “DOWN” buttons to select between “UID” and “LABEL”. If UID is highlighted press the “ENTER” button and the fixtures RDM UID will be displayed. If LABEL is highlighted press the “ENTER” button and the model number will be displayed.

8 channel mode (HSIC):
| Channel | Value | Function |
| CH1 | 000-255 | Intensity (0-100%) |
| CH2 | 000-255 | Hue |
| CH3 | 000-255 | Hue fine |
| CH4 | 000-255 | Saturation |
|
CH5 | 000-010 | No function |
| 011-028 | 1800K | |
| 029-046 | 2200K | |
| 047-064 | 2700K | |
| 065-082 | 3000K | |
| 083-100 | 3200K | |
| 101-118 | 3500K | |
| 119-136 | 4000K | |
| 137-154 | 4200K | |
| 155-172 | 4500K | |
| 173-190 | 5600K | |
| 191-208 | 6000K | |
| 209-226 | 6500K | |
| 227-244 | 7200K | |
| 245-255 | 8000K | |
|
CH6 | 000-009 | No function |
| 010-099 | Strobe (slow-fast) | |
| 100-109 | No function | |
| 110-179 | Lightning strobe | |
| 180-189 | No function | |
| 190-255 | Random strobe | |
| CH7 | 000-255 | Zoom (narrow-wide) |
|
CH8 | 000-009 | Dimming mode (set in menu) |
| 010-029 | No function | |
| 030-069 | Dimming speed 1 | |
| 070-129 | Dimming speed 2 | |
| 130-189 | Dimming speed 3 | |
| 190-255 | Dimming speed 4 |
9 channel mode (THEATRE):
| Channel | Value | Function |
| CH1 | 000-255 | Master dimmer (0-100%) |
| CH2 | 000-255 | Dimmer fine (0-100%) |
| CH3 | 000-255 | Red (0-100%) |
| CH4 | 000-255 | Green (0-100%) |
| CH5 | 000-255 | Blue (0-100%) |
| CH6 | 000-255 | Amber (0-100%) |
| CH7 | 000-255 | Lime (0-100%) |
| CH8 | 000 | No function |
| 001-255 | Strobe (slow-fast) | |
| CH9 | 000-255 | Zoom (narrow-wide) |
10 channel mode (SSP):
| Channel | Value | Function |
| CH1 | 000-255 | Master dimmer (0-100%) |
| CH2 | 000-255 | Red (0-100%) |
| CH3 | 000-255 | Green (0-100%) |
| CH4 | 000-255 | Blue (0-100%) |
| CH5 | 000-255 | Amber (0-100%) |
| CH6 | 000-255 | Lime (0-100%) |
|
CH7 | 000-010 | No function |
| 011-020 | L106 – Primary Red | |
| 021-030 | R05 – Rose Tint | |
| 031-040 | L194 – Surprise Pink | |
| 041-050 | R54 – Special Lavender | |
| 051-060 | L019 – Fire | |
| 061-070 | R08 – Pale Gold | |
| 071-080 | R89 – Moss Green | |
| 081-090 | R86 – Pea Green | |
| 091-100 | L213 – White Flame Green | |
| 101-110 | R377 – Iris Purple | |
| 111-120 | R80 – Primary Blue | |
| 121-130 | L202 – Half C.T. Blue | |
| 131-140 | L328 – Follies Pink | |
| 141-150 | R3314 – Tough 1/4 Minusgreen | |
| 151-160 | L101 – Yellow | |
| 161-170 | L768 – Egg Yolk Yellow | |
| 171-255 | No function | |
|
CH8 | 000-009 | No function |
| 010-099 | Strobe (slow-fast) | |
| 100-109 | No function | |
| 110-179 | Lightning strobe | |
| 180-189 | No function | |
| 190-255 | Random strobe | |
| CH9 | 000-255 | Zoom (narrow-wide) |
|
CH10 | 000-009 | Dimming mode (set in menu) |
| 010-029 | No function | |
| 030-069 | Dimming speed 1 | |
| 070-129 | Dimming speed 2 | |
| 130-189 | Dimming speed 3 | |
| 190-255 | Dimming speed 4 |
13 channel mode (TOUR):
| Channel | Value | Function |
| CH1 | 000-255 | Master dimmer (0-100%) |
| CH2 | 000-255 | Red (0-100%) |
| CH3 | 000-255 | Green (0-100%) |
| CH4 | 000-255 | Blue (0-100%) |
| CH5 | 000-255 | Amber (0-100%) |
| CH6 | 000-255 | Lime (0-100%) |
|
CH7 | 000-010 | No function |
| 011-020 | L106 – Primary Red | |
| 021-030 | R05 – Rose Tint | |
| 031-040 | L194 – Surprise Pink | |
| 041-050 | R54 – Special Lavender | |
| 051-060 | L019 – Fire | |
| 061-070 | R08 – Pale Gold | |
| 071-080 | R89 – Moss Green | |
| 081-090 | R86 – Pea Green | |
| 091-100 | L213 – White Flame Green | |
| 101-110 | R377 – Iris Purple | |
| 111-120 | R80 – Primary Blue | |
| 121-130 | L202 – Half C.T. Blue | |
| 131-140 | L328 – Follies Pink | |
| 141-150 | R3314 – Tough 1/4 Minusgreen | |
| 151-160 | L101 – Yellow | |
| 161-170 | L768 – Egg Yolk Yellow | |
| 171-255 | No function | |
| CH8 | 000-010 | No function |
| 011-030 | Red (100%), Green (0-100%), Blue (0%) | |
| 031-050 | Red (100-0%), Green (100%), Blue (0%) | |
| 051-070 | Red (0%), Green (100%), Blue (0-100%) | |
| 071-090 | Red (0%), Green (100-0%), Blue (100%) | |
| 091-110 | Red (0-100%), Green (0%), Blue (100%) | |
| 111-130 | Red (100%), Green (0%), Blue (100-0%) | |
| 131-150 | Red (100%), Green (0-100%), Blue (0-100%) | |
| 151-170 | Red (100-0%), Green (100-0%), Blue (100%) |
13 channel mode (TOUR) cont.:
| Channel | Value | Function |
|
CH8 cont. | 171-195 | Full on (RGBAL) |
| 196-199 | 1800K | |
| 200-203 | 2200K | |
| 204-207 | 2700K | |
| 208-211 | 3000K | |
| 212-215 | 3200K | |
| 216-219 | 3500K | |
| 220-223 | 4000K | |
| 224-227 | 4200K | |
| 228-231 | 4500K | |
| 232-235 | 5600K | |
| 236-239 | 6000K | |
| 240-243 | 6500K | |
| 244-247 | 7200K | |
| 248-255 | 8000K | |
|
CH9 | 000-009 | No function |
| 010-099 | Strobe (slow-fast) | |
| 100-109 | No function | |
| 110-179 | Lightning strobe | |
| 180-189 | No function | |
| 190-255 | Random strobe | |
| CH10 | 000-255 | Zoom (narrow-wide) |
|
CH11 | 000-040 | No function |
| 041-060 | Auto 1 | |
| 061-080 | Auto 2 | |
| 081-100 | Auto 3 | |
| 101-120 | Auto 4 | |
| 121-140 | Auto 5 | |
| 141-160 | Auto 6 | |
| 161-180 | Auto 7 | |
| 181-200 | Auto 8 | |
| 201-220 | Auto 9 | |
| 221-255 | Auto 10 | |
| CH12 | 000-255 | Auto speed (slow-fast) |
|
CH13 | 000-009 | Dimming mode (set in menu) |
| 010-029 | No function | |
| 030-069 | Dimming speed 1 | |
| 070-129 | Dimming speed 2 | |
| 130-189 | Dimming speed 3 | |
| 190-255 | Dimming speed 4 |
19 channel mode (TR16):
| Channel | Value | Function |
| CH1 | 000-255 | Master dimmer (0-100%) |
| CH2 | 000-255 | Dimmer fine (0-100%) |
| CH3 | 000-255 | Red (0-100%) |
| CH4 | 000-255 | Red fine (0-100%) |
| CH5 | 000-255 | Green (0-100%) |
| CH6 | 000-255 | Green fine (0-100%) |
| CH7 | 000-255 | Blue (0-100%) |
| CH8 | 000-255 | Blue fine (0-100%) |
| CH9 | 000-255 | Amber (0-100%) |
| CH10 | 000-255 | Amber fine (0-100%) |
| CH11 | 000-255 | Lime (0-100%) |
| CH12 | 000-255 | Lime fine (0-100%) |
|
CH13 | 000-010 | No function |
| 011-020 | L106 – Primary Red | |
| 021-030 | R05 – Rose Tint | |
| 031-040 | L194 – Surprise Pink | |
| 041-050 | R54 – Special Lavender | |
| 051-060 | L019 – Fire | |
| 061-070 | R08 – Pale Gold | |
| 071-080 | R89 – Moss Green | |
| 081-090 | R86 – Pea Green | |
| 091-100 | L213 – White Flame Green | |
| 101-110 | R377 – Iris Purple | |
| 111-120 | R80 – Primary Blue | |
| 121-130 | L202 – Half C.T. Blue | |
| 131-140 | L328 – Follies Pink | |
| 141-150 | R3314 – Tough 1/4 Minusgreen | |
| 151-160 | L101 – Yellow | |
| 161-170 | L768 – Egg Yolk Yellow | |
| 171-255 | No function | |
|
CH14 | 000-010 | No function |
| 011-030 | Red (100%), Green (0-100%), Blue (0%) | |
| 031-050 | Red (100-0%), Green (100%), Blue (0%) | |
| 051-070 | Red (0%), Green (100%), Blue (0-100%) | |
| 071-090 | Red (0%), Green (100-0%), Blue (100%) |
19 channel mode (TR16) cont.:
| Channel | Value | Function |
|
CH14 cont. | 091-110 | Red (0-100%), Green (0%), Blue (100%) |
| 111-130 | Red (100%), Green (0%), Blue (100-0%) | |
| 131-150 | Red (100%), Green (0-100%), Blue (0-100%) | |
| 151-170 | Red (100-0%), Green (100-0%), Blue (100%) | |
| 171-195 | Full-on (RGBAL) | |
| 196-199 | 1800K | |
| 200-203 | 2200K | |
| 204-207 | 2700K | |
| 208-211 | 3000K | |
| 212-215 | 3200K | |
| 216-219 | 3500K | |
| 220-223 | 4000K | |
| 224-227 | 4200K | |
| 228-231 | 4500K | |
| 232-235 | 5600K | |
| 236-239 | 6000K | |
| 240-243 | 6500K | |
| 244-247 | 7200K | |
| 248-255 | 8000K | |
|
CH15 | 000-009 | No function |
| 010-099 | Strobe (slow-fast) | |
| 100-109 | No function | |
| 110-179 | Lightning strobe | |
| 180-189 | No function | |
| 190-255 | Random strobe | |
| CH16 | 000-255 | Zoom (narrow-wide) |
|
CH17 | 000-040 | No function |
| 041-060 | Auto 1 | |
| 061-080 | Auto 2 | |
| 081-100 | Auto 3 | |
| 101-120 | Auto 4 | |
| 121-140 | Auto 5 | |
| 141-160 | Auto 6 | |
| 161-180 | Auto 7 | |
| 181-200 | Auto 8 | |
| 201-220 | Auto 9 | |
| 221-255 | Auto 10 |
| Channel | Value | Function |
| CH18 | 000-255 | Auto speed (slow-fast) |
| CH19 | 000-009 | Dimming mode (set in menu) |
| 010-029 | No function | |
| 030-069 | Dimming speed 1 | |
| 070-129 | Dimming speed 2 | |
| 130-189 | Dimming speed 3 | |
| 190-255 | Dimming speed 4 |
DMX setup
Setting the DMX address:
The DMX mode enables the use of a universal DMX controller. Each fixture requires a “start address” from 1- 512. A fixture requiring one or more channels for control begins to read the data on the channel indicated by the start address. For example, a fixture that occupies or uses 7 channels of DMX and was addressed to start on DMX channel 100, would read data from channels: 100, 101, 102, 103, 104, 105, and 106. Choose a start address so that the channels used do not overlap. E.g. the next unit in the chain starts at 107.
DMX 512:
DMX (Digital Multiplex) is a universal protocol used as a form of communication between intelligent fixtures and controllers. A DMX controller sends DMX data instructions from the controller to the fixture. DMX data is sent as serial data that travels from fixture to fixture via the DATA “IN” and DATA “OUT” XLR terminals located on all DMX fixtures (most controllers only have a data “out” terminal).
DMX linking:
DMX is a language allowing all makes and models of different manufacturers to be linked together and operate from a single controller, as long as all fixtures and the controller are DMX compliant. To ensure proper DMX data transmission, when using several DMX fixtures try to use the shortest cable path possible. The order in which fixtures are connected in a DMX line does not influence the DMX addressing. For example; a fixture assigned to a DMX address of 1 may be placed anywhere in a DMX line, in the beginning, at the end, or anywhere in the middle. When a fixture is assigned a DMX address of 1, the DMX controller knows to send DATA assigned to address 1 to that unit, no matter where it is located in the DMX chain.
DATA cable (DMX cable) requirements (for DMX operation):
This fixture can be controlled via the DMX-512 protocol. The DMX address is set on the back of the unit. Your unit requires either a standard 3-pin or 5-pin XLR connector for data input/output, see images below.

Further DMX cables can be purchased from all good sound and lighting suppliers or Prolight Concepts dealers.
Please quote:
3-Pin: CABL185 – 2m CABL187 – 5m CABL188 – 10m
5-Pin: CABL10 – 2m CABL11 – 5m CABL12 – 10m
Also, remember that DMX cable must be daisy-chained and cannot be split.
Notice:
Be sure to follow the diagrams below when making your own cables. Do not connect the cable’s shield conductor to the ground lug or allow the shield conductor to come in contact with the XLRs outer casing. Grounding the shield could cause a short circuit and erratic behavior.
| Pin Configuration | |
| 3-Pin | 5-Pin |
| Pin 1 – Ground | |
| Pin 2 – Negative | |
| Pin 3 – Positive | |
| – | Pin 4 – N/C |
| – | Pin 5 – N/C |

Line termination:
When longer runs of cable are used, you may need to use a terminator on the last unit to avoid erratic behavior. Using a cable terminator will decrease the possibility of erratic behavior. (3-pin – Order ref: CABL90, 5-pin – Order ref: CABL89)
5-pin XLR DMX connectors:
Some manufacturers use 5-pin XLR connectors for data transmission in place of 3-pin. 5-pin XLR fixtures may be implemented in a 3-pin XLR DMX line. When inserting standard 5-pin XLR connectors in to a 3-pin line a cable adaptor must be used. The diagram below details the correct cable conversion.

Multiple fixture power linking
Power linking:
This fixture provides power linking via the power output on the rear allowing multiple units to be connected together. The maximum number of fixtures that can be connected is 6 fixtures @ 240V or 3 fixtures @ 120V (including the first fixture). After the maximum number of fixtures are connected a new power run will need to be started. Please note: Caution should be used when power linking other fixtures to the Virtuoso 2000 Fresnel as the power consumption of other fixtures will vary. Fixtures fitted with lamps often require 2/3 times more current on startup, these may require their own power source.

WEEE notice
Correct Disposal of This Product (Waste Electrical & Electronic Equipment)
(Applicable in the European Union and other European countries with separate collection systems)
This marking shown on the product or its literature indicates that it should not be disposed of with other household wastes at the end of its working life. To prevent possible harm to the environment or human health from uncontrolled waste disposal, please separate this from other types of waste and recycle it responsibly to promote the sustainable reuse of material resources.
Household users should contact either the retailer where they purchased this product, or their local government office, for details of where and how they can take this item for environmentally safe recycling.
Business users should contact their suppliers and check the terms and conditions of the purchase contract. This product should not be mixed with other commercial wastes for disposal.


















