Discovery Femto Microscopes
User Manual
Discovery Femto Microscopes
Zoom ran und hab Fun!
![]() | ![]() |
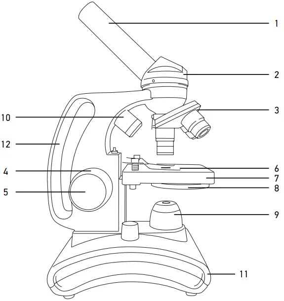
- Eyepiece
- Monocular head (eyepiece tube)
- Revolving nosepiece with objectives
- Coarse focusing knob
- Fine focusing knob
- Specimen holders
- Stage
- Diaphragm disk
- Lower illumination
- Upper illumination
- Base
- Carrying handle
- Illumination on/off button
- Power connector
- Brightness adjustment knob
General use
The Discovery Femto microscope is safe for the health, life, and property of the consumer and the environment when properly used, and meets the requirements of international standards. The microscope is designed for observing transparent and opaque objects in the transmitted and reflected light using the bright field method, for biological use and school presentations. May be used by kids over 10 years old.
Caution! Children should use the microscope under an adult’s supervision only.
Microscope parts
- Base. It supports the weight of the microscope and houses the illumination source, electronics, and control mechanisms.
- Eyepiece tube. Combines the eyepiece with the objectives system. Holds the eyepiece, Barlow lens (below the eyepiece), or a digital camera (in place of an eyepiece).
- Eyepiece and objective. Consists of lenses that allow for magnifying the image. The total magnification is calculated by multiplying the eyepiece magnification by the objective magnification.
- Revolving nosepiece. This triple nosepiece with 3 pre-installed objectives allows you to change objectives smoothly and easily.
- Stage. A sturdy and reliable stage with two specimen holders can be used to move your slides while observing them. The lower illumination light passes through the opening in the middle of the stage.
- Diaphragm disk. Is located below the stage and has apertures of various diameters to adjust the passing light rays. Rotate the disk to select the desired aperture.
- Focusing knobs. A coarse and fine focusing system allows for moving the stage up and down adjusting the sharpness of the specimen image.
- Upper and lower illumination. Battery or AC-powered LED illuminators. The upper illumination is used to observe opaque objects whereas the lower one allows for observing transparent objects. Use both illuminations to study semi-transparent objects. The brightness of the backlight is adjustable.
Using the microscope
Getting started
- Unpack the microscope and make sure all parts are available.
- Move the stage to the lowermost position using the focusing knob.
- Make sure the batteries are correctly installed in the battery compartment; insert new batteries if required. You can also plug the power cord into the microscope and then plug it into the power source.
- Insert the eyepiece into the eyepiece tube.
- For the digital camera model: you can attach the digital camera to the eyepiece tube instead of the eyepiece.
Focusing
- Place a specimen on the stage and fix it with the holders.
- Select the 4x objective rotating the revolving nosepiece.
- Move the specimen to place its thickest part exactly under the objective.
- Rotate the focusing knob to slowly raise the stage until the objective is close to the specimen; keep checking the distance between the objective and the object to avoid contact. Caution! The objective should not touch the specimen, otherwise, the objective or/and the specimen might be damaged.
- Look through the installed eyepiece and lower the stage slowly rotating the focusing knob until you see the specimen image.
- Such adjustment protects the frontal lens from contacting the object when you use objectives of other magnifications; though, slight refocusing might be required.
- The fine focusing mechanism allows you to focus on the observed specimen while using high magnifications.
- If the image is too bright, rotate the diaphragm disk until the passing light ray is reduced to a comfortable brightness level. If the image is too dark, select a larger aperture to increase the light ray.
Selecting the objective
Start your observations with the lowest magnification objective and select a specimen segment for detailed research. Then move the specimen to center the selected segment in the field of view, to make sure it keeps centered when the objective is changed to a more powerful one. Once the segment is selected, you should center its image in the microscope’s field of view as precisely as possible. Otherwise, the desired segment might fail to center in the field of view of the higher power objective. Now, you can switch to a more powerful objective by rotating the revolving nosepiece. Adjust the image focus if required.
Digital camera (for the digital model only)
The digital camera is installed in the eyepiece tube in place of the eyepiece. It allows you to observe specimens in fine detail and true colors on your PC monitor and save images on the hard drive. The software allows viewing and editing the object images.
| Megapixels | 3 |
| Max. resolution (for still images), pixels | 2048×1536 |
| Sensor | 1/2.7″ CMOS |
| Pixel size, μm | 2.2×2.2 |
| Frame rate, fps | 3@2048×1536 5@1600×1200 7.5@1280×1024 |
| Video recording | + |
| Image format | *.jpg, *.bmp, *.png, *.tif |
| Video format | *.wmv, *.avi |
| Exposure | ERS |
| Interface | USB 2.0, 480Mbit/s |
| System requirements | Windows XP (32-bit), Vista/7/8/10 (32-bit or 64-bit), Mac OS X, Linux, CPU IntelCore 2 or above, RAM 2GB, USB port 2.0, CD-ROM |
Specifications
| Biological model | Digital model | |
| Type | biological | biological, digital |
| Magnification, x | 40—400 | 40—400 |
| Head | monocular, 360° rotatable, inclined 45° | monocular, 360° rotatable, inclined 45° |
| Optics material | optical glass | optical glass |
| Body material | metal | metal |
| Eyepiece tube diameter, mm | 23.2 | 23.2 |
| Eyepieces | WF10x | WF10x |
| Revolving nosepiece | 3 objectives | 3 objectives |
| Objectives | achromatic: 4x, 10x, 40xs | achromatic: 4x, 10x, 40xs |
| Stage, mm | 90×90, with specimen holders | 90×90, with specimen holders |
| Stage moving range, mm | 0—10, vertical | 0—10, vertical |
| Focusing | coaxial, coarse (0.5mm), and fine (0.002mm) | coaxial, coarse (0.5mm), and fine (0.002mm) |
| Diaphragm disk | NA 0.65, diaphragm disc (6 holes) | NA 0.65, diaphragm disc (6 holes) |
| Illumination | LED; upper and lower illumination; with brightness adjustment | LED; upper and lower illumination; with brightness adjustment |
| Power source | 3*АА batteries or 110—240V, via AC adapter | 3*АА batteries or 110—240V, via AC adapter |
| Digital camera | — | 3 megapixels |
The manufacturer reserves the right to make changes to the product range and specifications without prior notice
Note: Batteries might be pre-installed in the battery compartment by the manufacturer.
Care and maintenance
- Never, under any circumstances, look directly at the Sun, another bright source of light, or at a laser through this device, as this may cause PERMANENT RETINAL DAMAGE and may lead to BLINDNESS.
- Take necessary precautions when using the device with children or others who have not read or who do not fully understand these instructions.
- After unpacking your microscope and before using it for the first time check for the integrity and durability of every component and connection.
- Do not try to disassemble the device on your own for any reason. For repairs and cleaning of any kind, please contact your local specialized service center.
- Protect the device from sudden impact and excessive mechanical force. Do not apply excessive pressure when adjusting focus. Do not overtighten the locking screws.
- Do not touch the optical surfaces with your fingers. To clean the device exterior, use only special cleaning wipes and special optics cleaning tools from Levenhuk. Do not use any corrosive or acetone-based fluids to clean the optics.
- Abrasive particles, such as sand, should not be wiped off lenses, but instead blown off or brushed away with a soft brush.
- Do not use the device for lengthy periods of time or leave it unattended in direct sunlight. Keep the device away from water and high humidity.
- Be careful during your observations, always replace the dust cover after you are finished with observations to protect the device from dust and stains.
- If you are not using your microscope for extended periods of time, store the objective lenses and eyepieces separately from the microscope.
- Store the device in a dry, cool place away from hazardous acids and other chemicals, away from heaters, open fires, and other sources of high temperatures.
- When using the microscope, try not to use it near flammable materials or substances (benzene, paper, cardboard, plastic, etc.), as the base may heat up during use, and might become a fire hazard.
- Always unplug the microscope from a power source before opening the base or changing the illumination lamp. Regardless of the lamp type (halogen or incandescent), give it some time to cool down before trying to change it, and always change it to a lamp of the same type.
- Always use the power supply with the proper voltage, i.e. indicated in the specifications of your new microscope. Plugging the instrument into a different power outlet may damage the electric circuitry of the microscope, burn out the lamp, or even cause a short circuit.
- Seek medical advice immediately if a small part of a battery is swallowed.
Battery safety instructions
- Always purchase the correct size and grade of battery most suitable for the intended use.
- Always replace the whole set of batteries at one time; taking care not to mix old and new ones or batteries of different types.
- Clean the battery contacts and also those of the device prior to battery installation.
- Make sure the batteries are installed correctly with regard to polarity (+ and –).
- Remove batteries from equipment that is not to be used for an extended period of time.
- Remove used batteries promptly.
- Never short-circuit batteries as this may lead to high temperatures, leakage, or explosion.
- Never heat batteries in order to revive them.
- Do not disassemble batteries.
- Remember to switch off devices after use.
- Keep batteries out of the reach of children, to avoid the risk of ingestion, suffocation, or poisoning.
- Utilize used batteries as prescribed by your country’s laws.
Levenhuk Warranty
Levenhuk products, except for their accessories, carry a 2-year warranty against defects in materials and workmanship. All Levenhuk accessories are warranted to be free of defects in materials and workmanship for six months from the purchase date. The warranty entitles you to the free repair or replacement of the Levenhuk product in any country where a Levenhuk office is located in all the warranty conditions are met.
For further details, please visit: www.levenhuk.com/warranty
If warranty problems arise or if you need assistance in using your product, please contact the local Levenhuk branch.
Discovery Sky Trip
Compact but powerful portable telescopes with coated optics, smartphone adapter, backpack, and an amazing knowledge book “Space. Non-Empty Emptiness”

© 2021 Discovery or its subsidiaries and affiliates. Discovery and related logos are trademarks of Discovery or its subsidiaries and affiliates, used under license. All rights reserved. Discovery.com
levenhuk.com
Levenhuk Inc. (USA): 928 E 124th Ave. Ste D,
Tampa, FL 33612, USA,
+1 813 468-3001,
[email protected]
Levenhuk Optics s.r.o. (Europe):
V Chotejně 700/7, 102 00 Prague 102,
Czech Republic, +420 737-004-919,
[email protected]
Levenhuk® is a registered trademark of Levenhuk, Inc.
© 2006—2021 Levenhuk, Inc. All rights reserved.
20210524
References
Discovery Channel Shows and Articles | Discovery
Levenhuk optical instruments store | Levenhuk - best optical equipment
Доживотна гаранция на Levenhuk – Официален уебсайт на Levenhuk в България
Levenhuk lifetime warranty details | Levenhuk - best optical equipment
Doživotní záruka společnosti Levenhuk – Oficiální webové stránky Levenhuk pro Českou republiku
Levenhuk Lebenslange Garantie – Die offizielle Website von Levenhuk in Deutschland
| Levenhuk, los mejores equipos ópticos
Levenhuk Lifetime Warranty – Levenhuk’s official website in Europe
A Levenhuk élettartamra szóló szavatossága – A Levenhuk hivatalos magyarországi weboldala
Gwarancja bezterminowa Levenhuk – Oficjalna witryna internetowa Levenhuk w Polsce
Поддержка - Гарантийное обслуживание Левенгук - Levenhuk Russia




















