levenhuk Discovery Artisan 32 Digital Microscope
Never, under any circumstances, look directly at the Sun, another bright source of light or at a laser through this device, as this may cause PERMANENT RETINAL DAMAGE and may lead to BLINDNESS.
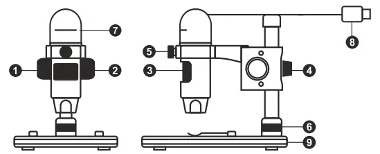
Microscope parts
- Coarse focus knob
- Focus lock knob
- Mount arm locking knob
- Locking screw
- Mount locking ring
- Fine focus knob
- Brightness adjustment wheel
- USB cable
- Stage

The kit includes a microscope, mount, Discovery Artisan installation CD, user guide, and calibration scale.
Microscope assembly
lake the microscope and all accessories out of the package. Place the stage ona stable surtace. Attach the mount locking ring (6) to the metal tube of the mount. Insert the metal tube into the opening on the stage and lock it in place with the ring (6). Insert the microscope into the clamp on the mount arm and tighten the locking screw (5). Tighten the locking knob (4) to lock the mount arm in place. Place a specimen on the stage and use the coarse focus knob (1) to focus your view. Use the fine focus knob (3) for maximum precision and sharpness. Upon focusing your view, tighten the focus lock knob (2) to lock the results.
MicroCapture Pro software
Insert the installation CD into your CD drive. The Main Menu window will be displayed. Click the Install MicroCapture Pro to install the application and follow the instructions on the screen. The installation CD contains a copy of this User Guide, which you can read by clicking the corresponding entry in the Main Menu. Connect the microscope to your PC with a USB cable and run the MicroCapture Pro application. A pop-up message will warn you if the microscope is not connected to the PC.
- Capture an image
- Start and stop video recording
- Sequence capture (you can set the time to begin capturing images or videos, intervals between them, video duration and the number of images or videos to be captured)
- Full-screen mode. To exit full-screen mode, press Escape on your keyboard or double-click anywhere on the screen
File
- Photos Directory: set a directory for captured images.
- Videos Directory: set a directory for recorded videos.
Options
- Resolution: set image resolution.
- Date/Time: hide or display date and time of capture during preview.
- Language: change the language of the user interface.
- Crossing: hide or display a grid on images.
- Full-screen mode: go full screen.
Capture
- Photo: capture an image.
- Video: record a video.

Capturing an image
Cick the corresponding icon on the toolbar or select Photo from the Capture menu.
Recording a video
click the corresponding icon on the toolbar or select Video from the Capture menu.
Sequence capture
Cuck the corresponding icon on the toolbar. A dialog window will appear where you can set a number of parameters for sequence capture. Click the Photo radio button to set the time to begin capturing images, the interval between them, and the total number of images. Click the Video radio button to set the time to begin recording videos, their duration, interval between them, and the total number of clips.
Calibrating
Before calibrating the microscope, turn the grid display on. To do so, select on from Options> Crossing.
By default, the grid iS VISible. Place the calibration scale on the stage and focus your view. Make sure that the vertical axis of the grid is parallel to scale divisions and capture an image. Double-click the image thumbnail to open it in a separate window.
Click the corresponding icon on the toolbar to begin calibration. Using your mouse, choose two points on the image (you have to know the actual distance between these two points). Once you choose the second point, a dialog window will open, where you have to enter the known distance in the Actual dimension field. The application will automatically calculate the magnification of the image. Click OK to close the dialog window. The calculated magnification will is displayed in the Magnification field.
Note: chosen points should form a horizontal line.
You can check calibration results by measuring the same distance with the Any Anggle Line tool.
Click the measurements icon, choose the Any Angle Line tool and draw a similar line on the image.
lf the measured distance is equal to the actual distance, calibration has been successful.
Recalibration
The calibration process has to be repeated if the magnification or focus has been changed during observations.
Click the corresponding icon on the toolbar again and select Reset picture magnification from Reset magnification. Repeat the calibration process, as described above. Change the magnification and capture a few images. Double-click one of the thumbnails to open the resulting image in a preview window. Click the calibration icon on the toolbar and select Set picture magnification from Set magnification. Enter the current magnification in the dialog window that appears click the calibration click icon you want to use the same magnification when capturing images in the future, CCK the calibration icon On the toolbar ana select set capture magnification from Se magnification.
Measurements
It is recommended to calibrate the system before proceeding with measurements.
Any Angle Line. Press and hold the left mouse button to start drawing a line.
Release the left mouse button to complete the line.
Continuous Line. Use this tool to draw a curve on the image and measure its length.
Radius Circle. Draw a straight line on the image. The application will automatically calculate the radius, as well as the circumference and area of the corresponding circle.
Diameter Circle. Draw a straight line on the image. The application will automatically calculate the diameter, as well as the circumference and area of the corresponding circle.
Three Points Angle. Place three points on the image with your mouse. The application will automatically calculate the angle value.
Draw and text
Micro Capture Pro allows you to add drawings and text boxes to your images. Open an image in a preview window and click the Pencil icon on the toolbar. Select one of the
tools from the drop-down menu and draw something on the image. By clicking the icon on the toolbar, you can edit font type and color to be used in text boxes.
Working with the application for Mac OS users
Browse to the mac folder on the installation CD and copy the MicroCapture Profile to the desktop. Use a USB cable to connect the microscope to your computer. Run the
MicroCapture Pro application by double-clicking its icon.
A magnified image of the observed specimen may be seen in the main window of the application. From the 0ptions menu, select Preview Size to set the image resolution.
Keep in mind that the preview window cannot be resized (the standard resolution is 640×480). The image resolution is shown in the bottom left corner of the preview window.
From the 0ptions menu, select Date/Time to display or hide the date and time of capture during a preview.
Click the corresponding icon on the toolbar or select Photo from the Capture menu to capture an image. An image thumbnail will appear on the right side of the main window.
Click the corresponding icon on the toolbar or select Video from the Capture menu to start recording a video. A video thumbnail will appear on the right side of the main
window.
Note: During recording, the camcorder icon on the toolbar will turn red. Click the icon again to stop recording.
Image and video thumbnails are displayed on the right side of the main window of the application.
Double-click an image thumbnail to open it in a separate preview window. Editing images with the MicroCapture Pro application is similar to working with other applications in Mac 0s.
Care and maintenance
Never, under any circumstances, look directly at the Sun, another bright source of light or at a laser through this device, as this may cause PERMANENT RETINAL DAMAGE and may lead to BLINDNESs. White LEDs are very bright; do not look at them as this may cause permanent damage to your vision. Take necessary precautions when using the device with children or others who have not read or who do not fully understand these instructions. After unpacking your microscope and before using it for the first time check for the integrity and durability of every component and connection. Do not try to disassemble the device on your own for any reason. For repairs and cleaning of any kind, please contact your local specialized service center. Protect the device from sudden impact and excessive mechanical force. Do not apply excessive pressure when
adjusting focus. Do not overtighten the locking screws. Do not touch the optical surfaces with your fingers. To clean the device exterior, use only special cleaning wipes and special optics cleaning tools from Levenhuk. Abrasive particles, such as sand, should not be wiped off lenses, but instead blown off or brushed away with a soft brush. Do not use the device for lengthy periods of time, or leave it unattended in direct sunlight. Keep the device away from water and high humidity. Be careful during your observations, always replace the dust cover after you are finished with observations to protect the device from dust and stains. If you are not using your microscope for extended periods of time, store the objective lenses and eyepieces separately from the microscope.
Store the device in a dry, cool place away from hazardous acids and other chemicals, away from heaters, open fires,s and other sources of high temperatures. To avoid data loss or equipment damage, always close the application first, and then disconnect the microscope from your PC. Wait until the illumination goes off completely, and disconnect the microscope. Seek medical advice immediately if a small part of a battery is swallowed.
Battery safety instructions
Always purchase the correct size and grade of battery most suitable for the intended use. Always replace the whole set of batteries at one time; take care not to mix old and new ones, or batteries of different types. Clean the battery contacts and also those of the device prior to battery installation. Make sure the batteries are installed correctly with regard to polarity (+ and-. Remove batteries from equipment that is not to be used for an extended period of time. Remove used batteries promptly. Never short-circuit batteries as this may lead to high temperatures, leakage, or explosion. Never heat batteries in order to revive them. Do not disassemble batteries. Remember to switch off devices after use. Keep batteries out of the reach of children, to avoid risk of ingestion, suffocation, or poisoning. Utilize used batteries as prescribed by your country’s laws.
Specifications
- Image sensor 5 Mpx
- Magnification 10-300x
- Available image resolutions 2592×1944, 2048×1536, 1600×1200, 1280×960
- Available video resolutions 2592×1944 (15fps); 2320×1744 (15fps); 2048×1536 (20fps);
- 1920×1080 (25fps); 1280×1 024 (30fps)
- Photo/video formatJpeg.av
- Focusing Manual, -15Umm
- Tlumination 8-LED system with variable brightness
- Power source usB2.0 cable
- Software language English, German, Spanish, Russian, Italian, French, Portuguese,
- Dutch, Polish, Japanese, Korean, Chinese
- Microscope dimensions 110mm x 33mm
- Mount dimensions 12mmx 118mmx 165mm
The manufacturer reserves the right to make changes to the product range and specifications without prior notice
System requirements
Operating system: Windows 7/8/10, Mac 10.12 and above
CPU: at least P4 1.8 GHz, RAM: 512 MB, interface: USB 2.0
Levenhuk Warranty
Levenhuk products, except for their accessories, carry a 10-year warranty against defects in materials and workmanship. Al Levenhuk accessories are warranted to be free of defects in materials and workmanship for six months from the purchase date. The warranty entitles you to the free repair or replacement of the Levenhuk product in any country where a Levenhuk office is located if all the warranty conditions are met.
For further details, please visit: www.levenhuk.com/warranty
If warranty problems arise or if you need assistance in using your product, please contact the lOcal Levennuk branch.
References
Discovery Channel Shows and Articles | Discovery
Levenhuk optical instruments store | Levenhuk - best optical equipment
Доживотна гаранция на Levenhuk – Официален уебсайт на Levenhuk в България
Levenhuk lifetime warranty details | Levenhuk - best optical equipment
Doživotní záruka společnosti Levenhuk – Oficiální webové stránky Levenhuk pro Českou republiku
Levenhuk Lebenslange Garantie – Die offizielle Website von Levenhuk in Deutschland
| Levenhuk, los mejores equipos ópticos
Levenhuk Lifetime Warranty – Levenhuk’s official website in Europe
A Levenhuk élettartamra szóló szavatossága – A Levenhuk hivatalos magyarországi weboldala
Gwarancja bezterminowa Levenhuk – Oficjalna witryna internetowa Levenhuk w Polsce
Поддержка - Гарантийное обслуживание Левенгук - Levenhuk Russia






















