DRUM FANS
70045, 58330, 03365, 03368.
Stock No. 70045 shown
User Manual
![]()

70045 Drum Fans
These are the original product instructions. This document is part of the product; retain it for the life of the product, passing it on to subsequent holders. Read this manual in full before attempting to assemble, operate, or maintain this product.
This Draper Tools manual describes the purpose of the product and contains all the necessary information to ensure its correct and safe use. Following all the instructions and guidance in this manual will ensure the safety of both the product and the operator and increase the lifespan of the product.
All photographs and drawings within this manual are supplied by Draper Tools to help illustrate correct operation of the product.
Every effort has been made to ensure the information contained in this manual is accurate. However, Draper Tools reserves the right to amend this document without prior warning. Always use the latest version of the product manual.
INTRODUCTION
1.1 SCOPE
This product is a high-efficiency drum fan for air circulation in office and workshop environments. Wheels are provided for increased mobility.
Part of our core range, this product is suitable for enthusiasts and tradespersons alike. Any application other than for which it was intended is considered misuse.
Local regulations may restrict the age of the operator.
1.2 UNDERSTANDING THIS MANUALS SAFETY CONTENT:
Warning! – Information that draws attention to the risk of injury or death.
Caution! – Information that draws attention to the risk of damage to the product or surroundings.
1.3 EXPLANATION OF SYMBOLS
Warning!
Important: Read instruction manuals before operating and servicing this equipment.
For indoor use.
Do not expose to rain.
Rated voltage
Motor capacity (Watts). (example of icon)
Machine weight. (example of icon)
WEEE –
Waste Electrical & Electronic Equipment.
Do not dispose of Waste Electrical & Electronic Equipment in with domestic rubbish.
Class 1 appliance (Must be earthed).
Energy related Products.
UK Conformity Assessed.
European conformity.
SPECIFICATION
2.1 SPECIFICATION
Stock No. …………………………………………………….. 70045
Part No. ……………………………………………………… HV24A
Rated voltage ………………………………………… 230V~50Hz
Rated input ………………………………………………..120.15W
Fan diameter Ø ……………………………………. 610mm (24″)
Guard diameter Ø………………………………. 670mm (26.3″)
Speed Settings ……………………………………………………… 3
Air flow (high) ………………………………………….. 158m³/min
Noise level (max) ……………………………………….72.7dB(A)
Weight (nett) ……………………………………………….. 11.33kg
Stock No. …………………………………………………….. 58330
Part No. ……………………………………………………… HV30A
Rated voltage ………………………………………… 230V~50Hz
Rated input ………………………………………………..124.60W
Fan diameter Ø ……………………………………. 760mm (30″)
Guard diameter Ø………………………………. 830mm (32.7″)
Speed Settings ……………………………………………………… 3
Air flow (high) ………………………………………….. 172m³/min
Noise level (max) ……………………………………..73.32dB(A)
Weight (nett) …………………………………………………. 14.8kg
Stock No. …………………………………………………….. 03365
Part No. ………………………………………………….. HV24110
Rated voltage ………………………………………… 110V~50Hz
Rated input ………………………………………………..120.15W
Fan diameter Ø ……………………………………. 610mm (24″)
Guard diameter Ø………………………………. 670mm (26.3″)
Speed Settings ……………………………………………………… 3
Air flow (high) ……………………………………….. 162.5m³/min
Noise level (max) ……………………………………….73.2dB(A)
Weight (nett) ……………………………………………….. 11.33kg
Stock No. …………………………………………………….. 03368
Part No. ………………………………………………….. HV30110
Rated voltage ………………………………………… 110V~50Hz
Rated input ………………………………………………..124.60W
Fan diameter Ø ……………………………………. 760mm (30″)
Guard diameter Ø………………………………. 830mm (32.7″)
Speed Settings ……………………………………………………… 3
Air flow (high) ……………………………………….. 172.6m³/min
Noise level (max) ……………………………………….73.8dB(A)
Weight (nett) …………………………………………………. 14.8kg
HEALTH AND SAFETY INFORMATION
3.1 HEALTH AND SAFETY FOR FANS
Warning! – Please read the following instructions carefully; failure to do so could lead to serious personal injury.
Draper Tools Ltd recommends that this fan is not modified or used for any application other than that for which is was designed. If you are unsure of its intended applications, do not hesitate to contact us and we will advise you.
- Keep out of reach of children.
- Ensure that the fan is situated and used in an area free from loose furnishings, clothing, curtains etc that could get sucked in to the fan air inlet, or could block the fan blades.
- Do not leave the fan running unattended.
- Ensure the fan is situated and used in an area free from dust and ash that could be sucked up and cause air pollution. This will also damage the motor.
- Disconnect the fan from the power supply and allow the blades to stop turning before moving, adjusting or servicing it, or carrying out any maintenance.
- Complete any assembly procedures prior to connection to the power supply.
- Never insert fingers, pencils, or any other object through the protective grille while the fan is running.
- Ensure the fan is switched off, disconnected from the power supply, and that the blades have stopped turning before removing the grille.
- Always complete the assembly of the fan before switching it on after cleaning.
- Always ensure the fan is secure on a firm and level surface before operating.
- Do not use the fan near an open window, as rain can create an electrical hazard.
- If the power supply cable becomes damaged, it should be replaced immediately.
- If replacement of the supply cord is necessary, this should be carried out by the manufacturer or appropriate agent in order to avoid a safety hazard.
- Do not use this fan with an independent externally connected speed control device.
- Do not cover the fan when it is in use.
- Do not use in close proximity to a bath, shower or swimming pool.
3.2 CONNECTION TO THE POWER SUPPLY
Caution: Risk of electric shock. Do not open.
This appliance is supplied with an approved plug and cable for your safety. The value of the fuse fitted is marked on the pin face of the plug. Should the fuse need replacing, ensure the substitute is of the correct rating, approved to BS1362 and ASTA or BS Kite marked.
ASTA ![]()
BSI ![]()
Make sure the power supply information on the machine’s rating plate are compatible with the power supply you intend to connect it to.
If a replacement plug is to be fitted this must be carried out by a qualified electrician.
The damaged or incomplete plug, when cut from the cable shall be disabled to prevent connection to a live electrical outlet.
This appliance is Class I † and is designed for connection to a power supply matching that detailed on the rating label and compatible with the plug fitted.
If an extension lead is required, use an approved and compatible lead rated for this appliance. Follow all the instruction supplied with the extension lead.
† Earthed:
This product requires an earth connection to protect against electric shock from accessible conductive parts in the event of a failure of the basic insulation.
Important: If using an extension lead, follow the instructions that came with your lead regarding maximum load while cable is wound. If in doubt, ensure that the entire cable is unwound. Using a coiled extension lead will generate heat which could melt the lead and cause a fire.
UNPACKING AND CHECKING
4.1 PACKAGING
Carefully remove the product from the packaging and examine it for any sign of damage. Check contents against the parts shown in Fig A. If any part is damaged or missing, please contact the Draper Help Line (see section 9). Do not attempt to use the product!
The packaging material should be retained during the warranty period in case the product needs to be returned for repair.
Warning!
- Some of the packaging materials may be harmful to children. Do not leave any of these materials in reach of children.
- If any of the packaging is to be thrown away, make sure they are disposed of correctly, according to local regulations.
IDENTIFICATION – FIG.A

| (1) Front grille (2) Fan blade (3) Tubular base (4) Handle | (5) Switch box (6) Wheels (7) Power lead (8) Rear grille |
FIG.A
Note: For details of our full range of accessories and consumables, please visit drapertools.com
ASSEMBLY INSTRUCTIONS
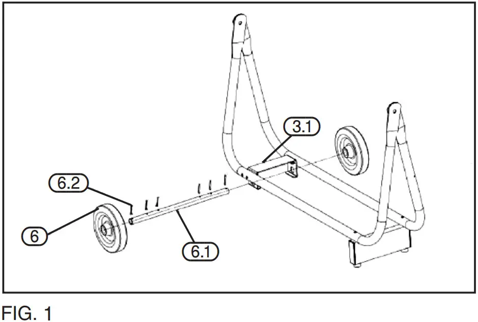
6.1 ATTACH WHEELS – FIG. 1
Important: Read all Health and Safety instructions before assembling this product.
- Insert the axle (6.1) through the holes of the support bracket (3.1).
- Insert bolts (6.2) into the four innermost holes of the axle to secure it in place.
- Slide a washer, then a wheel (6) and then a washer onto each end of the axle and push them up to the bolt.
- Insert bolts into the remaining holes at either end of the axle to secure the wheels in place.

OPERATION
Important: Always ensure the fan is switched off, the mains plug is disconnected from the power supply and that the fan blade has stopped rotating before moving.
Before plugging in your tool, make sure the socket voltage matches that on the product plate. If the socket voltage does not match that shown on the type plate, it can result in a serious hazard and damage to your tool.
7.1 3 SPEED CONTROL – FIG. 2
Push button speed selection: 0= Off, 1= Slow, 2=Medium, 3= Fast.
7.2 TILTING – FIG. 3
To adjust the angle and direction, tilt the fan by gently pushing or pulling on the top of the fan housing.
DO NOT exert excess pressure or damage to the fan may occur.
MAINTENANCE
8.1 MAINTENANCE
- Before cleaning, always switch off and unplug the fan, and allow the blades to stop rotating.
- All plastic components should be cleaned with a damp cloth. DO NOT spray with water/cleaning agents or immerse the fan unit in water.
- Warning! Ensure that any water and/or cleaning detergent DOES NOT enter the motor housing or switch mechanism.
- Ensure that the unit is clean, dry and correctly assembled after cleaning and before every use.
WARRANTY
9.1 WARRANTY
Draper tools have been carefully tested and inspected before shipment and are guaranteed to be free from defective materials and workmanship.
Should the tool develop a fault, please return the complete tool to your nearest distributor or contact:
Draper Tools Limited
UK: Chandler’s Ford, Eastleigh, Hampshire, SO53 1YF. England.
EU: Oude Graff 8, 6002 NL Weert (NL).
Telephone Sales Desk: +44 (0)23 8049 4333 or: Product Helpline +44 (0)23 8049 4344.
A proof of purchase must be provided.
If upon inspection it is found that the fault occurring is due to defective materials or workmanship, repairs will be carried out free of charge. This warranty period covering labour/parts is 12 months from the date of purchase except where tools are hired out when the warranty period is 90 days from the date of purchase. This warranty does not apply to any consumable parts, any type of battery or normal wear and tear, nor does it cover any damage caused by misuse, careless or unsafe handling, alterations, accidents, or repairs attempted or made by any personnel other than the authorised Draper warranty repair agent.
Note: If the tool is found not to be within the terms of warranty, repairs and carriage charges will be quoted and made accordingly.
This warranty applies in lieu of any other warranty expressed or implied and variations of its terms are not authorised.
Your Draper warranty is not effective unless you can produce upon request a dated receipt or invoice to verify your proof of purchase within the warranty period.
Please note that this warranty is an additional benefit and does not affect your statutory rights.
Draper Tools Limited.
DISPOSAL
10.1 DISPOSAL
Ensure that the machine is disposed of according to national regulations at the end of its working life or when it can no longer be repaired.
DO NOT:
- Dispose of power tools with domestic waste.
- Incinerate.
- Abandon in the environment.
- Dispose of WEEE as unsorted municipal waste.
![]()
NOTES —————

















