SECURE 5-Light Chandelier Instruction Manual
PACKAGE CONTENTS

| PART | DESCRIPTION | QTY. |
| A | Canopy | 1 |
| B | Mounting Bracket | 1 |
| C | Threaded Nipple | 1 |
| D | Hex Nut | 3 |
| E | Socket | 5 |
| F | Coupling | 1 |
| G | rings | 6 |
| H | Screw Collar Ring | 1 |
| I | Screw Collar Loop | 1 |
| J | Fixture Loop | 1 |
| K | Chain | 1 |
| L | Latch | 6 |
| M | Chain | 3 |
| N | Lamp body | 1 |
HARDWARE CONTENTS
- Wire Connector Qty: 3

- Short Machine Screw Qty: 2

SAFETY INFORMATION
Please read and understand this entire manual before attempting to assemble, operate or install the product.
! WARN ING
- MPORTANT: NEVER attempt any work without shutting off the electricity.
- Place the main power switch in the “OFF” position and unscrew the fuse(s), or switch “OFF” the circuit breaker switch(es), that control the power to the fixture or room you are working in.
- Place the wall switch in the “OFF” position. If the fixture to be replaced has a switch or pull chain, place it in the “OFF” position.
- Do not use bulbs with wattage greater than specified on this fixture.
- California Prop. 65: This lighting fixture contains chemicals known to the state of California to cause cancer, birth defects, and/or other reproductive harm. Wash hands after use.
CAUTION
- If you have any doubts about how to install this lighting fixture, or if the fixture fails to operate completely, please contact a licensed electrical contractor.
- All parts must be used as indicated in these instructions. Do not substitute any parts, leave parts out, or use any parts that are worn out or broken. Failure to obey this instruction could invalidate ETL listing and/or C.S.A certification of this fixture
PREPARATION
Before beginning assembly of product, make sure all parts are present. Compare parts with package contents list and hardware contents list. If any part is missing or damaged, do not attempt to assemble the product.
Estimated assembly time: 30 minutes to 1 hour
Tools Required for Assembly (not included): Phillips screwdriver, flathead screwdriver, wire strippers, electrical tape, ladder, safety glasses.
ASSEMBLY INSTRUCTIONS
- rings (G). Lamp body (N)

Note: The lifting ring is tightened on the lamp body. - Chain (M) Latch ( L) rings ( G)

Note: Hang the lock catch in the ring 1n turn. - Screw fixture lo op (J) onto coupling (F).

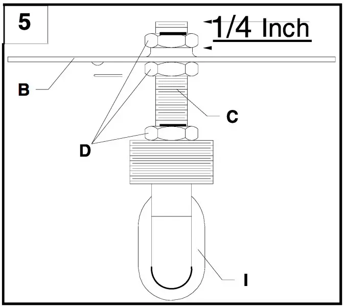
Note: The electrical cable will need to get pulled through the individual parts as they are installed on this and later steps. - Position threaded nipple (C) in mounting bracket (8) so when mounted:

- The threaded nipple (C) will protrude a minimum of 1 /4 inch beyond the raised center portion of the mounting bracket (B).
- The threaded nipple (C) height is positioned so 1/2 the exterior threads of the screw collar loop (I) will extend past the canopy (A) when it is mounted.
Note: Canopy is only needed to determine the position of the threaded nipple and fixture loop. It will be installed later.
- Once the proper position of the threaded nipple (C) a d mounting bracket (B) has been determined, secure with hex nuts (D) as follows:

- Screw one hex nut (D) onto the threaded nipple (C) and tighten against the raised portion of the mounting bracket (8).
- Screw another hex nut (D) onto the threaded nipple (C) and tighten against the flat portion of the mounting bracket (8).
- Screw the remaining hex nut (D) onto threaded nipple (C) and tighten against the screw collar loop (1)
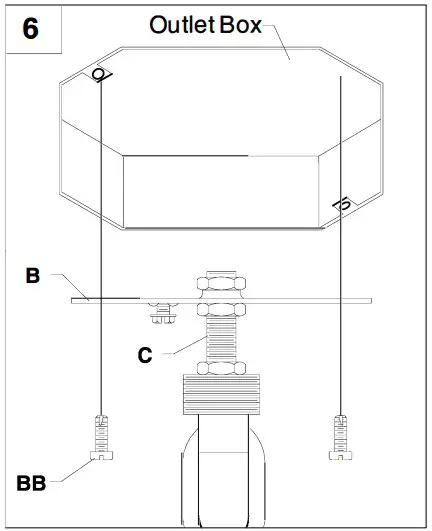
- Connect mounting bracket (8) to the outlet box with short machine screws (BB)

Hard ware Used
BB Short Machine Screw
- Thread chain (K) though screw collar ring (H) and canopy (A). Using the open chain links on chain (K), attach one end to screw collar loop (I) and the other end to upper fixture loop (J). Weave the fixture electrical and ground wires through every other chain link and pass through threaded nipple (C) into outlet box. Lower the screw collar ring (H) and canopy (A) over the chain (K).

- Wire connection guide:
Ground wire:
- For installation in the United States: Wrap ground wire from outlet box around ground screw preassembled on mounting bracket (B) no less than 2 in. from wire end. Tighten ground screw. If fixture is supplied with a ground wire, connect to outlet ground wire with a wire connector (AA).
- For installation in Canada: If fixture is supplied with ground wire, wrap ground wire around ground screw on mounting bracket (B). Tighten ground screw. Connect fixture ground wire to outlet ground wire with the wire connector (AA).
Supply wires: - Connect the Neutral (White) supply wire from the outlet box to the Neutral fixture wire (White or Parallel Cord “D” shaped and ribbed).
- Connect the Hot (Black) supply wire from the outlet box to the Hot fixture wire (Black or Parallel Cord round and smooth).
NOTE:
Fixture wires will either be: - Black and White .
- Parallel Cord SPT-1 lamp wire with one round smooth wire and one “D” shaped ribbed wire
Har d ware Used
AA Wire Connector
- Pass canopy (A) over the screw collar loop (I). Attach screw collar ring (H) to screw collar loop (I) to secure canopy (A).

- Insert 40-watt max. candelabra-base incandescent bulb or CFL/LED equivalent (none included) into socket (E).

CARE AND MAINTENANCE
- Always be certain that electric current is turned off before cleaning this item .
- Use a soft, moist cloth with mild non-abrasive soap to clean fixture. Never use glass cleaner on fixture, as it will damage the metal finish .
- All glass shades may be washed in a towel-lined sink with warm water and mild soap. Do not wash shades in an automatic dishwasher.
TROU BLESHOOTI NG
| PROBLEM | POSSIBLE CAUSE | CORR ECTIVE ACTION |
| Fixture does not light |
|
|
WARRANTY
We warrants that its products will be free from defects in material and workmanship for one (1) year from the date of purchase by the Original Purchaser.
To replace a product that has a warranted defect, the Original Purchaser shall return any allegedly defective parts or products to the authorized warehouse that the product was purchased from with PROOF OF PURCHASE, Original Purchaser’s name and return address and a description of the claimed product defect.
If any of the warranted products are found , in its sole discretion, to be defective, such products will, at sole option and cost, be replaced, repaired or refunded less an amount directly attributable to Original Purchaser’s prior use of the product. will return the repaired or replaced product prepaid freight. This warranty does not cover labor or other costs or expenses to remove or install any defective, repaired or replaced product.
The parties here to expressly agree that Original Purchaser’s sole and exclusive remedy against shall be for the repair, replacement or refund of defective products as provided here in. This warranty extends only to product ownership by the Original Purchaser; is not transferable whether to heirs, subsequent owners, or otherwise; and is void if the Original Purchaser ceases to own the product.
This warranty does not apply to any products that have been subjected to misuse, mishandling, misapplication, connected to voltage at more than 5% above standard North American voltage, unusual use (including but not limited to use in an environment where the annual average ambient operating temperature is below 27 or above 95 degrees Fahrenheit), neglect (including but not limited to improper maintenance), accident, acts of god such as high winds, improper installation or care, failure to follow the Product’s written instructions for normal use and care, improper packaging of products returned , modification (including but not limited to use of unauthorized parts or attachments), or adjustment or repair. Significant product exposure to chemicals, harsh cleaners, salt water or salt air will void any and all warranties on exterior finishes. This warranty only applies when all components, including transformers, have been provided by. Substituting another manufacturer’s product and/or components will render the warranty completely void.
THIS WARRANTY GIVES YOU SPECIFIC LEGAL RIGHTS. YOU MAY ALSO HAVE OTHER RIGHTS, WHICH VARY FROM STATE TO STATE. SOME STATES DO NOT ALLOWLIMITATIONS ON HOW LONG AN IMPLIED WARRANTY LASTS OR THE EXCLUSION OR LIMITATION OF INCIDENTAL OR CONSEQUENTIAL DAMAGES SO THE ABOVE LIMITATIONS OR EXCLUSIONS MAY NOT APPLY TO YOU.
THE FOREGOING WARRANTY IS IN LIEU OF ALL OTHER WARRANTIES, EXPRESS OR IMPLIED, INCLUDING THOSE OF MERCHANTABILITY, FITNESS FOR ANY PARTICULAR PURPOSE OR INFRINGEMENT. ORIGINAL PURCHASER SHALL IN NO EVENT BE ENTITLED TO, AND SHALL NOT BE LIABLE FOR, INDIRECT, SPECIAL, INCIDENTAL OR CONSEQUENTIAL DAMAGES OF ANY NATURE, INCLUDING, BUT NOT LIMITED TO LOSS OF PROFIT, PROMOTIONAL AND/OR MANUFACTURING EXPENSES, OVERHEAD, INJURY TO REPUTATION AND/OR LOSS OF CUSTOMERS






























