
Jandy Never Lube Two Way CPVC Valve Instruction Manual

WARNING
FOR YOUR SAFETY – This product must be installed and serviced by a contractor who is licensed and qualified in pool equipment by the jurisdiction in which the product will be installed where such state or local requirements exist. The maintainer must be a professional with sufficient experience in pool equipment installation and maintenance so that all of the instructions in this manual can be followed exactly. Before installing this product, read and follow all warning notices and instructions that accompany this product. Failure to follow warning notices and instructions may result in property damage, personal injury, or death. Improper installation and/or operation will void the warranty.
PLUMBING
One valve is designed for both 2″ and 2½” pipe. 2″ pipe slip fits into valve ports. 2½” pipe is joined using 2½” pipe coupler. 45° or 90° fitting. See drawing on this page.
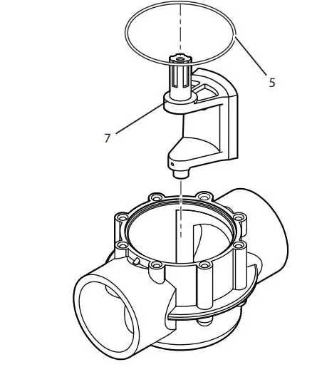
Internal valve assembly must be removed prior to gluing valve body to pipe fittings.
Make certain no glue enters valve body beyond ports.
WELD-ON® CPVC GRAY IS RECOMMENDED.
VALVE HANDLE USE
Lock Knob – Loosen lock knob to turn handle. To secure handle, turn knob down finger tight. See drawing on this page.
Off Indicator – OFF area on indicator represents exact position of internal valve diverter seal.
Handle Stops – Protruding pins located on valve cover will stop diverter in complete port shut-off position. Be sure the word “INLET” on valve cover is over incoming flow port.word “INLET” on valve cover is over the incoming flow port.

Valve Complete, Positive Seal, 4716

NOTE The valve housing is not available as a separate part. To replace the valve housing, you must replace the entire valve.

Item #7. Diverter Assembly Complete with Knob
NOTE Item 7 (Part 4720) includes a Pipe Plug P-18, but you can discard it, because you do not need it with this valve.


Zodiac Pool Systems LLC
2882 Whiptail Loop East #100, Carlsbad, CA 92010
1.800.822.7933 | www.Jandy.com
©2019 Zodiac Pool Systems LLC. ZODIAC® is a registered trademark of Zodiac
International, S.A.S.U., used under license. All trademarks referenced herein are the property of their respective owners.
Read More About This Manual & Download PDF:



















