
MTFDC-84RC
Dual Position Midi Tower Fan
with DC motor
User manual
www.nsauk.com

Welcome
With a clear focus on new technologies, innovation, and design, NSA UK has played a leading role in the Air Improvement industry for over 20 years. NSA UK uses the latest technologies to maximize consumer benefits with energy-saving DC motors and cordless rechargeability at the forefront. Boasting 8 Quiet Mark accreditations, NSA UK is the leading brand for build quality & exceptionally quiet performance.
![]()
Contents
Thank you for purchasing this Dual Position Midi-Tower Fan with energy-saving DC motor, LED Display, 8 speeds, 8hr Timer, and Remote Control. Please read this instruction manual before using your Midi-Tower Fan for the first time.
| Box Contents | 4 |
| Parts Description | 5 |
| Controls | 6 |
| Operation Guide | 7 |
| Remote Operation | 13 |
| Cleaning & Care | 15 |
| Annual Maintenance | 16 |
| Recycling & Disposal | 17 |
| Tips & Troubleshooting | 18 |
| Safety | 19 |
| Technical Data | 20 |
Keep safe for future reference.
What’s included

Included in the box you will find:
- Dual Position Midi-Tower Fan
- Remote Control
- CR2032 cell battery (for remote control)
- User guide
- Power adapter & cord
Unpack all items from the box, plug in the adaptor to the mains supply, connect to the power cord connector at the back of the fan, turn on the mains and you are all set.
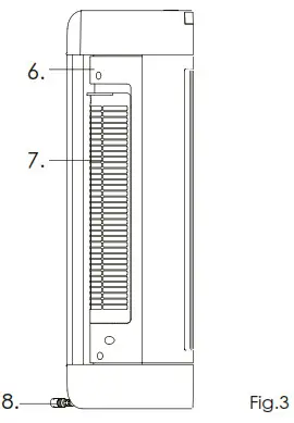
Parts Description

Front view
- LED Display Screen & RC Receiver
- Front Grille (Air outflow)
- Oscillation Base (in Vertical position)
- Oscillation Base (in Horizontal position) & Carry Handle
- Fan casing – front panel
Side view - Securing Screw (access to washable drum – see maintenance page 15)
- Back Grill (Air intake)
- Power Cord Connector

Controls
Manual controls
- On / Off
- Speed (increase only) / Hours (increase only)
- Timer / Pre-Set Timer
- Oscillation
Display - Sleep mode icon
- Breeze mode icon
- LED Display for Timer & Speed settings



Remote control - On / Off
- Oscillation
- Decrease – Speed / Timer
- Increase – Speed / Timer
- Timer / Pre-Set timer
- Mode Selection – Breeze / Sleep
- Silent Option – Mute Beep
Operation guide
![]()
On/Off
Press ON/OFF once to turn on the unit and press again to turn off. If the fan is on and the display is off – pressing the ON/OFF button once will only turn ON the display – press the ON/OFF button a second time to turn off the fan.
![]()
Oscillation (OSC)
Using the manual controls or the remote control, press OSC once to activate the oscillation feature, for wide distribution of air. Press OSC button again to stop oscillation function.
This Dual Position Midi-Tower fan will oscillate horizontally in the upright position on a desk or the floor and it can be laid down on the parallel bars for a vertical swing of air.

Fig.7

![]()
Speed
When first connected to the main supply, the fan will start at Speed 1. In subsequent uses, the fan will remember the previous setting until disconnected from the main supply. Press the Speed/Hours button on the manual controls (Refer Fig.4 – Button #2) to increase the speed to the desired level.

Using the remote control press the “+” to increase the fan speed from 1 to 8 or “–“ to decrease the fan speed until the preferred speed is achieved.

The LED light indicates the speed selected. This light will go out after c. 30 seconds.
![]()
Timer
With the fan ON – you can set the run time between 1 and 8 hours duration. On the manual controls [refer Fig.4], press the Timer button “3” once and then press the Speed/Hours button “2” to increase the hours to the desired setting.

Using the remote control, press the Timer button once and then use the “+” to increase the timer duration from 1 to 8hrs or use “–“ to decrease until the preferred duration is achieved.

The LED displays a flashing clock and an “h” beside the number during the selection process – when the desired time has selected either press the Timer button “3” again or stop pressing any buttons. The flashing will stop to confirm after 2-3 secs – displaying time selected. The display will then revert to show the speed setting plus a static clock symbol indicating the Timer is set. The display will automatically turn off after 30 secs.
If the LED display is off – you will need to press any button on the remote control or the manual controls to turn on the display, then press Timer on the remote control using “+” or “–” in the normal way, to change the time selected.
TIP: Our suggestion is to always set the Timer, even for 1 or 2 hours – so you don’t need to remember to turn off the fan if you leave the room or your house – it will turn off by itself after the set time is reached!!
![]()
Preset timer
With the fan OFF – press TIMER/PRESET button on the Remote Control or manual
controls to set the delayed start between 1 and 8 hours in the same way you set the
normal timer off function – see page 9.
The only difference is the display shows the static clock, the number of hours until the delayed start and the “h” symbol – this does not turn off until 30secs after the fan turns itself ON. The fan is then ON until manually turned OFF.

If you press the ON/OFF key while the Pre-Set timer is selected – the fan will cancel the delayed start timer and begin operating normally at the previous speed set. The display will turn off after 30secs.
![]()
Modes
On Remote Control ONLY, press the Mode button once to select Natural Breeze Mode (Speed/Airflow Variation – refer to Fig.8 on Pg11), press the Mode button a second time to select Sleep mode (Speed/Airflow Reduction – refer to Fig.9 on Pg 12) and press the Mode button a third time to turn off the mode function. In both Mode settings, there are three speeds – 1/Low 2/Medium 3/High Use the “+” or “–“ buttons to increase or decrease the speed setting. Also, use in conjunction with the Timer &/or Oscillation function for more varied cooling.
![]()
Breeze Mode
On Remote Control ONLY, press Mode button once to select Natural Breeze Mode (Speed/Airflow Variation), After pressing Mode button, use the “+” or “–“ buttons on the remote control to increase or decrease the speed setting. Use in conjunction with the timer &/or oscillation function for varied cooling.
The “tree” symbol will be lit during the selection process and turn off after 30 seconds. In Natural Breeze Mode, the fan recreates the feeling of a garden breeze rising and falling using different rhythms of High, Low & Medium-speed within the parameters of the overall speed selected 1 – 2 – 3.

3/Hi speed will cause the fan rhythms to be mostly High to Med speed with occasional lulls of Low
speed or no speed. 2/Med speed will alternate mostly between Med,
Low and Stop with occasional gusts of High speed. 1/Low speed will fluctuate between Low, Med and
stop with an intermittent, short gust of high speed.

FIG. 8: Breeze Mode – Airflow Variation Random speed/breeze (96-sec cycles) +
![]()
Sleep Mode
On the remote control ONLY, press the Mode button twice to select Sleep mode (Speed/Airflow Reduction), the “moon” symbol will be lit during the selection process, then, as for Breeze Mode, use the “+” or “–“ buttons to increase or decrease the speed setting.
In sleep mode – the fan will fluctuate in a similar manner to breeze mode – depending on the speed selected – stepping down to lower speeds over time. If High/3 speed is selected, then the fan will start in High speed for 30 mins, fluctuating in strength and speed. Then the fan speed will drop to Med speed for 30mins, again,
fluctuating within the medium speed range and then drop to Low speed. The fan will remain at Low speed indefinitely until manually powered off or the set time is reached.
When Med/2 fan speed is selected, Sleep mode will start in Med speed for 30 mins. Then it will drop
to Low speed where it will remain indefinitely unless the timer is set or the fan is manually powered off.
Select Sleep mode at Low/1 fan speed and the fan will remain at this speed fluctuating rhythmically until the unit is manually powered off or the set time is reached.
Use in conjunction with the Timer &/or Oscillation functions, as required. All lights will turn off after 30
seconds.

FIG. 9: Sleep Mode – Airflow Reduction Speed steps down every 30 minutes
Remote Operation
The fan can be operated either manually by the control panel on the fan unit itself or by the remote control supplied with the product. NB: Mode selection can only be operated via the remote control.
- Be sure to direct the remote control toward the receiver on the control panel.
- Use the remote control within 6 meters from the receiver. If the remote control is not directed towards the receiver; the effectiveness will be reduced.
- Do not place any obstacle between the receiver and remote control.
- Please treat your remote control with care. Knocking or dropping will reduce its reliability.
- Please store the remote control safety when not in use.
![]()
Mute
Whenever a command is issued to the control panel, the fan beeps. The beeps can be turned off by using the MUTE button on the remote control. This instruction will last until the fan is turned OFF. The fan will acknowledge the OFF instruction by a single beep. Turning OFF the fan will cancel the Mute function.
Replacing the Remote Control Battery (1pc x Lithium 3V CR2032)
![]()
Fig. 11
Turn over the remote control. Open the cover of battery compartment ~ squeeze lock towards centre to release
![]()
Install the battery into the battery compartment. Take care of the polarity of the battery, which is indicated inside the battery compartment.
![]()
Close the battery cover. Ensure it clicks closed. NB Please dispose of used batteries responsibly.
WARNING:
Keep Batteries Out of Reach of Children
- Swallowing may lead to serious injury in as little as 2 hours or death, due to chemical burns and potential perforation of the oesophagus.
- If you suspect your child has swallowed or inserted a button battery, immediately seek urgent medical assistance.
- Examine the devices and make sure the battery compartment is correctly secured – eg: that the screw or other mechanical fastener is tightened or locked. Do not use if the compartment is not secure.
- Dispose of button batteries immediately and safely. Flat/dead batteries can still be dangerous.
Cleaning & Care
- Unplug the appliance before cleaning.
- Do not use any chemical-based solutions for cleaning surfaces.
- Slightly moisten a cloth and then wipe off the surfaces of the fan.
- In order to remove the dust from the protective fan grille use a vacuum cleaner upholstery attachment.
- Ensure fan is completely dry before storage or reconnecting to the electrical supply.
- Never immerse the fan or fan motor in water or other liquid.
- If the fan is not used for long periods, protect it with a suitable cover after cleaning, then store it in a dry place.
- Remove the batteries from the remote control before storage.
Annual Maintenance
Cleaning the Washable Drum
- Unplug from the mains power supply.
- Unscrew the rear grille via the single screw at the top of the grille. (Keep screw-in safe place)
- Push in gently and lift upwards using the lip at the top of the grille to clear the six
lugs from the casing. - Gently ease the rear grille cover around to one side, underneath the parallel bars.
- Loosen the cross screw at the bottom at the bottom of the drum (do not fully remove the screw).
- Push upwards and pull out to remove the drum from the unit.
- Wash in warm, soapy water, rinse clean, and air dry thoroughly before replacing in the unit.
Do not reinsert the drum into the fan until it is completely dry.
- Ensure the screw recess is in line with the flattened indent on the base pole. Tighten the cross screw.
- Replace the back cover/air intake grille gently rotating it into place behind the parallel bars.
- Ensure all six lugs are in line on both sides of back grille before sliding it firmly back into place using the
lip at the top, then reinsert the top screw and tighten.

Fig.12To remove drum, undo fixing screw, lift up and pull out.
Recycling & Disposal
The packaging of your new fan has a recycle mark on it. Please dispose of it as recycled paper or by using the “Dual System”.
![]()
The symbol
on the product or on its packaging indicates that this product may not be treated as general household waste. Instead, it should be handed over to the applicable collection point for the recycling of electrical and electronic equipment.
By ensuring this product is disposed of correctly, you will help prevent potential negative consequences for the environment and human health, which could otherwise be caused by inappropriate waste handling of this product. For more detailed information about the recycling of this product, please contact your local council office, your household waste disposal service or the store where you
purchased the product.
UK Guarantee
24 months warranty valid only in respect of defects found to be due to faulty workmanship or material. Proof of purchase is required to validate the guarantee. This guarantee is no longer valid if the damage has been caused by a fall, alteration, or repair by any unauthorized persons or if the product has been resold.
This guarantee in no way affects your statutory rights.
Compliance
For your safety, this appliance complies with the applicable standards and regulations (Low Voltage Directive, Electromagnetic Compatibility, Environmental directives). We reserve the right to make technical changes without prior notice.
Tips & Troubleshooting
- If the fan is ON and the display is OFF – press the ON/OFF button (or any button) with only turning on the display. You will then need to select the function you require eg: Oscillation, change Speeds, alter the Timer, select Mode, etc.
- Pressing the “+” or “–“ buttons on the RC will only adjust the speed – you need to press the Timer button or the Mode button before using the “+” or “–“ to adjust the Timer or Mode speed level.
- Our suggestion is to always set the Timer, even for 1 or 2 hours – so you don’t need to remember to turn off the fan if you leave the room or your house – your Dual Position Midi-Tower Fan will turn off by itself after the set time is reached – saving energy and anxiety.
Safety
- Check the household voltage to ensure it matches the fan’s rated specification before use.
- Always use this device in accordance with the instructions.
- Close supervision is necessary when this fan is used near children and pets.
- Do not allow children to play with the product or product packaging, such as plastic bags.
- Repairs may only be carried out by a recognized repair center, incorrect handling, and faulty repairs may lead to danger and invalidate the warranty.
- This fan is not intended for use in wet or damp locations.
- Never position the fan in an area where it may fall into a bath or other water container.
- Do not use this fan if it has any damaged parts or it has fallen into the water. Return the product to
a recognized repair center for examination and repair. - Do not insert any object into the grille whilst the fan is operating. It may cause damage to persons
or property. - Always turn off the power supply before unplugging the product to move, store or clean it.
- Always use both hands to carry this product. Do not lift by the carry handle alone – please support
the fan base. - Do not operate the fan near an open flame, cooking or heating appliance or hot surface
- Always place your fan on a firm, dry, level surface, away from curtains & blinds.
- This fan is intended for indoor, domestic & light commercial use only and is not to be operated outside.
- Do not hang anything from the fan grille.
- Disconnect the unit from the electrical outlet before cleaning.
- To disconnect from the power supply, grip the plug and pull from the power socket. Never pull by the
cord. - Arrange the power cord away from an area where it may be tripped over.
- Never place the power cord under a carpet or rug.
- Do not direct the fan towards babies or the elderly for extended periods.
- If the power cord is damaged, it must be replaced by the manufacturer, its service agent, or similarly
qualified persons in order to avoid a hazard. - Do not operate if the fan grille is removed or damaged.
- This appliance is not intended for use by persons (including children) with reduced physical, sensory or mental capabilities, or lack of experience and knowledge unless they have been given supervision or instruction concerning the use of the appliance by a person responsible for their safety. Children should be supervised to ensure that they do not play with the appliance.
Technical Data
| Model No: | MTFDC-84RC |
| EAN No: | 5 060301 912124 |
| Rated Power: | 18W |
| Voltage: | 220-240V ~ 50Hz |
| Ref: | IM/MTFDC84/2102/GU86AA |
| Product Dims: | 540 x 151 x 140 mm (H*W*D) N.W. 2.38kg G.W. 3.11kg |
![]()




















