TAOTRONICS TT-TF001 Tower Fan

Thanks for choosing TaoTronics Tower Fan. Please read this User Manual thoroughly before use and retain it for future reference.
IMPORTANT SAFETY INSTRUCTIONS
BEFORE USING THIS APPLIANCE READ ALL INSTRUCTIONS AND CAUTIONARY MARKINGS IN YOUR USER MANUAL AND ON THE APPLIANCE
When using an electrical appliance, basic precautions should always be followed, including the following:
DANGER!
- DO NOT touch or hold the mains plug with wet hands.
- DO NOT block or cover air flow to or from the Fan while in operation.
- DO NOT insert fingers or objects through the grille while in operation.
INTENDED USE
- This appliance is not intended for use by persons (including children) with reduced physical, sensory or mental capabilities, or lack of experience and knowledge, unless they have been given supervision or instruction concerning the use ofthe appliance by person responsible for their safety.
- Close supervision is necessary when any appliance is used by or near children. Children should be supervised to ensure that they do not play with the appliance. Cleaning and user maintenance shall not be done by children unless they are older than 8 and supervised.|
- Use the appliance only for intended household purposes as described in this User Manual. Any other use is not recommended that may cause fire, electric shock, or injury to persons.
ELECTRICITY SAFETY
- This appliance must be provided with the correct voltage via a professionally installed power socket. Make sure the voltage indicated on the label of the appliance is the same as your local supply.
- DO NOT operate the fan with a damaged cord or plug or if the product malfunctions, is dropped or damaged in any manner.
- To reduce the risk of fire or electric shock, DO NOT use this fan with any solid-state speed control device.
- IMPORTANT – This appliance has a polarized plug (one blade is wider than the other). To reduce the risk of electric shock, this plug is intended to fit in a polarized outlet only one way. If the plug does not fit fully in the outlet, reverse the plug. If it still does not fit, contact a qualified electrician. Do not attempt to rig this safety feature.
- This product employs overload protection (fuse). A blown fuse indicates an overload or short-circuit situation. If the fuse blows, unplug the product from the outlet. Replace the fuse according to the instructions in this manual (follow product marking for proper fuse rating) and check the product. If the replacement fuse blows, a short-circuit may be present and the product should be discarded or returned to an authorized service facility for examination and/
or repair.
- Avoid contacting moving parts. Wait until all parts have completely stopped before touching them.
- DO NOT use in a bathroom.
- DO NOT place any clothes or curtains on the product as they could be sucked into the fan during operation and damage the product.
- During use, keep hands, hair, clothing and utensils away from the safety guard to avoid injuries and damage of the product.
- DO NOT attempt to disassemble, repair, modify or replace any part any part of your product. All servicing should be performed by qualified personnel only.
- Always make sure to place the Fan on a flat, level surface before operation.
- Keep the cord out of heavy traffic areas and where it will not be tripped over. To avoid fire hazard, NEVER route cord under furniture or appliances.
- Always unplug the appliance before cleaning, making any repairs or servicing, or whenever not in use.
- It is normal that there is noise during operation. If too loud, please set the fan to lower speed.
FOR HOUSEHOLD USE ONLY READ AND SAVE THESE INSTRUCTIONS
Fused Safety Plug – For US Only
This fan features a fused safety plug which is designed to cut off electric current to the fan if an electrical fault occurs. Please see below for more information on how to properly use your fan and replace the safety plug fuse, if needed.
User Servicing Instructions
- If your fan loses power and you suspect that the fuse on your fan has blown, grasp plug and remove from the receptacle or other outlet device. Do not unplug by pulling on cord.
- Slide fuse cover, located on the top of the plug, towards the prongs of the plug.

- Carefully remove the blown fuse and snap a new fuse into place. Fully close the fuse door by sliding back into place. Discard the blown fuse. The plug should now be ready for normal use.

- To Reduce the Risk of Fire, do not replace the attached plug. Contains a safety device (fuse) that should not be removed. Discard product if the attached plug is damaged.
- If you need further information on how or when to replace the fuse in the safety plug, please contact Customer Service for support.
Package Contents
- 1 x Tao Tronics Tower Fan Body (TT-TF001)
- 1 x Front Fan Base
- 1 x Rear Fan Base
- 3 x Thumb Screws
- 1 x Remote Control
- 1 x CR2032 Type Lithium Battery (Installed in the Remote Control)
- 1 x User Manual
- 1 x Thank You Card
Product Diagram
Assembly Instructions
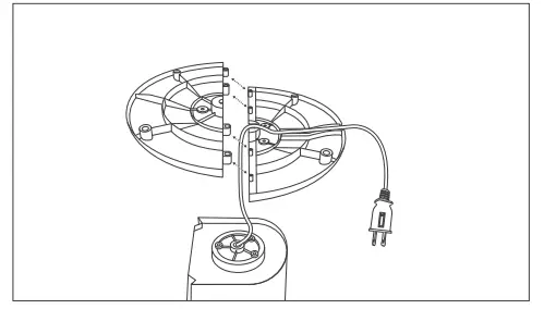
- Unscrew the 3 thumb screws (attached to the body bottom) first before assembly.

- Run the power cord through the central gap between the two halves of the unassembled fan base.

- Connect the front and rear base parts by pushing the plastic pegs on one half into the corresponding slots on the other half.

- Align the 3 screw holes on the fan base and the body. Secure the assembled base to the fan body by inserting the 3 provided thumb screws in the screw holes and well screwing them.

- Place the power cord into the cord guides along the inside of fan base, exit through the notched opening, to ensure a flat and stable base for the fan.

Important: Do not plug in the power cord before the base is correctly assembled with the 3 thumb screws.
Control Panel
Remote Control
LED Display
LED Display Symbols
Specifications
Battery Replacement
- Remove the battery holder by pressing the locking tab A with your thumb and pulling it out as per arrow B.
- Replace the battery with the same type (CR2032 Type Lithium Battery), making sure the (+)side facing up.
- Gently push in the holder until securely locked into place.

A WARNING:
Chemical Burn Hazard. Keep batteries away from children. This product contains a lithium button/coin cell battery. If a new or used lithium button/coin cell battery is swallowed or enters the body, it can cause severe internal burns and can lead to death in as little as 2 hours. Always completely secure the battery compartment. If the battery compartment does not close securely, stop using the product, remove the batteries, and keep it away from children. If you think batteries might have been swallowed or placed inside any part of the body, seek immediate medical attention. The cells shall be disposed of properly, including keeping them away from children. Even used cells may cause injury.
Cleaning and Maintenance
- Be sure to disconnect the appliance from the mains by switching it off and removing the plug from the power outlet before cleaning.
- Use only a soft cloth to gently wipe the outer surfaces of the fan clean.
- To clean between the grills, we recommend using a pipe cleaner, flexible dust wand, vacuum cleaner or compressed air to gently remove the dust.
- DO NOT immerse the fan in water and never allow water to drip into the motor housing.
- DO NOT use gasoline, paint thinner or other chemicals to clean the fan.
- For storage, you may leave the fan assembled and covered to protect it from dust. Store the fan in a cool, dry place.
Warranty and Service
This product is covered with Tao Tronics product and labor warranty for 12 months from the date of its original purchase. If any problems occur, please contact the TaoTronics Customer Care Centre via the contact information listed in this User Manual. We can only provide after sales service for products that are sold by Tao Tronics or Tao Tronics authorized retailers and distributors. If you have purchased your unit from a different place, please contact your seller for return and warranty issues.



































