brondell Rinslet Hand-held Bidet Instruction Manual
Parts Included
- Bidet Sprayer Head
- T-Valve with Flat Rubber Washer
- Metal Spiral Bidet Hose
- Sprayer Holster with Mounting Screws
NOTE: Installation videos are available at brondell.com or on our YouTube channel.
Before Installation
CHECK THE WATER SUPPLY LINE. If the line that connects the toilet tank to the water shutoff valve is a rigid pipe, you will need to purchase a flexible hose to replace the pipe before installing the Rinslet Hand-Held Bidet. The length of the hose and size of the connectors will vary.
Installation
- Turn off the water supply valve for the toilet (at the wall), and flush the toilet. Hold down the handle to completely empty the tank.

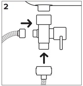
- Disconnect the flexible water supply line directly under the toilet tank. Put the flat rubber washer inside the top of the T-valve. Connect the T-valve at the toilet tank, and reconnect the flexible water supply line to the bottom of the T-valve. Be sure not to overtighten the connections.

- Attach one end of the bidet hose to the open end of the T-valve and the other end to the bidet sprayer head.

- Mount the sprayer holster:
- Toilet Mount – Attach the holster mount to the toilet tank clip using
the small screws provided. Hang the sprayer holster on the side of
the toilet tank in the desired location. - Wall Mount – Using only the holster mount, find an appropriate spot
on the wall near the toilet and use the provided drywall screws and
anchors to attach the sprayer holster to the wall.
- Toilet Mount – Attach the holster mount to the toilet tank clip using
- Turn the water supply valve back on at the wall, and check for leaks (use plumber’s tape when necessary). Wait 5 minutes and check again. If there are no leaks, then you are done!
Operation
- Open the T-valve to allow water flow to the bidet sprayer.
- Aim the bidet sprayer. Press the trigger to start a wash. For a
continuous spray, press the bottom of the trigger and slide up to
lock into place. To release, press the top of the trigger down. - Close the T-valve to turn the water off when finished.
WARNING: After each use, you must turn the T-valve off to stop the water supply to the bidet hose and sprayer. All hand-held sprayers and hoses have seals and parts that can leak from rough handling, misuse, dropping the sprayer, or daily wear and tear. TO AVOID WATER DAMAGE TO YOUR HOME OR PROPERTY, NEVER LEAVE THE HOSE AND SPRAYER UNDER PRESSURE WHEN NOT USING THE PRODUCT.
WARNING
TURN T-VALVE OFF AFTER EACH USE!
Failure to turn off after each use may cause flooding and water damage





















